Vintage: Tout-Terrain 1/10° électrique Pro-Cision / Nikko Big Thunder 4900 (1979)

Edité le 14/11/2025.
Réactualisé le 14/11/2025.
Crédits photos: R.Bruhin.
Texte: Stingray.

En premier lieu, je tiens à remercier chaleureusement Monsieur R. Bruhin, créditeur des photos suivantes (sauf mentions)!

Introduction.

Si beaucoup d'entre nous ont débuté notre hobby par des autos radiocommandées à mi-chemin entre le monde du jouet et celui du modèle réduit, nous avons tendance à malheureusement sous-estimer leur importance et leur intérêt techniques et historiques. De plus, ces deux mondes sont interdépendants et la frontière entre les deux est si mouvante qu'au final, elle parait quelque peu arbitraire pour ne pas dire absurde. Il y a en effet beaucoup de choses intéressantes à raconter sur ces autos!

Historique.

Pro-Cision Products était une marque américaine de jouets radiocommandés active entre les années 1977 et début 1985 selon les informations disponibles. Basée à Los Angeles, en Californie, Pro-Cision Products ne fabriquait pas directement ses propres produits, mais servait d'importateur et de distributeur pour des modèles produits au Japon qu'elle commercialisait sous son propre nom et packaging.

La marque était notamment étroitement liée au fabricant japonais Daishin Kogyo (parfois également écrit "GA-Daishin" ou "GA-ダイシン ), une entreprise de jouets basée à Asakusa, Tokyo, au Japon et fondée dans les années 1950. On espère pouvoir revenir sur ce fabriquant japonais dans un prochain article consacré à une auto également de marque Pro-Cision, mais complètement différente et très surprenante.

Par contre, pour certains modèles, comme par exemple celui présenté dans le présent article, Pro-Cision collaborait également avec Nikko R/C (ニッコー), qui fabriquait également ses modèles au Japon à cette époque. Nikko est une société japonaise fondée en février 1958 par Takeshi Hattori (服部 健 を) et fabriquait initialement des moules puis commença dès avril 1965 la fabrication de jouets radiocommandés pour devenir en 1978 le leader mondial du secteur du jouet radiocommandé.

Présentation du Pro-Cision Big Thunder 4900.

En photo ci-contre, une publicité pour Pro-Cision Big Thunder 4900 (d'origine inconnue, mais probablement extraite d'un numéro de l'année 1980 de la revue américaine RC Modeler, car Pro-cision publiait régulièrement des annonces dans celle-ci, dont des nombreux numéros sont consultables sur le site RCBookcase), dont le texte est le suivant:

"The go-anywhere Special!!

Name your terrain and this beauty eats it up! It's Big Thunder—Pro-Cision's off-road special—15 inches of radio-controlled dynamite!
Big Thunder will climb a hill like a mountain goat, take off over smooth surfaces like a jack-rabbit and ride the rough like it's on rails!
That's because Pro-Cision's Big Thunder has features never before found in a radio-controlled vehicle. Its powerful motor drives a unique transmission with three gears. You shift to the gear you want. Low for hill climbing, Medium for rough going and High for smooth surfaces.
But that's for openers! Big Thunder also has an exclusive suspension system—the most advanced to date—plus four big fat semi-pneumatic tires. This combination works together like you wouldn't believe to smooth out even the roughest terrain!
This baby is pure fun to drive. And its dual stick transmitter gives you exacting control of both speed and steering in forward or reverse.
Get full information on the Pro-Cision radio-controlled line—the most complete line in the industry. You'll see why Pro-Cision is the leader.

EXCELLENCE IN RADIO CONTROL"

Ce qui donne à peu près en français:

"Le Va-ParTout-Terrain spécial!

Nommez votre terrain et cette merveille le dévore ! C'est le Big Thunder - le tout-terrain spécial de Pro-Cision - 15 pouces (soit 38.1mm) de dynamite radiocommandée!
Le Big Thunder grimpe une colline comme une chèvre des montagnes Rocheuses, bondit sur les surfaces lisses comme un lièvre de Californie et roule sur le terrain accidenté comme sur des rails!
C'est parce que le Big Thunder de Pro-Cision possède des caractéristiques jamais auparavant trouvées dans un véhicule radiocommandé. Son moteur puissant entraîne une transmission unique avec trois vitesses. Vous passez à la vitesse que vous voulez. Basse pour la montée en côte, Moyenne pour les terrains accidentés et Haute pour les surfaces lisses.
Mais ce n'est que le début! Le Big Thunder possède aussi un système de suspension exclusif - le plus avancé à ce jour - plus quatre gros pneus semi-pneumatiques. Cette combinaison fonctionne ensemble de manière incroyable pour lisser même le terrain le plus accidenté!
Ce bébé est pur plaisir à conduire. Et son transmetteur à deux manches vous donne un contrôle précis de la vitesse et de la direction en avant ou en arrière.
Obtenez les informations complètes sur la gamme radiocommandée Pro-Cision - la gamme la plus complète de l'industrie. Vous verrez pourquoi Pro-Cision est le leader.

L'EXCELLENCE DANS LA RADIOCOMMANDE".

Le packaging du Pro-Cision Big Thunder 4900 est particulièrement soigné, avec moultes photos et précisions sur les qualités techniques de l'engin.

On peut ainsi lire les informations suivantes sur les deux côtés de la boite:

Soit en français:

  • three gears-each for a different terrain
  • variable speed, forward reverse & stop
  • fully proportional steering
  • working suspension and semi-pneumatic tires
  • completely assembled with heavy-duty chassis
  • dual stick transmitter with trim adjustments
  • stops automatically beyond transmitter range
  • built-in receptacle for charging ni-cad batteries using optional overnight charger
  • battery powered. vehicle uses 4 alkaline or ni-cad rechargeable batteries and 4 AA penlite batteries [not included) transmitter uses 6 AA penlite batteries not included
  • frequency 27 mHz
  • trois vitesses – chacune pour un terrain différent
  • vitesse variable, marche avant, marche arrière et arrêt
  • direction entièrement proportionnelle
  • suspension fonctionnelle et pneus semi-pneumatiques
  • entièrement assemblé avec châssis robuste
  • émetteur à deux manches avec réglages de trim
  • arrêt automatique au-delà de la portée de l’émetteur
  • prise intégrée pour la recharge des batteries Ni-Cd à l’aide d’un chargeur nocturne
  • fonctionne sur batteries : le véhicule utilise 4 piles alcalines ou batteries rechargeables Ni-Cd et 4 piles AA (non incluses) l’émetteur utilise 6 piles AA (non incluses)
  • fréquence 27 MHz

Le Pro-Cision Big Thunder 4900 est un buggy 1/10° électrique d'environ 410mm de long (soit un peu plus que 15 pouces annoncées dans la publicité ci-dessus) pour 192mm de large fabriqué par Nikko, qui l'a également commercialisé sous sa propre marque dans plusieurs pays sous le nom "Big Thunder G3". Selon plusieurs sources, il a été lancé en 1980, mais selon d'autres, il l'aurait été dès 1979.

Sur le dessous du châssis baignoire injecté en plastique noir du Pro-Cision Big Thunder 4900, on lit distinctement le nom "Big Thunder G3", la mention "off-road special", le logo portant le nom de "Nikko" surmontant un "Made in Japan".

Comme beaucoup d'autres modèles tous-terrains radiocommandés de cette époque, jouets et modèles réduits, sa carrosserie s'inspire du célèbre Dune Buggy Meyers Manx.

Ce type de carrosserie était très populaire à l'époque puisqu'on pouvait la retrouver sur de nombreux modèles comme par exemple sur:

  • le Ishimasa Rat II Buggy 1/8° thermique (1972);
  • le Kyosho Dash III Dune Buggy 1/8° thermique (1972);
  • le Micro-Racing Buggy 1/8° thermique;
  • le Kyosho Eleck Peanuts 1/10° électrique (1978);
  • le Kyosho Circuit Buggy 1/8° thermique;
  • le Futaba Safari Buggy GTX 1/8° thermique;
  • Les Svenson Gazelle GX ou Multiplex Kangaroo GX ou Kangaroo Spital 1/8° thermique;
  • les Epoch Digica RC Stunt Buggy BSS (1978) et Super-Z (1980) 1/10° électrique , ces derniers ressemblant étonnament aux Pro-Cision Big Thunder 4900 et Nikko Big Thunder G3, mais avec une conception technique très différente, utilisant par exemple soit un seul moteur format 380 avec une boite à deux vitesse, soit deux moteurs pour la propulsion des roues arrière associés à une transmission à une seul vitesse et un différentiel;
  • les Epoch's Digica RC Scramble Buggy 1/16° électrique;
  • le Leisure Products Grandstand Dune Buggy 1/10° électrique, basé sur les Epoch Digica;
  • le Tayo Asahi Racing Buggy 1/16° électrique, distribué entre autres par Dickie;
  • le Yonezawa Wavehunter Wild Buggy 1/16° électrique;
  • le Buggy Yankee 1/8° thermique (1978);
  • le Buggy DFR 1/8° thermique (1980);
  • le Tamiya Sand Rover 58024 1/10° électrique (1981);
  • le Tyglon Toys Boom Tiger / Haptron1/10° électrique (1983?);
  • le Micro-Racing Buggy Fun 1/8° thermique ou 1/8° électrique (1988);

Et il manque certainement plein!

Il existe un autre modèle 1/10° électrique différent du Big Thunder 4900 /G3 comportant une carrosserie très similaire (moins détaillée toutefois, par exemple au niveau des phares) en jaune, mais aussi en rouge, mais beaucoup plus simple techniquement qui a été vendu par Nikko sous le nom "Road Star G2", par EuroPlay sous le nom "Sand Buggy" et par Tandy Electronics et Radio Shack sous le nom "Dune Buggy" vers 1981 (source: R/C Toys Memories.com). Comme déjà écrit précédemment, le Big Thunder 4900 ou G3 était fabriqué au Japon selon les inscriptions sous le châssis, tandis que celui du Road Star G2 était estampillé "Made in Singapore", tout comme l'émetteur de la radiocommande (proportionnelle) qui l'accompagnait.
L'émetteur de la radiocommande du Road Star G2 semblait visuellement identique à celui du Big Thunder 4900 /G3, mais l'électronique à l'intérieur est peut-être différente.
Le Road Star G2 était annoncé comme ayant deux vitesses, mais le choix d'une de ces vitesses se faisait par un simple interrupteur électrique. De plus, il ne comportait qu'une seule roue motrice à l'arrière! On est donc bien loin de la complexe boite de vitesse mécanique à trois rapports du Big Thunder 4900 /G3!
Pour l'anecdote, cette carrosserie a également été déclinée au 1/16° par Nikko sous les noms "Mini Thunder Buggy", "Mini Thunder Bicky" et "Mini Thunder" (source: Tamiya Club , R/C Mag Vintage et R/C Toys Memories.com).

Pour revenir au Pro-Cision Big Thunder 4900, la carrosserie se veut détaillée relativement aux standards de l'époque. Elle comprend ainsi des autocollants de décoration, un arceau et un encadrement de pare-brise métalliques, des phares avant en deux parties et des éléments rapportés chromés pour les phares avant et arrière ainsi que pour ce qui semble être une poignée de malle arrière. L'habitacle, tout de plastique noir, comporte néanmoins un volant détaillé.

A noter que le pare-choc est moulé en plastique noir, alors que sur la publicité ci-dessus, il est en tube métallique plié à l'instar de l'arceau et de l'encadrement de pare-brise. Les autocollants sont également différents entre le modèle en photos ci-dessous et cette publicité.

L'auto est équipée de pneus semi-pneumatiques de taille généreuse montés sur des jantes grises à bâtons. Ils seront utiles, car cette auto ne comporte pas de suspension à l'arrière, mais comporte par contre une suspension avant individuelle à bras tirés à ressorts hélicoïdaux.

Le système de télécommande est en 27MHz, mais ne comporte pas de quartz interchangeable. Le récepteur et le servo de direction ne sont pas des éléments distincts interchangeable, mais leurs électroniques sont intégrés à même le châssis comme illustré sur l'emballage. Le variateur de vitesse est de type mécanique. Etrangement, et ce malgré la suspension avant à bras tirés, la tringlerie de direction est montée devant les axes des roues avant.

Mais la grande originalité du modèle Pro-Cision Big Thunder 4900 en photo ci-dessus est qu'il comporte une boite à trois vitesses offrant des rapports de transmission différents. Cette dernière est commandée un sélecteur manuel à trois positions, "HIGH: HIGH SPEED", "MED: ROAD ROUGH" et "LOW: HILL CLIMB".

Comme une inspection photographique de l'intérieur de cette boite de vitesse n'est plus possible, le fonctionnement exacte de celle-ci m'est inconnue. Mais heureux hasard, au sein de la liste de documents présents dans l'article intitulé "De la protection intellectuelle dans le modélisme automobile radiocommandé, les brevets", il existe un modèle d'utilité japonais portant la référence JPS5540805U déposé le 08 septembre 1978 portant sobrement le titre de "Voiture radiocommandée" qui divulgue un tout-terrain électrique avec une carrosserie de type Dune Buggy très similaire à celle de l'auto qui fait l'objet de cet article et qui comporte une boite à trois vitesses avec un sélecteur manuel à trois positions! Toutefois, le déposant de document est un particulier et ce document ne porte pas le nom de la société Nikko, donc le lien n'est pas vérifié et établi à 100%. Mais il existe de nombreux liens concordants.

Pour rappel, un modèle d'utilité est un titre de propriété intellectuelle qui, tout comme les brevets, est destiné à protéger les inventions mais dont les démarches sont simplifiées, les exigences et le coût moindres, avec toutefois une durée de protection plus courte entrre autres.

Par contre, l'architecture de la suspension du train avant divulguée dans ce document semble quelque peu différente, et surtout l'angle des bras tirés de la suspension du train arrière peut être modifier afin de régler la hauteur de la garde au sol et donc d'augmenter ou réduire la capacité de franchissement de l'auto.

Si ce document JPS5540805U est réellement la source d'inspiration qui a été utilisée par la société Nikko, alors cette dernière n'a pas retenue la possibilité de modifier la géométrie des suspensions avant et arrière.

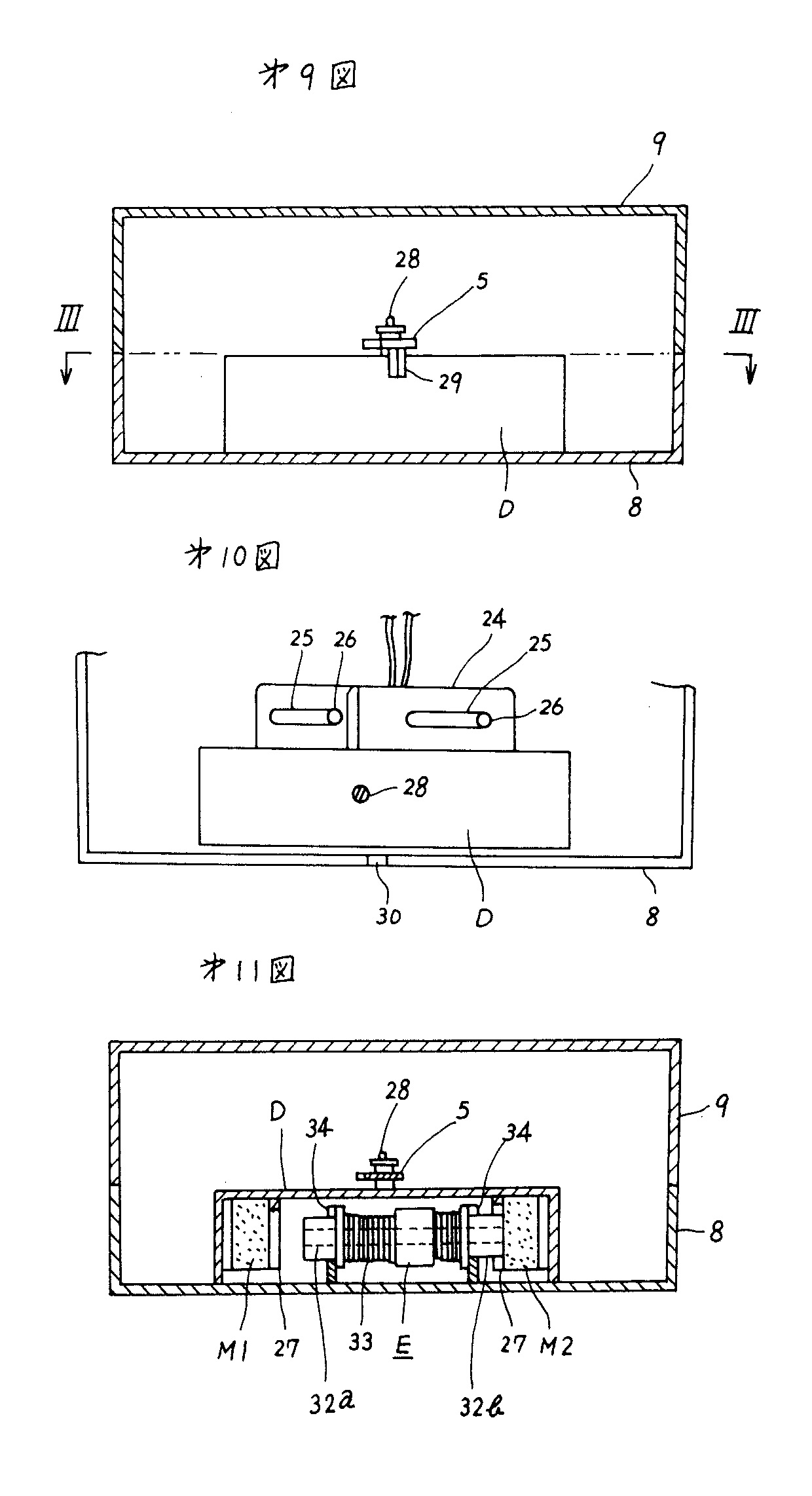
Les figures ci-dessus extraites du document JPS5540805U illustrent très bien le fonctionnement de ladite boite de vitesse.

L'objet de ce document est de proposer une voiture radiocommandée susceptible d'être modifiée facilement pour passer d'une configuration tout-terrain à une configuration piste de de vitesse en permettant simultanément en une seule action de changer le rapport de vitesse et d'ajuster la hauteur du véhicule.

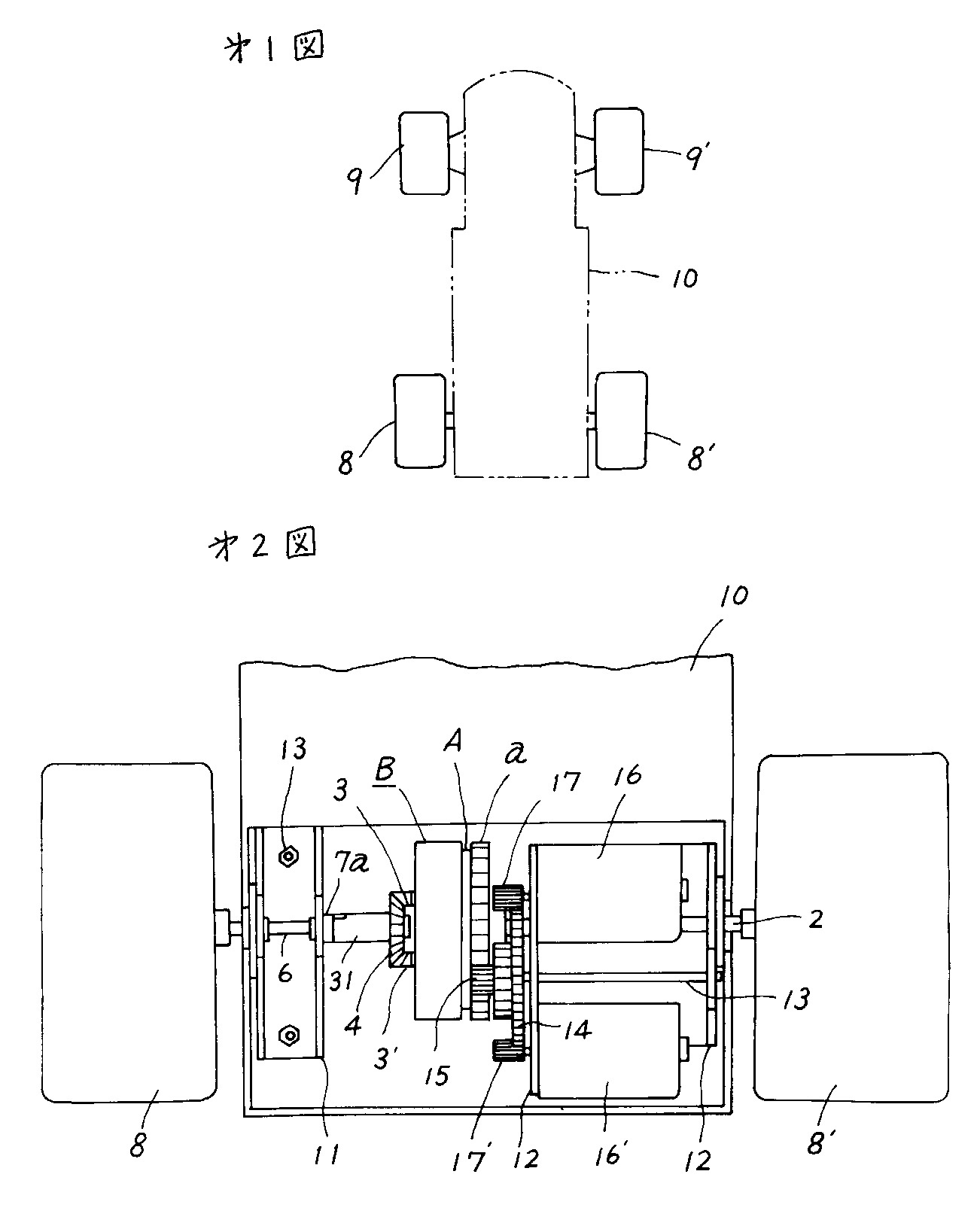
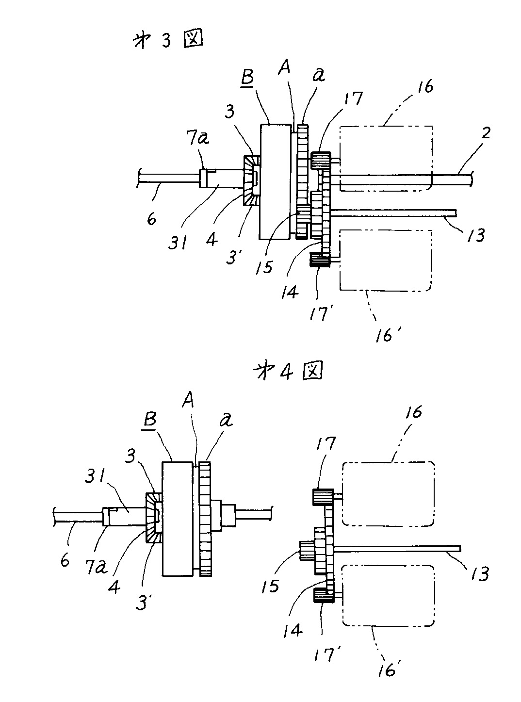
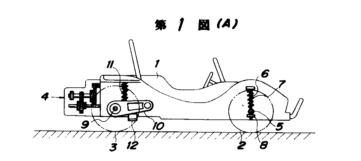
Dans les différentes figures, le signe de référence 1 désigne le châssis de l'automobile, à l'avant et à l'arrière duquel sont respectivement montées des roues avant 2 et des roues arrière 3. À l'arrière de la roue arrière 3 est montée un mécanisme de transmission à rapport modifiable 4.

Les roues avant 2 sont montées sur des axes de roue 5 portés par des porte-fusées pivotant chacun autour d'une cheville de direction 6 verticale dont les extrémités supérieure et inférieure sont fixées au châssis 1. Les roues avant 2 peuvent se déplacer librement de haut en bas le long de cette cheville de direction 6. Entre l'extrémité supérieure de la cheville de direction 6 et l'axe avant 5 est disposé un ressort hélicoïdal 7, entourant ladite cheville de direction 6. Entre l'extrémité inférieure de la cheville de direction 6 comportant un filetage et le porte-fusée est disposé un écrou de réglage 8 servant pour le réglage de la butée haute.
On est donc en présence d'une suspension de type "king-pin" avec réglage de butée haute, et non à bras tirés comme sur le Big Thunder.

Les roues arrière 3 sont montées fixes chacune sur une fusée arrière d'entraînement 9 porté par un bras tiré 10 suspendu par un ressort 11. Le débattement des bras tirés arrière 10 peut être limité par un plaque allongée amovible qui peut être fixée ou non au châssis pour limiter la garde au sol.
Comme écrit précédemment, le train arrière du Big Thunder ne comporte pas de réelle suspension.

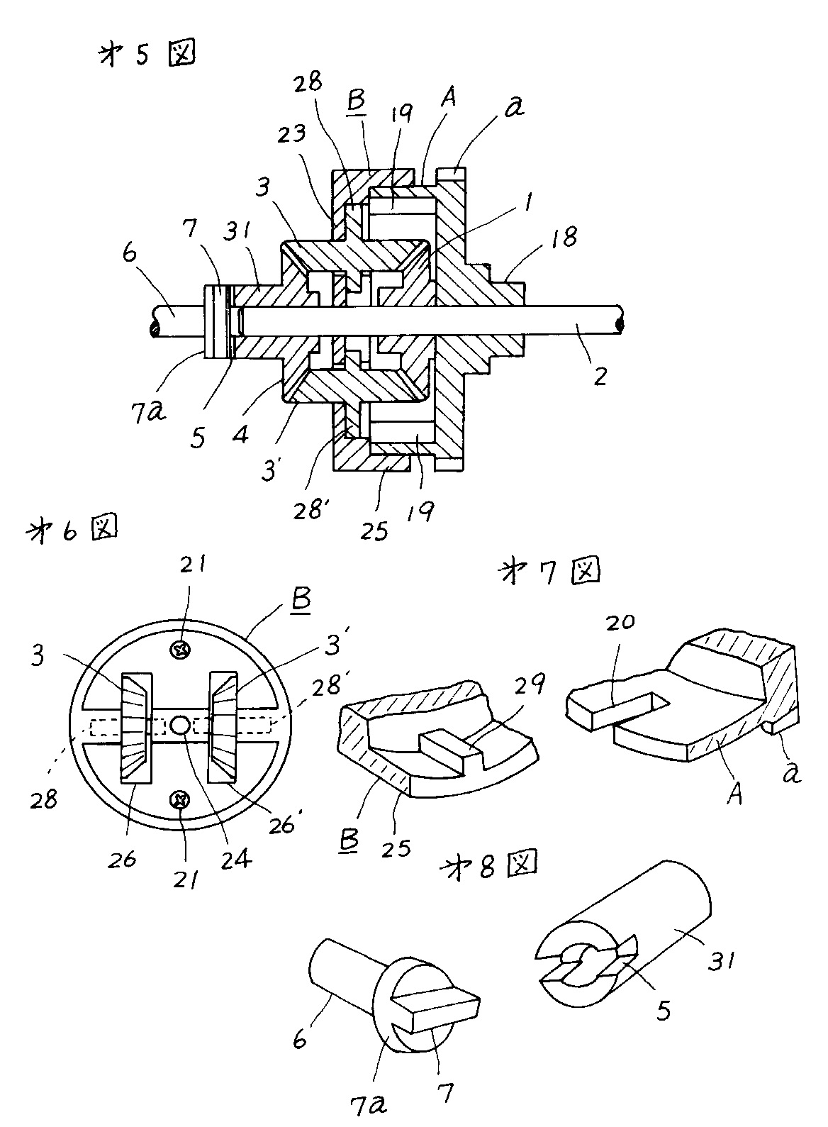
Le mécanisme de transmission à rapport modifiable 4 est logé dans un boîtier en plastique transparent 4a (le Big Thunder comporte effectivement un capot transparent), monté à l'extrémité arrière du châssis 1. Un moteur 13 porte un pignon moteur 14 qui engrène avec une roue dentée de réduction 16 fixé à un arbre de transmission 15 pivoté à ses deux extrémités dans des parois du boîtier 4a.

Sur cet arbre de transmission 15 sont fixés, outre la roue dentée de réduction 16, une petite roue dentée 17, une roue dentée moyenne 18 et une grande roue dentée 19, toutes de diamètres différents et espacées par des intervalles prédéterminés.

Parallèlement à l'arbre de transmission 15, un arbre 20 ayant une section hexagonale est prévu. Sur cet arbre à section hexagonale 20 est monté un ensemble mobile en translation le long dudit arbre, ledit ensemble comportant trois roues dentées mobiles 21, 22 et 23 solidaires entre elles et solidaires en rotation seulement dudit arbre à section hexagonale 20.
Les trois roues dentées mobiles 21, 22 et 23 sont chacune de diamètre différent, de sorte à pouvoir s'engrener respectivement avec la petite roue dentée 17, la roue dentée moyenne 18 et la grande roue dentée 19.

Ledit ensemble mobile comporte également une bague rainurée 24. Cette bague rainurée 24 collabore avec une fourchette de liaison 25a que comporte un élément de verrouillage 25 formé par une plaque pliée en un matériau élastique. Ledit élément de verrouillage 25 comporte également des pièces de commande 25b qui portent des boutons de commande 26. Ces boutons de commande 26 comportent sous leur partie inférieure des formes de verrouillage 26a. Une des parois latérales du boîtier 4a comporte une rainure de guidage 27 conformée de sorte que les boutons de commande 26 fassent saillie vers l'extérieur du boîtier 4a.
Cette rainure de guidage 27 est parallèle à l'arbre à section hexagonale 20 et comporte à intervalles réguliers sur partie inférieure trois encoches de verrouillage 27a, ces encoches de verrouillage 27a étant destinées à collaborer avec les formes de verrouillage 26a.

Un couvercle 28 faisant office de bouton de commande et portant les indications relatives au rapport de transmission choisi est fixé depuis l'extérieur du boîtier 4a au-dessus de la rainure de guidage 27. Ce couvercle 28 comporte des crochets de liaison 28a, 28a destinés à s'ancrer dans les bords formant les extrémités de la rainure de guidage 27.

L'arbre à section hexagonale 20 sortant du boîtier 4a porte une petite roue conique 29 qui s'engrène avec une grande roue conique 31 portée par un arbre 30 qui transmet le mouvement de rotation aux roues arrière.

Le document JPS5540805U donne également des valeurs de rapport de transmission: quand l'engrenage mobile 21 et la roue dentée 17 s'engrènent, le rapport est de 19,4:1; quand l'engrenage mobile 22 et la roue dentée moyenne 18 s'engrènent, le rapport est de 13,3:1; quand l'engrenage mobile 23 et la grande roue dentée 19 s'engrènent, le rapport est de 7,7:1.

La concurrence.

Un peu plus haut dans ce texte étaient évoqués les Buggies 1/10° électriques Stunt Buggy BSS et Super-Z Buggy de la marque Epoch Digica RC sortis, selon les informations disponibles, respectivement en 1978 et 1980 qui ressemblaient étrangement au Nikko Big Thunder G3, et qui étaient également disponibles avec des carrosseries de couleurs rouge et jaune. Toutefois, les choix techniques faits par Epoch étaient relativement différents de ceux de Nikko, et peuvent être mis en parallèles également avec deux autres documents de propriété intellectuelle (avec la prudence habituelle naturellement).

Un premier document, le modèle d'utilité japonais portant la référence JPS5551286U au nom de la société Epoch Co., Ltd., déposé le 2 février 1978 et ayant pour titre "Dispositif de différentiel pour la conduite des roues d'une voiture jouet", est très probablement celui qui a inspiré le Epoch Digica RC Stunt Buggy BSS à deux moteurs. Cependant, l'objet de ce document n'est pas centré sur l'emploi de deux moteurs, mais plus sur la construction même d'un différentiel.

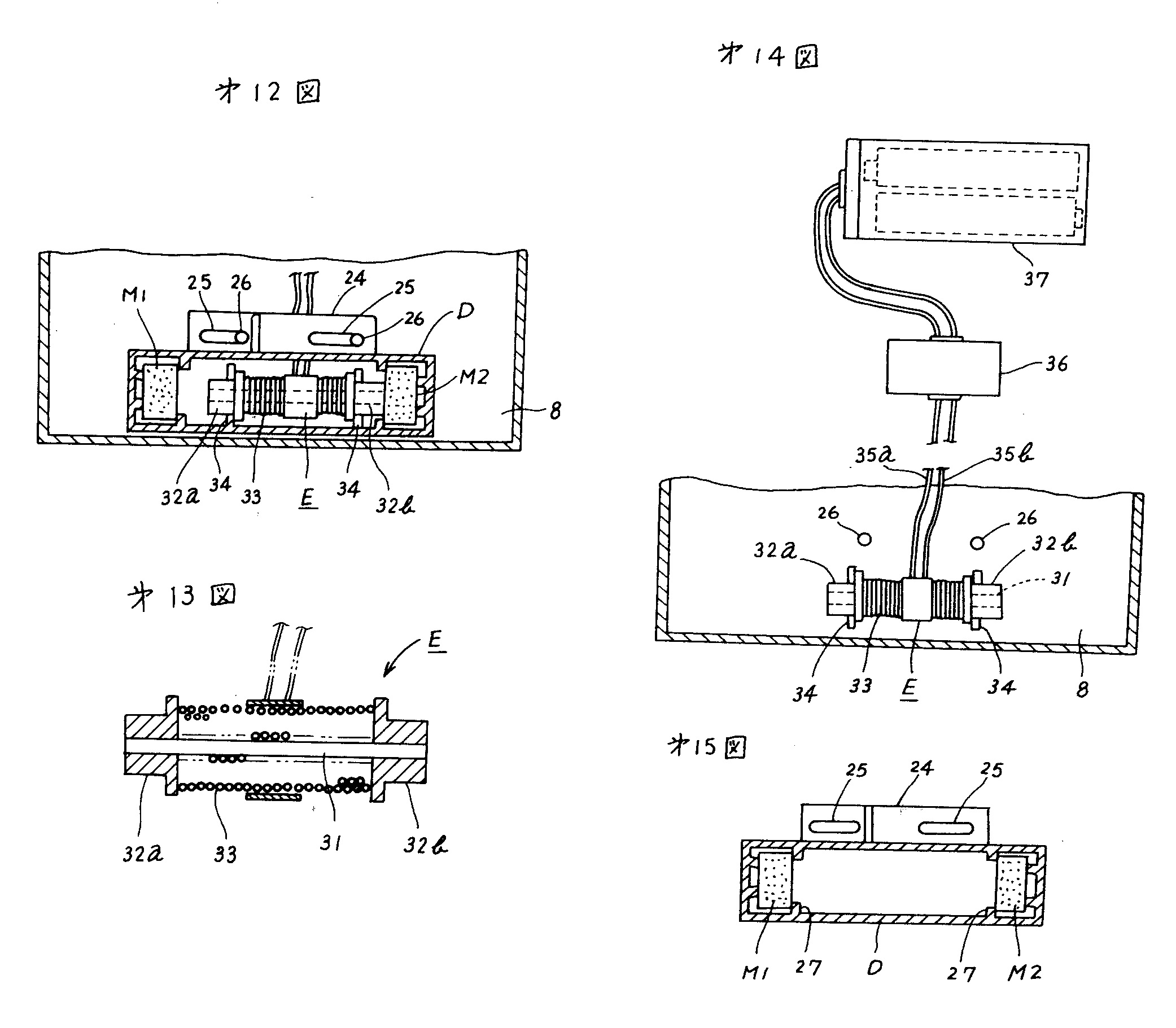
Le second document, la demande de brevet japonaise portant la référence JPS5727313A au nom de la société Epoch Co., Ltd., déposé le 23 juillet 1980 et ayant pour titre "Dispositif de commutation à distance haute vitesse/basse vitesse pour automobile radiocommandée", semble se rapporter au Super-Z Buggy.
Ce document divulgue une commande depuis l'émetteur de la radiocommande d'une boîte de vitesse à deux rapports, qui semble sonner comme une réponse la proposition technique qu'était la boite à trois vitesses à sélection manuelle de la Big Thunder G3 proposé antérieurement.

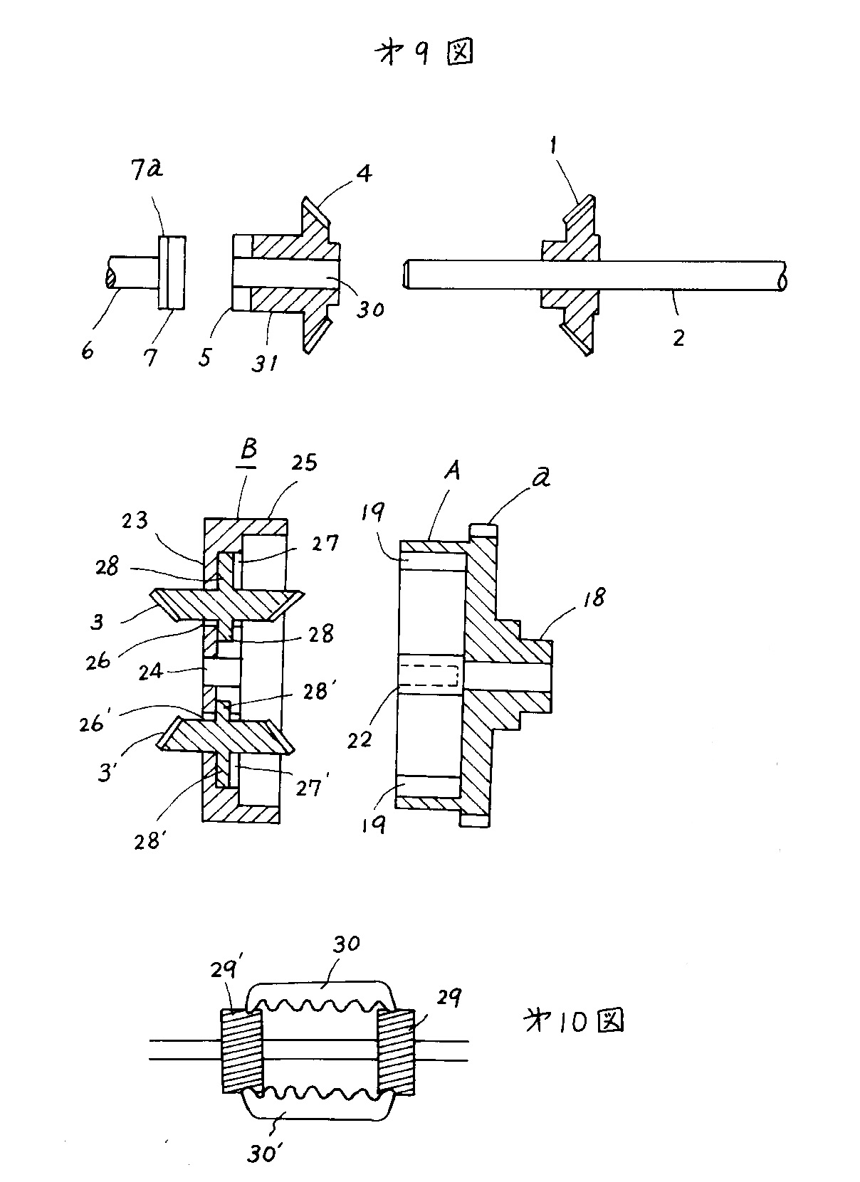
Les figures ci-dessous extraites du document JPS5727313A méritent quelques éclaircissements.

Un moteur électrique M porte un pignon moteur 13 qui engrène avec une couronne 15 montée fixe sur un arbre intermédiaire 14 sur lequel sont également monté fixe un petit pignon d'entraînement 16 et un grand pignon d'entraînement 17. Un grand pignon dit passif 1 et un petit pignon dit passif 2 s'engrènent en permanence respectivement avec le petit pignon d'entraînement 16 et un grand pignon d'entraînement 17, qui sont montés libre en rotation sur un arbre d'embrayage 3, sur lequel est monté fixe un pignon de transmission 18. Ce pignon de transmission 18 engrène avec la couronne 20 du différentiel. Ce différentiel ressemble d'ailleurs à celui divulgué dans le document JPS5551286U.

Lorsque le bouton-poussoir "L" 6 de l'émetteur de la radiocommande correspondant à la basse vitesse est enfoncé, un commutateur de sélection 36 génère un signal qui fait circuler un courant dans l'électroaimant E fixe de sorte qu'un premier aimant permanent M2 que porte une dite plate-forme d'embrayage D est attiré vers la première des deux extrémités d'un noyau de fer 31 de l'électroaimant E fixe. La plate-forme d'embrayage D se déplace alors vers un côté, entraînant un sélecteur 5 qui pivote autour d'un arbre de support 28. Un doigt 5a du sélecteur 5 déplace alors un corps d'embrayage C, monté libre en translation mais solidaire en rotation de l'arbre d'embrayage 3, de sorte que la partie mâle 22a du corps d'embrayage C s'emboîte dans une partie femelle 23a du grand pignon passif 1correspondant à la basse vitesse.

En résumé, pour la phase basse vitesse, la transmission du mouvement suit alors le circuit: pignon moteur 13 → couronne 15 → petit pignon d'entraînement 16 → grand pignon passif 1 → corps d'embrayage C → arbre d'embrayage 3 → pignon de transmission 18 → couronne de différentiel 20 → satellites et planétaires de différentiel 19 → arbres de roue 4a, 4b.

Lorsque le bouton-poussoir "H" 7 de l'émetteur de la radiocommande correspondant à la haute vitesse est enfoncé, le commutateur de sélection 36 génère un signal qui fait circuler un courant dans l'électroaimant E fixe de sorte qu'un deuxième aimant permanent M1 que porte la plate-forme d'embrayage D est attiré vers la deuxième des deux extrémités du noyau de fer 31 de l'électroaimant E fixe. La plate-forme d'embrayage D se déplace alors vers un autre côté, entraînant le sélecteur 5. Le doigt 5a du sélecteur 5 déplace alors le corps d'embrayage C, monté libre en translation mais solidaire en rotation de l'arbre d'embrayage 3, de sorte que la partie mâle 22b du corps d'embrayage C s'emboîte dans une partie femelle 23b du petit pignon passif 2 correspondant à la haute vitesse.

En résumé, pour la phase haute vitesse, la transmission du mouvement suit alors le circuit: pignon moteur 13 → couronne 15 → grand pignon d'entraînement 17 → petit pignon passif 2 → corps d'embrayage C → arbre d'embrayage 3 → pignon de transmission 18 → couronne de différentiel 20 → satellites et planétaires de différentiel 19 → arbres de roue 4a, 4b.

Dans les deux états, l'attraction entre l'électroaimant E et l'aimant permanent M1 ou M2 maintient la plate-forme d'embrayage D et le sélecteur 5 en position fixe, assurant que le corps d'embrayage C reste engagé sans risque de désemboîtement.

Epiloge.

Même si la corrélation entre les titres de propriété intellectuelle cités ci-dessus et les produits proposés dans le commerce n'est pas établis à 100%, ils permettent de se rendre compte que les rivalités entre ces fabricants d'autos radiocommandées à mi-chemin entre le monde du jouet et celui du modèle réduit ne se situaient pas uniquement au niveau commercial et sur l'apparence des produits, mais également sur le plan technique.
De nos souvenirs d'enfance, on retient surtout les carrosseries et les performances (plus ou moins bonnes) de ces autos radiocommandées à mi-chemin entre le monde du jouet et celui du modèle réduit, mais on ne se doute pas des trésors d'ingénierie qui ont été déployés et qu'il convient de replacer dans l'époque.

Pour revenir à la Pro-Cision Big Thunder 4900 / Nikko Big Thunder G3, si Pro-Cision semble avoir arrêter ses activités vers 1985, Nikko semble avoir fait vivre la base de sa Big Thunder G3 au moins jusqu'en 1987. En témoigne cet extrait d'un catalogue Nikko de 1987 (par exemple disponible ici sur le site Nikko Mania ou ici sur le site RétroModélisme.com) montrant un buggy dénommé "Off-Road Tiger", disponible depuis 1983 semble-t-il (source: Nikko Off-Road Tiger sur le site R/C Toys Memories.com), et qui comporte toujours une boite trois vitesses à sélection manuelle, avec des jantes similaires et une carrosserie quelque peu revisité.

Cette base a encore été déclinée avec d'autres carrosseries et décorations durant le début des années 80, avec par exemple:

le Nikko Sand Eagle C-5 (1983) et le Nikko Sand Spider (1983) avec une carrosserie similaire au Off-Road Tiger, mais avec un toit et des portes papillons (exemples: "Nikko Sand Eagle resto", "Nikko Sand Spider" et "Sand Eagle / Sand Spider" sur le site Tamiya Club, ou "Nikko Sand Eagle resto" sur le site Odd-Arne).

Il semble exister également ce qui semblent être des copies conformes de cette base Nikko Big Thunder G3, à l'image du très rare Boom Tiger listé plus haut et commercialisé par la société californienne Tyglon Toys, et dont le dessous du châssis ne porte pas le nom de Nikko, mais de "Haptron" ainsi qu'une mention "Made in Malaysia", et qui était commercialisé avec une radiocommande dont l'émetteur ressemblait étrangement aux productions Accoms, mais qui comporte également bien une boite trois vitesses à sélection manuelle.

    En savoir plus:




    Crédits photos: R.Bruhin.
    Texte: Stingray.