De la protection intellectuelle dans le modélisme automobile radiocommandé,
les brevets.


Edité le 13/06/2014.
Réactualisé le 25/04/2026.
Texte: Stingray.

Actualisation du 10/04/2026: enrichissement (particulièrement documents historiques japonais) et rationalisation de la collection.
Actualisation du 24/01/2026: enrichissement et rationalisation de la collection (et un scoop, le moteur brushless HobbyWing Xerun V10 G5).
Actualisation du 24/11/2025: enrichissement (particulièrement documents de Carrera Structo) , amélioration de la qualité des illustrations et rationalisation de la collection.
Actualisation du 06/10/2025: enrichissement (particulièrement documents historiques japonais) et rationalisation de la collection.
Actualisation du 24/04/2025: enrichissement (particulièrement documents historiques, et déposants Hobbywing, Traxxas, Flycolor, FlySky, Siccom, BS Diffusion, Cyclone, etc.) et rationalisation de la collection.
Actualisation du 02/12/2024: enrichissement et rationalisation de la collection.
Actualisation du 21/06/2024: enrichissement de la collection.
Actualisation du 09/03/2024: enrichissement de la collection.
Actualisation du 03/11/2023: enrichissement de la collection.
Actualisation du 09/10/2023: enrichissement de la collection.
Actualisation du 05/03/2023: enrichissement de la collection.
Actualisation du 21/12/2022: enrichissement de la collection en documents asiatiques.
Actualisation du 31/07/2022: collection d'ancients documents (avant 1970) enrichie, ajout des déposants Taiyo Kogyo et Nikko KK.
Actualisation du 18/02/2022: liens vers le nouvel Espacenet, nouvel agencement des tableaux et collection de documents enrichie.

Le but de cet article sans prétention n'est nullement de disserter longuement du domaine de la protection intellectuelle et de leur implication, mais de présenter quelques outils pour rechercher, pour sa culture personnelle, quels ont été les titres de protection qui ont été déposés dans le cadre de notre hobby.

La démarche proposée ici est donc plus destinée aux curieux qui souhaitent un complément d'information sur des modèles ou des marques qui ont marqué l'histoire de l'automodélisme ou à la recherche d'idées qu'aux polémistes. C'est pourquoi cet article se trouve également en rubrique "Vintage".

Attention cependant aux conclusions hâtives, les documents de brevet qui sont cités ci-après sont des documents qui ont été publiés, mais cela ne signifie pas forcément qu'ils aient été délivrés et qu'ils aient eu valeur de protection. On renverra donc ceux qui souhaitent en savoir plus sur le sujet aux sites plus spécialisés dans le domaine.

Pour la recherche dans les documents de brevets, on utilisera trois sites principaux et trois outils.

Ces trois outils sont:

  • les mots-clefs, en anglais la plupart du temps;
  • les noms des sociétés ou des inventeurs;
  • et les classes de brevet.

Les classes de brevets peuvent être celles de la Classification Internationale des Brevets (dite IPC) ou celles de la Classification Coopérative des Brevets (dite CPC), basées sur sensiblement la même hiérarchie. Ils en existent d'autres, mais dans un premier temps, cela sera bien suffisant. Les classifications sont des systèmes hiérarchiques de classement des brevets selon les différents domaines technologiques auxquels ils appartiennent. Elles permettront, associées aux mots-clefs et/ou aux noms des sociétés ou des inventeurs, de cibler plus finement les domaines où l'on souhaite effectuer la recherche. Ainsi on ciblera principalement, mais pas exclusivement, la classe A63H et ses sous-classes. Les classes B60 et F16, seules ou en association avec A63H, peuvent également livrer des résultats intéressants dans notre domaine.

Les trois sites Internet sont:

  • Espacenet, proposé par l'Office européen des brevets (OEB), et plus particulièrement sa page de recherche offrant plusieurs modes de recherche, de l'intuitif au plus professionnel. Il y est également possible d'y consulter la Classification Coopérative des Brevets.
  • Depatisnet, proposé par le Deutsche Patent- und Markenamt (DPMA), propose différents types de recherche, dont certains plus puissants que ceux d'Espacenet, mais peut-être moins intuitifs. Il offre également la consultation de la Classification Internationale des Brevets en trois langues.
  • Et enfin Google Patent, intuitif et ludique, et maintenant aussi Perpexity Patents.

Il est également possible de consulter les dépôts de design des marques, par exemple sur les sites DesignVieW, Hague Express du WIPO ou de l'EUIPO. Il en existe sûrement d'autres, mais comme c'est principalement la technique qui nous intéresse, les résultats n'ont pas été listés. Néanmoins, certaines marques sont très actives dans ce domaine.

Maintenant amusons-nous un peu!

Quelques trouvailles en exemple ci-dessous, avec quelques surprises! Parfois des modèles qui ne sont jamais sortis, ou d'autres fois, on se rend compte que l'innovation n'est pas forcément très ostentatoire ou encore là où on le croyait!

Tout n'a bien sûr pas été recensé de manière exhaustive, loin de là. La sélection ci-dessous est totalement arbitraire et a été faite rapidement. Par exemple, pour Tamiya, une sélection rapide a été faite car beaucoup de documents concernent par exemple les véhicules sur circuits ou encore le packaging, ou pour Kyosho, pour qui de nombreux documents concernent les hélicoptères ou sous-marins R/C. Les chars n'ont pas été retenu par exemple, sauf exceptions, mais les chars à voile R/C l'ont été, par goût personnel.

Petite précision, l'auteur ne pourra en aucun cas être tenu responsable en cas d'usage personnel, professionel ou commercial des résultats de cette recherche et des conséquences qui en découleront, les informations fournis ici n'étant données qu'à titre de pur divertissement!

Dans les tableaux ci-dessous, la date de priorité choisie en cas de priorités multiples est la plus ancienne.

Déposants classés par noms de société

ABC Hobby / 株式会社エービーシーホビー

Date de priorité

Numéro de publication et titre

Commentaires

1985-08-16

JPS6240179A ラジコン模型の電線接続方法 (WIRE CONNECTION FOR RADIO CONTROLLED MODEL)

Traduction automatique du titre: "Méthode de connexion des fils électriques pour modèles radiocommandés", combinaison d'une gaine thermorétractable en PVDF (Polyfluorure de vinylidène) et d'un anneau de soudure, la rétraction de la gaine et la fusion de la soudure se produisent simultanément. Particulièrement destiné au modèles réduits radiocommandés
Ce document décrit un manchon de connexion électrique auto-soudant.
Déposants: ABC Hobby (株式会社エービーシーホビー) et Sumitomo Electric Industries, Ltd. (住友電気工業株式会社).

Anderson Model

Date de priorité

Numéro de publication et titre

Commentaires

2010-02-12

CN102151409A Rear wheel assembly of remote control model two-wheel vehicle

Moto R/C

2010-02-02

TW201127470A Rear-wheel assembly of remote-control model two-wheel vehicle

Moto R/C

2010-01-26

CN102133485A Remote control model two-wheeled vehicle

Moto R/C

2010-01-22

TW201125626A Remotely controlled two-wheel vehicle

Moto R/C

2009-09-10

CN102019091A Remote control model locomotive

Moto R/C

2009-04-23

TW201038316A The rear wheel assembly for remote control model motorcycle

Moto R/C

2009-01-23

TWM360721U Pattern of motorcycle

Moto R/C

2008-09-25

TWM351732U Model motorcycle assembled in two stages

Moto R/C

2008-09-25

CN201286978Y Remote-control model vehicle

Moto R/C

2008-09-25

TWM351733U Remote-controlled model motorcycle

Moto R/C

2008-09-25

CN201286979Y Two-segment type combined model vehicle

Moto R/C

2008-09-25

EP2168642A1 Remote-control toy motorcycle

Moto R/C

2007-08-08

TWM326876U Hand tool for disposing E-type ring


2005-06-22

TWM278458U Chassis of remotely controlled automobile


2005-06-22

TWM278459U Motor positioning component of remotely controlled automobile


2004-02-25

TWM252015U Igniter of spark plug


2003-07-02

TWM244952U Assembly structure for servo-device of remote-control model car


2001-11-26

TW502650U Improved fuel filter for model toy


001-11-26

TW502651U Removable electric clamp


AR Racing

Date de priorité

Numéro de publication et titre

Commentaires

2011-09-22

WO2013042146A1 RADIO CONTROLLED MOTORCYCLE, PARTICULARLY OF THE TYPE WITH GYROSCOPIC STABILIZATION

Moto R/C

2007-11-12

EP2058037A1 Stabilizing device for radio-controlled motorcycles

Moto R/C

2006-11-22

ITMI20062239A1 MECCANISMO DI STABILIZZAZIONE PER MOTOCICLI RADIOCOMANDATI.

Moto R/C

ARRMA Durango (voir aussi sous les noms de Team Losi, Horizon Hobby et Durango)

Date de priorité

Numéro de publication et titre

Commentaires

2015-07-15

US2017016514A1 FIXED GEAR MESH MOTOR PLATE WITH ADJUSTABLE IDLER GEAR


2014-04-11

US2015290549A1 SLIDING GEAR MESH


2014-04-07

US2015285354A1 Locking Differential Gear Carrier Having an Integrated Locking Actuator


2014-03-13

US2015258852A1 Wheel Axle for a Constant-Velocity Drive Type Driveshaft Joint with Adjustable Axial Positions

Cardans CVD

2011-07-15

WO2013011278A1 GEARBOX

La boite de transmission du Durango DEX 210?

Asahi Tsusho KK / Asahi Tsushin KK / Asahi Sangyo KK / 朝日産業工業株式会社

Date de priorité

Numéro de publication et titre

Commentaires

1987-12-24

JPH0198693U 走行玩具用方向制御装置

Traduction automatique du titre: "Dispositif de contrôle de direction pour jouet roulant".
Déposant: Asahi Tsūshō Kabushiki-gaisha (朝日通商株式会社).

1986-01-24

JPS62170283A (ラジオコントロール装置における模型の暴走防 止システム) (MODEL RECKLESS RUNNING PREVENTING SYSTEM IN RADIO CONTROL APPARATUS)

Traduction automatique du titre en japonais: "Système de prévention de la perte de contrôle des modèles réduits pour appareils de radiocommande". Déposant de la demande de brevet: Asahi Denki K.K. (Asahi Electric Co., Ltd.).

1979-08-20

JPS5632205U 遠隔制御用の被制御装置

Traduction automatique du titre en japonais: "Dispositif commandé pour contrôle à distance". Déposant de la demande de brevet: Asahi Tsusho Co., Ltd. (朝日通商株式会社).

1979-08-20

JPS5632204U 発振装置の開閉回路

Traduction automatique du titre en japonais: "Circuit de commutation pour dispositif d'oscillation". Déposant de la demande de brevet: Asahi Tsusho Co., Ltd. (朝日通商株式会社).

1979-07-19

JPS5616392A REMOTE CONTROL DEVICE FOR UNIT TO BE CONTROLLED


1979-05-14

US4248011A Self-operative steering for radio-controlled model car

Déposant: ASAHI COMMUNICATIONS

1979-04-26

JPS55143175A (電動玩具の遠隔制御装置) (REMOTE CONTROLLER FOR MOTOR TOY)

Traduction automatique du titre en japonais: "Dispositif de télécommande pour jouet électrique". Déposant de la demande de brevet: Asahi Tsusho Co., Ltd. (朝日通商株式会社) / Asahi.

1978-10-16

JPS5556692U (モケイジドウシャサドクハグルマソウチ) (Differential gear device for transmitting rotation of a drive mechanism to a moving wheel of a model car such as a radio control unit)

Traduction automatique du titre en japonais: "Dispositif de roue dentée pour voiture miniature". Déposant de la demande de brevet: Asahi Sangyo Kogyo Co., Ltd. (朝日産業工業株式会社) ou Asahi Tsushin Kogyo Co., Ltd.

1978-09-26

US4248011A Self-operative steering for radio-controlled model car


1978-05-24

GB1596614A APPARATUS RESPONSIVE TO FREQUENXY MODULATED RADIO WAVE SIGNAL


1978-04-20

JPS54156685U ラジオコントロールにおけるデコーダとサーボ モータの接続用プラグ

Traduction automatique du titre en japonais: "Un connecteur pour décodeurs et servomoteurs dans la radiocommande". Déposant de la demande de brevet: Asahi Tsushinki Kogyo Co., Ltd. (朝日通信機工業株式会社).

1978-04-06

JPS54149389U ラジオコントロール式 模型用サーボモータ

Traduction automatique du titre en japonais: "Servomoteur pour modèles réduits radiocommandés".
Déposant de la demande de brevet: Asahi Tsushinki Kogyo Co., Ltd. (朝日通信機工業株式会社).

1978-01-19

AU3253278A MOTOR DRIVING SYSTEM FOR REMOTE CONTROLLED MOBILE TOYS


1978-01-11

CA1105559A SYSTEME DE COMMANDE DES MOTEURS D'UN JOUET MOBILE TELECOMMANDE


1977-12-27

US4207502A Motor driving system for remote controlled mobile toys


1977-05-18

JPS53158390U ホイールベースの調整装置

Traduction automatique du titre: "Mécanisme de réglage de l'empattement".
Déposant: Asahi Tsusho Co., Ltd. (朝日通商株式会社).

1977-05-1

JPS53156690U サーボモーター付ステアリング機構

Traduction automatique du titre: "Mécanisme de direction avec servomoteur".
Déposant: Asahi Tsusho Co., Ltd. (朝日通商株式会社).

1975-02-03

JPS5198689U 「ホイールベースの調整装置」

Traduction automatique du titre en japonais: "Dispositif d'entraînement par moteur pour jouet télécommandé".
Déposant de la demande de brevet: Asahi Corporation (朝日通商株式会社).

1973-06-22

JPS5020797U プリント配線による遠隔無線操縱玩具

Traduction automatique du titre en japonais: "Jouet radiocommandé par câblage imprimé".
Déposant de la demande de brevet: Asahi Tsushin Co., Ltd. (明日通株式会社).

1972-09-14

JPS4964095U 操作による走行玩具

Traduction automatique du titre en japonais: "Jouet fonctionnant par commande sans fil".
Déposant de la demande de brevet: Asahi Tsusho Co., Ltd. (朝日通商株式会社).

Awesomatix

Date de priorité

Numéro de publication et titre

Commentaires

2007-11-12

RU2356750C1 WHEEL SUSPENSION


AYK / Aoyagi Kinzoku Kogyo Co., Ltd.

Date de priorité

Numéro de publication et titre

Commentaires

1978-06-14

JPS55640U (Front wheel alignment variable mechanism of a radio control car)

Traduction automatique du titre en japonais: "Mécanisme de réglage de l'alignement des roues avant pour une voiture jouet électrique". Déposant de la demande de brevet: Aoyagi Kinzoku Kogyo Co., Ltd., c'est-à-dire AYK.

Bandai Co., Ltd. / 株式会社バンダイ

Date de priorité

Numéro de publication et titre

Commentaires

2001-02-15

JP2002239259A DEVICE FOR CHANGING DIRECTION OF RUNNING TOY AND RUNNING TOY


1991-10-14

JPH0533797U 遠隔制御玩具

Traduction automatique du titre: "Jouet télécommandé".
Déposant: Bandai (株式会社バンダイ)

1986-09-26

JPS6382691A REMOTE CONTROL RUNNING TOY


1985-12-27

JPH0319432Y2 二輪車玩具

Traduction automatique du titre en japonais: "Jouet à deux roues".

1984-05-08

JPS60180112U アンテナ装置

Traduction automatique du titre en japonais: "Dispositif d'antenne".

1984-02-13

JPS60129997U ラジコン用コントロールボックス

Traduction automatique du titre en japonais: "Boîtier de contrôle pour jouets télécommandés".

1978-11-09

JPS5570193U 走行玩具のそうこう装置

Traduction automatique du titre en japonais: "Dispositif de direction/propulsion pour jouet mobile".

1978-08-23

JPS5533533U ラジコン用アンテナキャップ

Traduction automatique du titre en japonais: "Capuchon d'antenne pour radiocommande".

1977-04-28

JPS53149688U リモートコントロール自動車の方向変換装置

Traduction automatique du titre en japonais: "Dispositif de changement de direction pour véhicule télécommandé".

Bang Zoom Design LTD

Date de priorité

Numéro de publication et titre

Commentaires

2004-07-09

US2007207699A1 TOY VEHICLE WITH STABILIZED FRONT WHEEL

Moto R/C

2004-07-09

US2006009119A1 Toy vehicle with stabilized front wheel

Moto R/C

2003-10-31

US2005095953A1 Drifting remotely controlled toy vehicle


2001-10-31

EP1461129A1 ARTICULATED RIDER FOR A TOY VEHICLE

Moto R/C

1998-11-18

WO0029087A2 REMOTE CONTROL TOY VEHICLE WITH IMPROVED STABILITY

Moto R/C

1998-11-18

GB2367767A Remote control toy motorcycle with improved stability.

Moto R/C

1993-10-21

US5368516A Radio controlled two-wheeled toy motorcycle


Banshū Kōgyō Co., Ltd. / 薔薇洲工業株式会社

Date de priorité

Numéro de publication et titre

Commentaires

1980-10-08

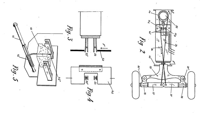
JPS5764076A ラジコン二輪車の車体傾斜付与装置 (TILTING DEVICE FOR CAR BODY OF RADIO-CONTROLLING TWO-WHEEL BARROW)

Traduction du titre en japonais: "Dispositif d'inclinaison du châssis pour motos télécommandées".
Le document concerne un dispositif d'inclinaison pour motos télécommandées caractérisé par une structure en forme de nacelle, contenant un servomécanisme et une batterie, suspendue librement sous le cadre de la moto de manière à pouvoir osciller à gauche et à droite, le servomécanisme actionne un bras qui est relié de façon mobile au cadre de la moto.
Déposant: Banshū Kōgyō Co., Ltd. (薔薇洲工業株式会社).

1978-07-27

JPS5519166A STEERING GEAR OF RADIO CONTROL SYSTEM MINIATURE CAR


BME

Date de priorité

Numéro de publication et titre

Commentaires

1995-03-29

US5662185A Drive assembly for radio-controlled cars

Différentiel pour Pan-Car, par le fondateur de BME, qui commercialisait entre autres des kit de conversion "Dirt Oval" pour le Team Associated RC10, et des pièces pour les PanCars destinées au "Oval Racing".

Bycmo R/C Models

Date de priorité

Numéro de publication et titre

Commentaires

2004-08-27

EP1829593A1 STOPPING DEVICE FOR A POSITIVE IGNITION ENGINE


2004-08-17

ES2255832A1 Clutch used in racing motorcar, includes connectors coupled to traction axle of motors for delimiting centrifugal movement of friction contact shoes and for receiving friction contact shoes based on rotation operation of motors


2003-07-30

WO2005017385A1 FRICTION-ADJUSTABLE DAMPER


2002-04-30

EP1500473A1 MULTI-PURPOSE TOOL FOR MAINTAINING AND REPAIRING SCALE MODEL CARS WITH POSITIVE IGNITION ENGINES


2000-02-02

ES1045204U Boot device for small spark ignition engines.


Carrera-Spielwarenfabrik 

Date de priorité

Numéro de publication et titre

Commentaires

1982-02-02

DE3203404A1 Toy vehicle with remote radio control

L'inventeur cité dans la demande, Hermann Neuhierl, est également celui des circuits Carrera.

1981-02-19

DE8104548U1 FUNKFERNGESTEUERTES FAHRZEUG

L'inventeur cité dans la demande, Hermann Neuhierl, est également celui des circuits Carrera.

1981-02-04

DE3103673A1 "FAHRZEUG MIT FERNSTEUERUNG UND SCHALTEINRICHTUNG"

L'inventeur cité dans la demande, Hermann Neuhierl, est également celui des circuits Carrera.

1981-02-04

DE8102798U1 "GRUNDPLATTE FUER FAHRZEUGE MIT FERNSTEUERUNG UND SCHALTEINRICHTUNG"

L'inventeur cité dans la demande, Hermann Neuhierl, est également celui des circuits Carrera.

1981-01-24

DE8101699U1 "RAD FUER SPIELFAHRZEUGE"

Pneus gonflables. L'inventeur cité dans la demande, Hermann Neuhierl, est également celui des circuits Carrera.

1980-09-20

DE3035611A1 LENKUNG FUER SPIELFAHRZEUGE MIT FERNSTEUERUNG, INSBESONDERE FUNKFERNSTEUERUNG

L'inventeur cité dans la demande, Hermann Neuhierl, est également celui des circuits Carrera.

1980-08-04

EP0045490A2 Vorrichtung zur Erkennung eines funkferngesteuerten Fahrspielzeugs.

L'inventeur cité dans la demande, Hermann Neuhierl, est également celui des circuits Carrera.

1980-08-04

DE3050325A1 VORRICHTUNG ZUR IDENTIFIZIERUNG EINES FERNGESTEUERTEN FAHRSPIELZEUGES

L'inventeur cité dans la demande, Hermann Neuhierl, est également celui des circuits Carrera.

1980-05-10

DE3018057A1 SCHABLONE FUER MODELLFAHRZEUGE ZUM LACKIEREN

L'inventeur cité dans la demande, Hermann Neuhierl, est également celui des circuits Carrera.

1980-05-10

DE8012806U1 SCHABLONE FUER MODELLFAHRZEUGE ZUM LACKIEREN

L'inventeur cité dans la demande, Hermann Neuhierl, est également celui des circuits Carrera.

1980-03-08

DE3009040A1 SPIELFAHRZEUG MIT ELEKTRISCHER STROMVERSORGUNG, ELEKTRISCHEM ANTRIEB UND FUNKFERNSTEUERUNG

L'inventeur cité dans la demande, Hermann Neuhierl, est également celui des circuits Carrera.

1980-03-08

DE8006442U1 UEBER EINEN SENDER FUNKFERNSTEUERBARES SPIELFAHRZEUG

L'inventeur cité dans la demande, Hermann Neuhierl, est également celui des circuits Carrera.

1980-03-06

DE3008604A1 SPEILFAHRZEUG MIT ELEKTRISCHER STROMVERSORGUNG, ELEKTRISCHEM ANTRIEB UND FUNKFERNSTEUERUNG

L'inventeur cité dans la demande, Hermann Neuhierl, est également celui des circuits Carrera.

1980-03-06

DE8006130U1 SENDER ZUR FUNKFERNSTEUERUNG EINES SPIELFAHRZEUGES

L'inventeur cité dans la demande, Hermann Neuhierl, est également celui des circuits Carrera.

1980-02-15

DE8004080U1 SPIELFAHRZEUG MIT GERAEUSCH

L'inventeur cité dans la demande, Hermann Neuhierl, est également celui des circuits Carrera.

1980-01-30

US4366374A Lap counter for radio controlled vehicles

L'inventeur cité dans la demande, Hermann Neuhierl, est également celui des circuits Carrera.

1980-01-30

DE8002239U1 SPIELFAHRZEUG MIT FUNKFERNSTEUERUNG

L'inventeur cité dans la demande, Hermann Neuhierl, est également celui des circuits Carrera.

1980-01-30

DE8002282U1 RUNDENZAEHLER FUER FUNKFERNGESTEUERTE FAHRZEUGE

L'inventeur cité dans la demande, Hermann Neuhierl, est également celui des circuits Carrera.

1979-12-19

DE7935736U1 REIFEN FUER FAHRSPIELZEUGE

L'inventeur cité dans la demande, Hermann Neuhierl, est également celui des circuits Carrera.

1979-12-19

DE7935106U1 Betaetigungsvorrichtung fuer ein bewegbares Steuerteil bei einem Modellfahrzeug

Direction pour châssis modulaire avec un moteur par roue avant, ressemblant fortement à un châssis Robbe piste 1/12° de la même époque. Par exemple, le modèle Carrera Structo Ford Capri Turbo référence 90310 piste 1/12° électrique était vendu avec cette configuration Traction FWD avec un moteur RS380S par roue avant, qui pouvait être monté avec les sets 98014 en quatre roues motrices 4WD ou en propulsion 2WD avec un moteur RS380S par roue, en propulsion avec un seul moteur RS540S avec le set 98012 associé au set de train avant 98015, ou encore en Traction 2WD avec un seul moteur RS540S avec le set 98011 qui comprenait un train complet probablement issu de la Ishimasa FF-12. L'inventeur cité dans la demande, Hermann Neuhierl, est également celui des circuits Carrera.

1979-12-13

DE2950123B1 Chassis fuer ein Spielfahrzeug

Châssis modulaire avec un moteur par roue avant, ressemblant fortement à un châssis Robbe piste 1/12° de la même époque. Par exemple, le modèle Carrera Structo Ford Capri Turbo référence 90310 piste 1/12° électrique était vendu avec cette configuration Traction FWD avec un moteur RS380S par roue avant, qui pouvait être monté avec les sets 98014 en quatre roues motrices 4WD ou en propulsion 2WD avec un moteur RS380S par roue, en propulsion avec un seul moteur RS540S avec le set 98012 associé au set de train avant 98015, ou encore en Traction 2WD avec un seul moteur RS540S avec le set 98011 qui comprenait un train complet probablement issu de la Ishimasa FF-12. L'inventeur cité dans la demande, Hermann Neuhierl, est également celui des circuits Carrera.

1979-12-13

DE2950161B1 Betaetigungsvorrichtung fuer ein bewegbares Steuerteil bei einem Modellfahrzeug

Direction pour châssis modulaire avec un moteur par roue avant, ressemblant fortement à un châssis Robbe piste 1/12° de la même époque. Par exemple, le modèle Carrera Structo Ford Capri Turbo référence 90310 piste 1/12° électrique était vendu avec cette configuration Traction FWD avec un moteur RS380S par roue avant, qui pouvait être monté avec les sets 98014 en quatre roues motrices 4WD ou en propulsion 2WD avec un moteur RS380S par roue, en propulsion avec un seul moteur RS540S avec le set 98012 associé au set de train avant 98015, ou encore en Traction 2WD avec un seul moteur RS540S avec le set 98011 qui comprenait un train complet probablement issu de la Ishimasa FF-12. L'inventeur cité dans la demande, Hermann Neuhierl, est également celui des circuits Carrera.

1979-12-13

DE7935079U1 CHASSIS FUER EIN SPIELFAHRZEUG

Direction pour châssis modulaire avec un moteur par roue avant, ressemblant fortement à un châssis Robbe piste 1/12° de la même époque. Par exemple, le modèle Carrera Structo Ford Capri Turbo référence 90310 piste 1/12° électrique était vendu avec cette configuration Traction FWD avec un moteur RS380S par roue avant, qui pouvait être monté avec les sets 98014 en quatre roues motrices 4WD ou en propulsion 2WD avec un moteur RS380S par roue, en propulsion avec un seul moteur RS540S avec le set 98012 associé au set de train avant 98015, ou encore en Traction 2WD avec un seul moteur RS540S avec le set 98011 qui comprenait un train complet probablement issu de la Ishimasa FF-12. L'inventeur cité dans la demande, Hermann Neuhierl, est également celui des circuits Carrera.

1979-11-30

DE2948251A1 Termination of nickel-cadmium battery charging process - by detecting terminal voltage peak which occurs when fully charged

Technique de charge rapide pour batterie NiCd pour modèles réduits qui s'apparente fort à la méthode Delta-Peak. L'inventeur cité dans la demande, Hermann Neuhierl, est également celui des circuits Carrera.

1974-09-23

DE2445328A1 PREISGUENSTIGE SENDE-EMPFANGS-ANLAGE, IN EINFACHER WEISE MITTELS STECKMODULEN ZU EINER HOCHWERTIGEN, TRENNSCHARFEN HFEMPFANGSEINRICHTUNG

L'inventeur cité dans la demande, Hermann Neuhierl, est également celui des circuits Carrera.

1973-06-19

DE2331165A1 Single channel radio control for models - has selectable multi-function switch mechanism

L'inventeur cité dans la demande, Hermann Neuhierl, est également celui des circuits Carrera.

1972-06-19

DE2229772A1 STEUERUNG FUER SPIELZEUGE

L'inventeur cité dans la demande, Hermann Neuhierl, est également celui des circuits Carrera.

1972-05-10

DE2223033A1 VORRICHTUNG FUER DIE EINSTELLUNG EINES BEWEGUNGSELEMENTES IN EINEM MODELL-SPIELZEUG

L'inventeur cité dans la demande, Hermann Neuhierl, est également celui des circuits Carrera.

1971-09-29

DE2148498A1 RAD FUER SPIELZEUGE

L'inventeur cité dans la demande, Hermann Neuhierl, est également celui des circuits Carrera.

1968-06-01

DE1703512A1 Spielfahrzeug

L'inventeur cité dans la demande, Hermann Neuhierl, est également celui des circuits Carrera.

1968-02-10

DE6608461U KAROSSERIE FUER SPIELFAHRZEUG.

L'inventeur cité dans la demande, Hermann Neuhierl, est également celui des circuits Carrera.

Carson

Date de priorité

Numéro de publication et titre

Commentaires

2017-09-14

DE202017105565U1 Lenkung für ein Spielfahrzeug


Castle Creations

Date de priorité

Numéro de publication et titre

Commentaires

2012-03-12

US2013234634A1 Controlling A Multiphase Brushless DC Motor For Staging And Driving A Remote-Control Vehicle


2011-06-24

US2015253770A1 DATA LINK FOR USE WITH COMPONENTS OF REMOTE CONTROL VEHICLES


2010-09-02

US2013111748A1 CONTROLLED DISCHARGE CONNECTOR LEAD


2007-04-27

US7831351B1 Mapping control inputs to vehicle-specific control outputs at a receiver


2007-04-27

US8049601B1 Generating servo control pulses at a receiver


2006-01-03

US2007152635A1 Battery cell count detector


2005-08-08

US2007029956A1 CONTROLLER FOR A MULTI-PHASE BRUSHLESS DC MOTOR


2005-02-24

US2006211328A1 Electronic speed control programming


2004-11-30

US2006113941A1 Brushless DC motor controller

Brevet Castle Creation identifié d'après le nom de l'inventeur

Cayote

Date de priorité

Numéro de publication et titre

Commentaires

?

?


CCP Co. Ltd.

Date de priorité

Numéro de publication et titre

Commentaires

2017-07-12

JP2019017477A VEHICLE TOY, AND REAR WHEEL SIDE SUPPORT EQUIPMENT FOR VEHICLE TOY


2009-07-14

WO2011007460A1 RADIO CONTROL CAR


2002-04-23

WO03090891A1 GUN GRIP CONTROLLER


2002-01-24

US6565409B1 Stop mechanism of model car


2000-10-18

JP2002119771A REMOTELY OPERATED TRAVELING TOY


1998-08-05

US6661351B1 Radio control system and radio control method


Chengdu Ahn Science and Technology Limited Company / 成都艾恩科技有限公司

Date de priorité

Numéro de publication et titre

Commentaires

2022-01-28

CN114459772A Decoupling method for modulation pulse input signal of electric speed controller of general car model


2022-01-28

CN217034553U General car model electric speed controller modulation pulse input signal decoupling system


2022-01-28

CN217048291U Novel unmanned trolley control system


Cheng Shin Rubber Xiamen Ind LTD / 厦门正新橡胶工业有限公司

Date de priorité

Numéro de publication et titre

Commentaires

2023-11-07

CN117429104A Tire for electric control racing car and manufacturing process thereof


2022-12-27

CN115891509A Tire body structure of tire and tire for model car


2019-11-26

CN111253642A Remote control model car full-hot-melt tire tread rubber formula, tire and remote control model car


Conrad Electronic

Date de priorité

Numéro de publication et titre

Commentaires

2009-09-17

DE202009012534U1 Modellfahrzeug und Befestigungsvorrichtung


Corally

Date de priorité

Numéro de publication et titre

Commentaires

1998-05-25

NL1009252C1 Wheel suspension system for model racing car involving chassis with two axles has wheels of at least one axle fixed by wheel arms to chassis in independently sprung manner

Une cinétique de suspension pour Touring. Testée à l'époque par Corally sur le train arrière de la C4, elle n'a jamais atteint le stade commerciale car engendrant trop de sous-virage selon ce qui se disait à l'époque.
On peut la voir précisément en photos montée sur un prototype de la Corally C4 sur le site Corally12.nl.

1985-08-23

NL8502332A Model motor car with wheel axle suspension - has motor driven gear wheel near drive wheel, moving supported hollow spindle and differential coupling with apertured disc

Train arrière de pan-car, jamais sorti commercialement

Correct Models

Date de priorité

Numéro de publication et titre

Commentaires

2013-01-23

CN203208678U Car shell fixing base


2012-04-06

CN202620704U Chassis of remote control model car

Un châssis pour Touring traction 1/10° électrique (CR-FD1A)

Cross Co., Ltd. / 有限会社クロス

Date de priorité

Numéro de publication et titre

Commentaires

1991-05-20

JPH0744003U (模型用給電装置)

Dispositif d'alimentation électrique pour modèles réduits, tel qu'une voiture radiocommandée pour permettre l'éclairage de LED ou d'éléments similaires sur un carrosserie de modèle réduit sans nécessiter de câblage direct depuis le châssis. Traduction automatique du titre: "Dispositif d'alimentation électrique pour modèles réduits". Déposant de la demande de brevet: Towada Giken Co., Ltd. (株式会社十和田技研) et Cross Co., Ltd. (有限会社クロス).

1991-05-20

JPH0586396U (模型用給電装置)

Dispositif d'alimentation électrique pour modèles réduits, tel qu'une voiture radiocommandée pour permettre l'éclairage de LED ou d'éléments similaires sur un carrosserie de modèle réduit sans nécessiter de câblage direct depuis le châssis. Traduction automatique du titre: "Dispositif d'alimentation pour modèles". Déposant de la demande de brevet: Towada Giken Co., Ltd. (株式会社十和田技研) et Cross Co., Ltd. (有 限会社クロス).

Crown Model Co., Ltd. / 株式会社 クラウンモデル

Date de priorité

Numéro de publication et titre

Commentaires

1978-06-16

JPS55654U (Wheel shock absorber of a radio controlled vehicle)

Suspension arrière à bras tirés et amortisseurs à friction réglables. Traduction automatique du titre en japonais: "Dispositif d'amortissement de roue pour véhicule télécommandé sans fil". Déposant de la demande de brevet: Crown Model Co., Ltd. (株式会社 クラウンモデル).

Custom Plastics

Date de priorité

Numéro de publication et titre

Commentaires

2006-01-31

WO2007089268A2 RADIO CONTROL CAR CHASSIS

HPI Savage?

Custom Works RC Products

Date de priorité

Numéro de publication et titre

Commentaires

2013-09-10

US2015069729A1 Adjustable Toe Suspension Arm

Triangle au pincement réglable

Cyclone

Date de priorité

Numéro de publication et titre

Commentaires

1987-02-06

FR2610686A1 DIFFERENTIEL AUTOBLOQUANT

Par le concepteur de la Cyclone, une piste 1/8° thermique Classique championne d'Europe de la catégorie en 1986, fabriquée en petites séries. Le déposant a été champion d'Europe de la catégorie en 1986 et champion de France l'année suivante avec cette voiture. Source: RC-Contact. qui héberge également la notice de montage de l'auto, RC Mag Vintage.

Daiichi Phase Co., Ltd. / 氏名:第一フェーズ株式会社

Date de priorité

Numéro de publication et titre

Commentaires

1977-12-14

JPS5492309U ラジオコントロール模型用無接点速度制御装置

Traduction automatique du titre: "Dispositif de contrôle de vitesse sans contact pour modèles radiocommandés".
Le document concerne un dispositif de contrôle de vitesse sans contact pour modèles radiocommandés électrique, comprennant un circuit de commutation à semi-conducteurs qui commute le contrôle de rotation d'un moteur à courant continu en contrôle de tension ou en contrôle de courant, et une partie qui commande ledit circuit de commutation à semi-conducteurs en fonction de la variation de la résistance interne d'un élément photoélectrique, en disposant un élément photoélectrique et une source lumineuse en regard l'un de l'autre, et en installant une fente et un obturateur rotatif entre eux
Déposant: Daiichi Phase Co., Ltd. (氏名:第一フェーズ株式会社).

Daikin Industries, Ltd. (ダイキン工業株式会社).

Date de priorité

Numéro de publication et titre

Commentaires

1991-11-13

JPH0541593U  無線操縦模型車両

Les figures semblent représenter un Stadium Truck 1/10° thermique 4WD.
Traduction automatique du titre: "Véhicule miniature télécommandé".
Déposant: Daikin Industries, Ltd. (ダイキン工業株式会社).

1991-02-22

JPH0553699U  (無線操縦模型車両) / (Radio controlled model car toys)

Véhicule à moteur thermique avec un système de contrôle de la vitesse et de la direction (marche avant/arrière) via la radiocommande. Traduction automatique du titre en japonais: "Véhicule modèle radiocommandé sans fil". Déposant de la demande de brevet: Daikin Industries, Ltd. (ダイキン工業株式会社).

Digicon Electronics Co., Ltd. / デジコン電子株式会社

Date de priorité

Numéro de publication et titre

Commentaires

1985-03-09

JPS61151800U  ラジコンにおける受信機サーボの電源電池の電池切れ警告装置

Traduction automatique du titre: "Dispositif d'avertissement de décharge de batterie pour le servo du récepteur d'une radiocommande".
Déposant: Digicon Electronics Co., Ltd. (デジコン電子株式会社).

1985-03-09

JPS61151799U  ラジコンにおける受信側用電源電池の電池切れ警告装置

Traduction automatique du titre: "Dispositif d'avertissement d'épuisement de la batterie pour le côté réception d'une radiocommande".
Déposant: Digicon Electronics Co., Ltd. (デジコン電子株式会社).

1977-12-26

JPS5498995U  ラジオコントロールに於けるサーボの制御機術

Traduction automatique du titre en japonais: "Mécanisme de contrôle de servo pour radiocommande".
Déposant: Digicon Electronics Co., Ltd. (デジコン電子株式会社).

1977-12-26

JPS5498998U  リモートコントロール装置に於けるステック機構

Traduction automatique du titre en japonais: "Mécanisme de manche intégré au dispositif de télécommande".
Déposant: Digicon Electronics Co., Ltd. (デジコン電子株式会社).

Dongguan Aquilaria Sinensis Electronic LTD Company / 东莞市莞瑞电子有限公司

Date de priorité

Numéro de publication et titre

Commentaires

2023-10-23

CN221264070U Electronic circuit board with pin testing mechanism for toy car


2022-01-07

CN216699596U Standby low-power-consumption charging detection circuit and toy car


2022-01-06

CN216526781U Vehicle standby low-power-consumption circuit and toy vehicle


2022-01-06

CN216718617U Tire jamming protection circuit with low standby power consumption and toy car


2021-12-30

CN216598974U Tire jamming protection circuit and toy car


2021-12-30

CN216676959U Vehicle balance control circuit and toy vehicle


Dongguan BDS Technology / 东莞市博思电子数码科技有限公司

Date de priorité

Numéro de publication et titre

Commentaires

2020-12-29

CN214067632U Circuit for remote controller


2020-12-29

CN213937874U Remote control transmitter


2019-06-10

CN210302389U Simulated remote control car front wheel turning mechanism


2019-06-10

CN210302388U Simulation remote control car


2019-06-10

CN210384835U Simulation remote control vehicle rear wheel driving mechanism


2016-11-07

CN206214765U Car model


2016-11-07

CN206214762U Car model


DONGGUAN CHANGLI TOY PRODUCT Co. Ltd. / 东莞市长利玩具制品有限公司

Date de priorité

Numéro de publication et titre

Commentaires

2025-06-18

CN120661936A Motor-driven toy and control method and control system thereof


Dongguan Huiri Plastic Products / 东莞辉瑞塑胶制品有限公司

Date de priorité

Numéro de publication et titre

Commentaires

2023-05-04

CN219681667U Pull rod structure of RC remote control car


Dongguan Jiandong Rubber Products /东莞市建东橡胶制品科技有限公司

Date de priorité

Numéro de publication et titre

Commentaires

2016-12-28

CN206465495U Tire apparatus for producing


2013-03-27

CN203246276U Remote control racing car tire with improved proportion


2013-03-27

CN203244770U Proportional remote-control racing car tire


2013-03-27

CN103146085A Proportional remote control racing car tire and preparation method thereof


2013-03-27

CN103144500A Proportional remote control racing car tire


Dongguan Haonuo electronic Tech Co. Ltd. / 东莞市昊诺电子科技有限公司

Date de priorité

Numéro de publication et titre

Commentaires

2021-06-18

CN215781487U Amphibious waterproof remote control toy car


Dongguan Hebijia Model Technology Co., LTD. / 东莞贺比嘉模型科技有限公司

Date de priorité

Numéro de publication et titre

Commentaires

2025-09-16

CN120884894A Model wheel hub


2024-08-03

CN222811159U Transmission breaking mechanism of gearbox of remote control model car


2023-06-17

CN220470562U Double-speed gearbox of remote control model car


2023-06-17

CN220090474U Remote control model car frame structure and remote control model car

Crawler

2023-06-17

CN220176031U Rear axle structure of model car

Crawler

2023-06-17

CN220470562U Double-speed gearbox of remote control model car

Crawler

2023-06-17

CN220070722U Front axle structure of model car

Crawler

2021-12-24

CN216798697U Buffering empennage frame structure of remote control model car

Crawler

2021-08-30

CN215427314U Modularized electronic equipment compartment of remote control model car


2021-08-30

CN215673501U Mechanical gear shifting gearbox of remote control model car


2021-08-30

CN215461996U Buffering device for anti-collision plate of remote control model car


2021-08-30

CN215487458U Gear box back transmission structure of remote control model car


2020-06-01

CN212631724U Arch-shaped bottom plate structure of remote control model car


Dongguan Maisto Industry - Dongguan Meichitu Industry / 东莞美驰图实业有限公司

Date de priorité

Numéro de publication et titre

Commentaires

2024-12-25

CN223831770U Self-balancing remote control car


2024-12-20

CN119426981A Motor assembling and wire welding equipment


2024-02-23

CN221698234U Automatic transfer printing and assembling equipment for wheels


2024-02-23

CN117944364A Automatic transfer printing and assembling equipment for wheels


2023-12-28

CN221905754U Quick climbing remote control toy car


2023-12-28

CN222195902U Remote control toy car


2023-12-26

CN222195897U Thunder and lightning remote control toy car


2020-12-11

CN214075033U Amphibious remote control toy car


2020-12-03

CN112427964A Automatic mounting and welding accessory machine for micro motor


2020-12-03

CN214080199U Automatic mounting and welding fitting machine for micro motor


2020-12-03

CN213845801U Micro-motor automatic wire cutting and stripping welding machine


2020-12-03

CN112382910A Automatic wire cutting and stripping welding machine for micro motor


2013-12-04

CN203643783U Low-cost anti-interference circuit of remote-controlled recording model car


2013-12-04

CN103616837A Low-cost method and circuit for resisting interference on remote control recording car


Dongguan Ruiqing Model Technology Co., Ltd / 东莞瑞庆模型科技有限公司

Date de priorité

Numéro de publication et titre

Commentaires

2024-10-28

CN223381092U Quick clutch mechanism for anti-roll bar of remote control car


2022-12-19

CN219167699U Model toy car winch structure


Dongguan Suolide Model Tech Co. Ltd. / 东莞市索立得模型科技有限公司

Date de priorité

Numéro de publication et titre

Commentaires

2021-08-11

CN216222929U Overload protection structure for model car


2021-08-11

CN215841580U Heat dissipation structure of model car


2021-08-11

CN215841581U Model car seat


2021-08-11

CN215841580U Heat dissipation structure of model car


2021-08-11

CN216222929U Overload protection structure for model car


2021-08-06

CN215841579U Transfer case and gearbox multi-angle adjusting structure


2021-08-06

CN113599840A Transfer case and gearbox multi-angle adjusting structure


2021-08-06

CN215841587U Transfer conversion device


2021-03-30

CN214446908U Model car seat backrest cloth strip punching device


2021-03-04

CN214823594U Steering device of slight climbing off-road vehicle


2021-01-11

CN214011771U Control system for slight climbing off-road vehicle


2021-01-11

CN112915553A Slight climbing off-road vehicle


2021-01-11

CN214319116U Slight climbing off-road vehicle


2019-10-30

CN211158577U Vehicle shell fixing structure of remote control model vehicle


Dongguan Wadidun Cultural Education Technology / RGT / 东莞市汇胜模型配套科技有限公司

Date de priorité

Numéro de publication et titre

Commentaires

2015-06-08

CN204684665U Steering mechanism of telecontrolled model car


2015-06-08

CN204684664U Bonnet flip structure of telecontrolled model car


DONGGUAN YIKONG MODEL TOYS Co. Ltd. /东莞市易控模型玩具有限公司

Date de priorité

Numéro de publication et titre

Commentaires

2024-12-27

CN223411393U High-position input and output power structure of central differential


2024-12-26

CN223411389U High-position input and output power structure of differential mechanism


2024-12-10

CN223797049U  一种汽车模型底盘结构


2023-11-17

CN221155362U Tank turning system mechanism of remote control model car


2023-11-17

CN221443222U Manual locking differential mechanism


DONGGUAN YONGQI TOYS TECH Co. Ltd. / 东莞市永奇玩具科技有限公

Date de priorité

Numéro de publication et titre

Commentaires

2024-01-15

CN221491435U Amphibious remote control toy car


2023-12-27

CN222130965U Charging type wireless remote control toy car


Du-Bro Products

Date de priorité

Numéro de publication et titre

Commentaires

2009-06-12

US8240335B1 Fueling valve for fueling a remote control vehicle


2003-09-08

US7040681B1 Tool kit for a radio-controlled vehicle


2000-11-27

US6293304B1 Fuel valve


2000-09-28

US6364566B1 Universal connector for remote control vehicles


2000-09-28

US2002081145A1 Universal connector for remote control vehicles


EDAM

Date de priorité

Numéro de publication et titre

Commentaires

2009-08-20

DE202009005159U1 Lenkpuffer für ferngesteuerte Autos

Attribué à EDAM en raison du nom de l'inventeur

2009-06-19

TWM369792U Structural improvement of damping set for remote control car

Attribué à EDAM en raison du nom de l'inventeur

2009-03-13

DE202009004915U1 Schwenkbügel für den Fahrzeugrahmen eines ferngesteuerten Fahrzeugs

Attribué à EDAM en raison du nom de l'inventeur

2009-03-13

TWM361371U Suspension arm structure improvement of in remote control car frame

Attribué à EDAM en raison du nom de l'inventeur

2008-01-03

US2011143877A1 Differential gear for remote control toy car

Différentiel à rouleaux, attribué à tord initialement à 3Racing car ce fabricant avait commercialisé ce type de différentiel

2007-11-29

TWM341542U Differential gear of remote-controlling model car

Différentiel à rouleaux, déposé sous le nom EDAM

Elcon Models

Date de priorité

Numéro de publication et titre

Commentaires

2008-09-19

DE202008012508U1 Modellkraftfahrzeug

Pour tout-terrain au 1/5°

Entex

Date de priorité

Numéro de publication et titre

Commentaires

1981-12-31

WO8302351A1 SINGLE CHANNEL RADIO CONTROL SYSTEM


1980-07-21

US4342175A Radio controlled motorcycle

Moto R/C

Epoch's / Epoch Co., Ltd. / 株式会社エポック社

Date de priorité

Numéro de publication et titre

Commentaires

1999-11-11

JP2001137563A TRANSMITTER FOR TOY


1983-12-28

JPH019599Y2 玩具用ラジコンカー

Traduction automatique du titre en japonais: "Voiture radiocommandée pour jouet".

1980-07-23

JPS5727313A REMOTE SWITCHING DEVICE OF HIGH AND LOW SPEED IN RADIO CONTROLLED CAR


1980-07-14

JPS5722782A CHANGING-OVER DEVICE FOR HIGH AND LOW SPEED IN RADIO-CONTROLLING CAR


1979-08-21

JPS5633997U 玩具用自動車の操向装 置 

Traduction automatique du titre en japonais: "Dispositif de direction pour voiture miniature (jouet)".
Dispositif de direction pour voiture miniature de type radiocommandée dans lesquels les bras des fusée de direction des deux roues avant sont reliés par une barre d'accouplement, et qu'entre les deux bras de fusée, le palonnier du servo est relié à l'un des bras de fusée par une tige de commande, tandis qu'un ressort de traction est relié entre ledit palonnier de servo et l'autre bras de fusée.
Déposant: Epoch Co., Ltd. (株式会社エポック社).

1978-10-02

JPS5551286U (Wheel drive differential for a toy vehicle)

Traduction automatique du titre en japonais: "Dispositif de différentiel pour la conduite des roues d'une voiture jouet". Déposant de la demande de brevet: Epoch Co., Ltd. (株式会社 エポック社) / EPOCH'S.Voir l'article l'article intitulé "Vintage: Tout-Terrain 1/10° électrique Pro-Cision / Nikko Big Thunder 4900 (1979)" sur ce même site.

ExHobby Ltd.

Date de priorité

Numéro de publication et titre

Commentaires

2023-11-29

CN221106954U Driving structure of small-size remote control car


2023-11-29

CN223144116U Small-size remote control car


2016-08-31

CN206063787U Antenna and remote controller


Exotek

Date de priorité

Numéro de publication et titre

Commentaires

2020-03-10

US2021283517A1 Suspension System for Radio-Controlled Vehicles

Suspension pour Formule 1 1/10° électrique. Document au nom de son inventeur

FlySky RC Model Technology / SHENZHEN FUSI TECH Co. Ltd. / 深圳市富斯科技有限公司

Date de priorité

Numéro de publication et titre

Commentaires

2024-12-31

CN119386473A Model vehicle-based power distribution method, system and equipment and storage medium


2025-11-25

CN121396363A RF modulation signal frequency measurement method and device, storage medium and equipment


2025-11-25

CN121217253A Test platform calibration method and device of RF system, storage medium and platform


2025-08-21

CN120751503A Resource configuration method and device of RF control system, storage medium and equipment


2025-08-21

CN120722779A Time sequence control method and device, storage medium and equipment


2025-07-25

CN120674809A Antenna adjustment method and device of RF control system, storage medium and equipment


2025-04-17

CN119996347A Système, procédé et dispositif de partage de données


2025-04-08

CN119788211A Système de réception RF et procédé de contrôle basé sur le système de réception RF


2025-03-12

CN119788211A RF receiving system and control method based on RF receiving system


2025-03-10

CN119853829A RF control system control delay self-measurement method and device, storage medium and equipment


2025-03-10

CN119789154A Resource configuration method and device, storage medium and equipment


2025-03-10

CN119766355A RF control system control delay self-measurement method and device, storage medium and equipment


2025-03-10

CN119781362A Time sequence control method and device, storage medium and equipment


2024-12-31

CN119400175A Voice control system and method based on remote controller


2024-12-31

CN119402143A Control method and device of remote control model, equipment and storage medium


2024-12-31

CN119402030A Receiver signal redundancy processing method and system and storage medium


2024-12-31

CN119402863A Communication binding and control switching method and device for identity recognition, equipment and medium


2024-12-31

CN119396066A Predictive control method and device for remote control model, equipment and storage medium


2024-12-31

CN119386473A Model vehicle-based power distribution method, system and equipment and storage medium


2024-12-31

CN119472443A Function control custom configuration method and system and storage medium


2024-12-31

CN119396065A Predictive control method and device for remote control model, equipment and storage medium


2024-12-31

CN119377300A Data display method, device and equipment for model airplane and storage medium


2024-12-31

CN119380520A Programming method and device applied to remote controller, remote controller and storage medium


2024-09-03

CN118889005A Foldable antenna of remote controller


2024-05-30

CN118500494A Method for simulating and measuring fuel consumption of model car


2024-05-29

CN118320436A Remote control model car system and car speed control method of remote control model car


2023-10-08

CN221227885U Waterproof receiver and glue pouring mold for preparing same

Récepteur étanche

2023-10-08

CN117336970A Waterproof receiver as well as glue pouring mold and glue pouring process for preparation of waterproof receiver


2022-07-07

CN218273683U Wireless remote control power driving device and wireless remote control model equipment


2021-05-17

CN215495396U Plug-and-play miniature model tuner and remote controller


2021-05-17

CN215495396U Plug-and-play miniature model tuner and remote controller

Sous le nom SHENZHEN FUSI TECH Co. Ltd. /深圳市富斯科技有限公司

2020-01-10

WO2021139021A1 NOVEL MODEL TRANSMITTER


2020-06-19

CN111650867A Model remote controller system capable of setting terminal equipment parameters

Sous le nom SHENZHEN FUSI TECH Co. Ltd. /深圳市富斯科技有限公司

2020-06-19

CN212965785U Remote control end for setting parameters of electronic speed regulator and model machine

Avec Hobbywing comme co-déposant! Sous le nom SHENZHEN FUSI TECH Co. Ltd. /深圳市富斯科技有限公司

2020-04-13

WO2021139021A1 NOVEL MODEL TRANSMITTER

Sous le nom SHENZHEN FUSI TECH Co. Ltd. /深圳市富斯科技有限公司

2019-09-04

WO2021042726A1 REMOTE CONTROLLER


2019-09-04

WO2021042724A1 ANTI-INTERFERENCE METHOD AND APPARATUS FOR OFDM SYSTEM, ELECTRONIC DEVICE, AND STORAGE MEDIUM

Sous le nom SHENZHEN FUSI TECH Co. Ltd. /深圳市富斯科技有限公司

2018-11-30

CN209286668U Novel model receiver

Sous le nom SHENZHEN FUSI TECH Co. Ltd. /深圳市富斯科技有限公司

2018-09-12

CN208823942U Wireless transmission model timing system

Sous le nom SHENZHEN FUSI TECH Co. Ltd. /深圳市富斯科技有限公司

2018-09-12

CN108888967A Model timing system with wireless transmission

Sous le nom SHENZHEN FUSI TECH Co. Ltd. /深圳市富斯科技有限公司

2018-08-10

CN109200598A An all-terrain attitude feedback system

Radiocommande Noble. Sous le nom SHENZHEN FUSI TECH Co. Ltd. /深圳市富斯科技有限公司

2018-04-17

CN108339282A Remote controller capable of switching left and right hand modes

Radiocommande Noble. Sous le nom SHENZHEN FUSI TECH Co. Ltd. /深圳市富斯科技有限公司

2018-04-17

CN208389381U Remote controller of hand former formula about convertible

Radiocommande Noble. Sous le nom SHENZHEN FUSI TECH Co. Ltd. /深圳市富斯科技有限公司

2018-04-17

CN208389380U Model remote controller based on multidirectional fine setting hand wheel

Radiocommande Noble. Sous le nom SHENZHEN FUSI TECH Co. Ltd. /深圳市富斯科技有限公司

2016-08-29

CN206081633U Remote controller control handle


2015-09-22

CN105139591A Remote alarming method and system based on detection of signal-to-noise ratio


2015-07-16

CN104978847A Intelligent remote control system of battery and intelligent remote control model


2015-07-16

CN204791496U Intelligent remote control system and intelligent telecontrolled model of battery


2015-05-29

CN104853370A Spectrum sensing method based on model remote control and system thereof


2013-09-09

CN103457620A Method and updating system for achieving system updating of model remote controller receiving machine


2013-09-09

CN103475711A Method and system for achieving parameter synchronization based on model remote controllers


2013-09-09

CN103446766A Model remote controller


2013-09-09

CN203465816U Model remote controller having alarm function


2013-09-09

CN103463814A Method, system and remote control for configuring remote control parameters according to remote control model structures


2013-09-09

CN103475711A Method and system for achieving parameter synchronization based on model remote controllers

Sous le nom SHENZHEN FUSI TECH Co. Ltd. /深圳市富斯科技有限公司

2013-08-09

CN103412774A Remote-control transmitter based method and system for achieving automatic updating of system programs


2013-08-09

CN203458802U Model remote controller


2013-08-09

CN103414617A Serial I-BUS structure applied to remote control model and communication method thereof


FMS - Foshan Zhengze Model Technology Co. Ltd. / 佛山市正泽模型科技有限公司

Date de priorité

Numéro de publication et titre

Commentaires

2025-02-28

CN119994559A Mécanisme de connexion électrique appliqué au modèle de véhicule et au modèle de véhicule


2025-02-28

CN119896862A Mécanisme de connexion à dégagement rapide appliqué au modèle de véhicule et au modèle de véhicule


2025-02-28

CN223969481U 门桥传动总成和车辆模型

Transmission de crawler.

2024-09-27

CN223203571U Shock absorber

Amortisseurs.

2024-04-17

CN118161867A VEHICLE MODEL AND VEHICLE DOOR ASSEMBLY FOR A VEHICLE MODEL

*

2024-04-12

CN222400214U Quick connecting structure for chassis and shell


2024-04-12

CN118179051A Winch structure and automobile model with same

Treuil

2024-03-11

CN222266112U Rotary quick connection structure of chassis and shell


2024-03-06

CN222266110U Automobile model


2024-03-06

CN222266111U Trunk cover and automobile model


2023-08-17

CN220668342U Speed change assembly and model car


2023-08-15

CN220656376U Control mechanism and model car


2023-08-15

CN220656378U Front driving assembly and model car


2023-08-08

CN220656381U Speed change device and model car


2023-02-03

CN219815265U Battery fixing mechanism and model car with same


2023-02-03

CN219595839U Wheel transmission mechanism and car model with same


2023-02-03

CN219595837U Motor fixing structure and car model with same


2022-07-07

CN218273683U Wireless remote control power driving device and wireless remote control model equipment


2022-06-06

CN217908961U Transfer device and model car


2022-06-06

CN217908954U Quick-release mounting assembly and model car


2022-06-06

CN217908955U Mounting assembly and model car


2022-06-06

CN217583070U Differential device and model car


2022-06-06

CCN217908947U Double-steering-engine model car


2022-06-06

CN115045972A Differential device and model car


2022-03-08

CN114570036A Remote control car power transmission structure and remote control car thereof


2022-03-08

CN217526359U Remote control car power transmission structure and remote control car thereof


2022-03-08

CN217114634U Model car battery fixing mechanism and model car with same


2022-03-07

CN217301558U Model car speed change device and model car


2021-11-15

CN216436986U Model car power device with motor capable of being installed at multiple angles


2021-11-15

CN216247237U Model vehicle power device for simulating engine layout of real vehicle


2021-11-15

CN216319947U Axle of model automobile


2021-10-22

CN216545535U Model car tire clamping structure and wheel for model car


2021-10-22

CN216222923U Simulation steering structure of model car and model car


2021-10-22

CN216418295U Model car suspension system and model car


2021-10-18

CN216222928U Driving controller and model car


2021-10-18

CN216242082U Two-gear speed change conversion structure and power assembly for model car


2021-10-18

CN216430451U Transmission, power assembly and model car


2021-04-13

CN214999308U Model automobile gearbox with good heat dissipation effect


2021-04-13

CN214971737U Movable seat structure of model automobile


2021-04-08

CN214475947U Trunk door of model car


2021-04-01

CN215025968U 模型汽车的车门结构


2021-03-26

CN214808425U Model automobile gearbox


Futaba Corporation / 双葉電子工業株式会社

Date de priorité

Numéro de publication et titre

Commentaires

2023-10-27

JP2025073777A DISPOSITIF DE CONTRÔLE


2023-10-27

JP2025073774A CIRCUIT D'ALIMENTATION


2023-10-27

JP2025073778A SYSTÈME DE COMMUNICATION ET DISPOSITIF DE CONTRÔLE


2023-10-27

JP2025073776A DISPOSITIF DE DIRECTION


2023-10-27

JP2025073775A SYSTÈME DE COMMUNICATION ET DISPOSITIF DE CONTRÔLE


2023-04-26

JP2024157847A UNITÉ GYRO ET SYSTÈME DE MANŒUVRE


2023-03-14

JP2024130389A DISPOSITIF DE COMMANDE, DISPOSITIF CONTRÔLÉ, SYSTÈME DE COMMUNICATION


2023-01-30

JP2024107889A RECEPTION DEVICE


2022-12-14

JP2024085285A SERVO SYSTEM AND SERVO DEVICE


2022-08-03

EP4316620A1 CONTROL DEVICE FOR MODEL CAR


2021-12-14

TW202322879A Servo motor device and movable mechanism


2021-10-21

JP2023066116A TRAVEL MANAGEMENT SYSTEM FOR OBJECT TO BE CONTROLLED AND RECEIVER


2021-10-06

JP2023055281A TOUCH SWITCH DEVICE


2021-09-02

JP2023036415A SERVO HORN AND SERVO DEVICE


2021-05-31

US2022379229A1 Steering Mechanism of Model Vehicle and Servo Motor for Steering


2021-04-28

JP2022170087A CONNECTION MEMBER AND RADIO CONTROL TRANSMITTER


2021-04-28

P2022170084A RADIO CONTROL TRANSMITTER


2021-04-28

JP2022170088A ROTARY OPERATION UNIT AND RADIO CONTROL TRANSMITTER


2021-04-28

JP2022170085A RADIO CONTROL TRANSMITTER


2021-04-28

JP2022170082A RADIO CONTROL TRANSMITTER AND GRIP COVER FOR THE RADIO CONTROL TRANSMITTER


2021-04-28

JP2022170081A RADIO CONTROL TRANSMITTER


2021-04-28

JP2022170083A RADIO CONTROL TRANSMITTER


2021-04-28

JP2022170089A RADIO CONTROL TRANSMITTER HOLDING AID AND RADIO CONTROL TRANSMITTER


2021-04-28

JP2022170086A RADIO CONTROL TRANSMITTER


2020-10-09

JP2022063060A INFORMATION PROCESSING DEVICE AND PROGRAM


2020-05-11

JP2021177805A RADIO-CONTROLLED STEERING SYSTEM


2019-09-09

US11150683B2 Radio-control transmitter


2018-01-30

US10636289B2 Radio control transmitter


2016-06-10

US2017357254A1 Parameter Setting Device


2016-04-27

JP2017200045A COMMUNICATION SYSTEM, TRANSMITTER, RECEIVER AND COMMUNICATION METHOD


2016-04-19

JP2017192493A COMMUNICATION CONTROL DEVICE


2014-09-03

US2016062355A1 Communication Device And Steered Device


2014-05-13

US2015330811A1 ANGLE DETECTING DEVICE AND SERVO APPARATUS USING SAME


2014-05-12

JP2015213658A RADIO CONTROL TRANSMITTER


2014-05-12

JP2015213659A RADIO CONTROL TRANSMITTER


2014-05-12

JP2015213660A RADIO CONTROL TRANSMITTER


2013-09-30

US9836954B2 Radio control transmitter


2012-10-09

JP2014076120A DRIVING DEVICE AND SERVO MOTOR DEVICE


2012-02-10

US9165459B2 Radio control transmitter


2011-12-06

US9199181B2 Controlling communication system


2011-09-22

US2013076494A1 Controlling Communication Device, Controlled Body Communication Device And Controlling Communication System


2011-09-22

US8729849B2 Motor control circuit and servo device provided with the same


2011-06-14

JP2013000224A SERVO DEVICE, AND REMOTE CONTROL DEVICE HAVING THE SAME


2011-05-28

JP2012245906A DRIVE CONTROL DEVICE OF REMOTE CONTROLLER


2011-05-09

JP2012232069A RADIO CONTROL DEVICE FOR TARGET OBJECT TO BE CONTROLLED


2009-10-09

JP2011078707A RADIO CONTROL RECEIVER


2010-09-29

US8660710B2 Radio control transmitter, a method for transmitting steering signal in the radio control transmitter


2008-10-06

JP2010088536A TRANSMITTER FOR RADIO CONTROL


2008-06-26

JP2010005121A RADIO-CONTROLLER FOR MODEL


2008-05-09

JP2009268796A SERVO DEVICE FOR MODEL


2007-12-25

US7936138B2 Motor controller for radio control


2007-09-28

US8290019B2 Radio controlled model apparatus, controller for radio controlled model apparatus, and frequency hopping pattern selection method


2007-03-27

JP2008237528A RADIO CONTROL TRANSMITTER FOR MODEL


2007-03-27

JP2008237527A RADIO CONTROL TRANSMITTER FOR MODEL


2006-10-11

US7612507B2 Motor controller


2006-04-26

US7667424B2 Servo device


2004-12-10

US2006131148A1 Dustproof structure for an electronic equipment


2004-10-01

US7250844B2 Stick lever unit for radio controlled device and radio controlled device equipped with the same


2004-10-01

JP2006102011A RADIO CONTROLLED TRANSMITTER


2004-09-30

US7256679B2 Stick lever units


2004-09-30

JP2006128620A STICK LEVER UNIT


2004-09-30

JP2006095234A STICK LEVER UNIT


2004-02-04

JP2005218552A RADIO CONTROL SYSTEM FOR MODEL


2003-11-07

JP2005137652A TRANSMITTER FOR REMOTE CONTROLLED MODEL AIRCRAFT WITH SOUND RECORD/REPLAY FUNCTION


2003-02-17

JP2004243026A SERVO SYSTEM FOR RADIO CONTROL


2002-05-15

US7102561B2 Radio control transmitter


2002-05-10

JP2003325995A RADIO CONTROLLER


2002-04-18

JP2003314577A SERVO DEVICE


2002-04-08

JP2003301753A ELECTRIC FUEL PUMP FOR MODEL


2002-04-08

JP2003304636A CONTROL CIRCUIT FOR RADIO CONTROL


1999-07-22

JP2001029669A STEERING DEVICE FOR MODEL AUTOMOBILE

Un servo de direction dédoublé pour ajuster électroniquement l'ackermann et le pincement ou l'ouverture

1999-03-29

JP2000278158A RECEIVER FOR RADIO CONTROL


1998-08-28

JP2000073928A PLUG IGNITION CONTROL DEVICE FOR MODEL ENGINE


1998-07-13

JP2000024334A RADIO CONTROL DEVICE


1998-07-08

JP2000024333A RADIO CONTROL DEVICE FOR MODEL


1998-05-15

JP3114696B2 FUEL ADJUSTING DEVICE AND FUEL INJECTION DEVICE FOR MODEL ENGINE


1998-05-15

JP3075258B2 DEVICE AND METHOD FOR CONTROLLING MODEL ENGINE


1997-06-18

JPH114974A D.C.MOTOR CONTROL CIRCUIT


1997-06-18

JPH114976A SERVOMOTOR CONTROL DEVICE


1997-06-18

JPH114975A D.C.MOTOR CONTROL CIRCUIT


1997-06-18

JPH114973A CONTROL CIRCUIT OF SERVOMOTOR


1997-04-22

JPH10295950A REMOTE CONTROL TRANSMITTING DEVICE


1997-04-18

JPH10290888A POWER SOURCE UNIT AND RADIO-CONTROLLED MODEL DEVICE


1997-04-08

JPH10285971A SERVOMOTOR DEVICE


1997-03-14

JPH10257794A SERVO MOTOR ASSEMBLY AND REMOTE CONTROL RECEIVING DEVICE


1997-02-19

JPH10230083A MANEUVERING RADIO EQUIPMENT FOR RADIO CONTROL MODEL AND RADIO EQUIPMENT FOR MODEL


1997-02-19

JPH10230084A RADIO EQUIPMENT FOR MANEUVERING RADIO CONTROL MODEL, RADIO EQUIPMENT FOR MODEL AND MONITORING DEVICE FOR MANAGEMENT


1996-12-19

JPH10176623A FUEL INJECTOR FOR MODEL ENGINE


1996-11-14

TW344793B Fuel injection timing detection device for a model engine


1996-11-06

JP3327145B2 FUEL INJECTION DEVICE FOR MODEL ENGINE


1996-08-29

JP3047821B2 FUEL-PRESSURE CONTROL VALVE FOR MODEL ENGINE


1996-08-05

JPH1049036A RADIO CONTROLLER SIMULATOR


1997-07-23

US5975055A Engine for models


1996-06-19

US6079392A Fuel injection device for model engine


1996-06-11

JPH09327581A GOVERNOR DEVICE FOR MODEL ENGINE


1996-05-23

JPH09308776A TRIM SWITCH FOR RADIO-CONTROLLED TRANSMITTER


1996-04-19

US5829415A Fuel injector of engine for models and engine for models incorporated with the fuel injector


1996-04-19

US5870999A Fuel injector of an engine for models


1996-04-19

US5896845A Engine for models and method for controlling engine for models


1996-04-02

JPH09271077A TRIGGER STICK TYPE RADIO CONTROLLED TRANSMITTER


1995-11-27

JP3613860B2 SWITCH MECHANISM FOR RADIO CONTROL TRANSMITTER


1995-10-31

JPH09130880A SWITCH MECHANISM FOR RADIO CONTROL TRANSMITTER


1995-09-20

JP3873307B2 CONTROL DEVICE FOR GLOW ENGINE FOR MODEL


1995-08-09

JPH0953429A MODELING GLOW ENGINE AND CONTROLLER THEREOF


1995-08-03

JP2806313B2 PLL SYSTEM HIGH FREQUENCY MODULE AND TRANSMITTER OF RADIO CONTROL DEVICE


1995-07-14

JPH0928937A TRANSMITTER FOR FREQUENCY SYNTHESIZER TYPE RADIO CONTROL AND RADIO CONTROL SYSTEM


1995-06-30

JPH0918361A HIGH FREQUENCY MODULE FOR RADIO CONTROLLED TRANSMITTER


1995-05-29

JPH08331657A SERVO DEVICE


1995-05-17

JPH08312420A CONTROL METHOD AND DEVICE OF MODEL ENGINE


1995-04-17

JP2809127B2 RADIO CONTROLLER WITH SENSOR


1995-04-17

JP2809128B2 RADIO CONTROLLER


1995-04-17

KR100230970B1 RADIO CONTROLLER


1995-04-04

JPH08280072A TRIMMING DEVICE FOR RADIO CONTROLLER


1995-03-20

JPH08257250A ENGINE REVOLUTION CONTROLLER FOR MODEL


1994-12-22

JP3011039B2 HIGH FREQUENCY MODULE


1994-12-22

JP3011040B2 PLL SYSTEM HIGH FREQUENCY MODULE


1994-12-22

JP3211599B2 RADIO CONTROL TRANSMITTER


1994-12-22

JP3211600B2 PLL SYSTEM HIGH FREQUENCY MODULE


1994-10-05

JP2861824B2 RADIO CONTROL TRANSMITTER


1994-10-05

JPH08103572A STICK LEVER DEVICE


1994-08-25

JP2713181B2 REMOTE CONTROLLER


1994-08-25

JPH0857160A REMOTE CONTROLLER

Application spécifique pour la commande des gaz d'une voituire R/C.
Déposant: Futaba Corporation (双葉電子工業株式会社).

1994-08-25

JPH0851672A RECEIVER FOR RADIO CONTROL


1993-07-23

JP2748827B2 RADIO CONTROL TRANSMITTER


1993-05-31

JPH06339582A REGULATING DEVICE FOR RADIO CONTROL TRANSMITTER


1993-04-30

JP2773017B2 MOTOR CONTROLLER FOR RADIO CONTROL


1993-04-28

JPH0680493U モータコントローラ

Traduction automatique du titre: "Contrôleur de moteur".
Le document concerne un variateur électronique pour moteur à charbons pour voitures radiocommandées dont la conception permet d'améliorer la dissipation thermique d'un contrôleur de moteur en utilisant le boîtier lui-même comme dissipateur de chaleur.Déposant: Futaba Corporation (双葉電子工業株式会社).

1992-11-27

US5408149A Power control circuit for electronic equipment


1992-09-25

JPH0631232U 高周波モジュール及び該モジュールを用いたラジオコン トロール装置の送信機

Traduction automatique du titre: "Module haute fréquence et émetteur pour dispositif de radiocommande utilisant ledit module".
Le document concerne un module haute fréquence de radiocommande conçu pour être interchangeables sur l'émetteur. L'émetteur possède des bornes spécifiques qui assurent la connexion électrique avec le module inséré, de sorte à pouvoir régler la fréquence du canal utilisable dans un pays donné simplement en changeant le module haute fréquence.
Déposant: Futaba Corporation (双葉電子工業株式会社).

1992-07-15

JPH069697U ラジオコントロール装置の受信機

Traduction automatique du titre: "Récepteur pour dispositif de radiocommande".
Déposant: Futaba Corporation (双葉電子工業株式会社).

1992-07-15

US5608758A Radio control device having crystal high frequency module and high frequency phase lockloop for selective use, modules detachably mounted


1992-07-15

GB2301962A A receiver for a radio control device


1992-04-02

JPH0578295U ラジオコントロール装置の受信機 

Traduction automatique du titre: "Récepteur pour dispositif de radiocommande".
Déposant: Futaba Corporation (双葉電子工業株式会社).

1992-02-05

JPH0563596U 

Radiocommande Futaba

1991-11-29

JPH0548997U (ラジオコントロール装置の送信機)

Trim de radiocommande facile à utiliser et minimisant les erreurs de manipulation. Traduction automatique du titre en japonais: "Émetteur pour dispositif de radiocommande". Déposant de la demande de brevet: Futaba Corporation.

1991-11-29

JPH0611797U ラジオコントロール装置の送信機

Traduction automatique du titre: "Émetteur pour dispositif de radiocommande".
Déposant: Futaba Corporation (双葉電子工業株式会社).

1991-08-09

US5301568A Stick lever device


1991-08-09

JPH0517719U  (ステイックレバー装置)

Radiocommande. Traduction automatique du titre en japonais: "Dispositif à levier de commande". Déposant de la demande de brevet: Futaba Denshi Kogyo Co., Ltd. (Futaba Corporation)

1991-08-09

JPH0518187U (ラジオコントロール装置のステイック装 置)

Radiocommande. Traduction automatique du titre en japonais: ispositif de manche pour appareil de radiocommande". Déposant de la demande de brevet: Futaba Denshi Kogyo Kabushiki Kaisha (Futaba Corporation).

1990-04-05

JPH03126196U ラジオコントロール送信機 

Traduction automatique du titre: "Émetteur de radiocommande".
Déposant: Futaba Corporation (双葉電子工業株式会社).

1990-01-12

JPH0394099U モータ駆動回路

Traduction automatique du titre: "Circuit d'entraînement de moteur".
Déposant: Futaba Corporation (双葉電子工業株式会社).

1989-12-27

JPH0391094U ラジオコントロール模型用モータ駆動回路

Traduction automatique du titre: "Circuit d'entraînement de moteur pour modèles radiocommandés".
Déposant: Futaba Corporation (双葉電子工業株式会社).

1989-12-27

US5150027A Motor drive circuit for radio-controlled model


1989-08-04

US5280634A Radio control transmitter with variable function switches


1989-08-04

JPH0332883U ラジコン送信機

Traduction automatique du titre: "Émetteur de radiocommande".
Déposant: Futaba Corporation (双葉電子工業株式会社).

1989-07-13

JPH0322488U ラジコン送信機

Traduction automatique du titre: "Émetteur de radiocommande".
Déposant: Futaba Corporation (双葉電子工業株式会社)

1989-07-13

US5408689A Radio control transmitter for use with a model toy unit and including variably selectable operation function modes


1989-07-13

JPH0322487U ラジコン送信

Traduction automatique du titre: "Émetteur de radiocommande".
Déposant: Futaba Corporation (双葉電子工業株式会社).

1988-05-17

JPH01167300U 考案の名称: ラジコン送信機

Traduction automatique du titre: "Émetteur de radiocommande".
Déposant: Futaba Corporation (双葉電子工業株式会社).

1987-05-13

JPS63181080U ラジコン送信機用タイマ装置

Traduction automatique du titre: "Dispositif de minuterie pour émetteur de radiocommande".
Déposant: Futaba Corporation (双葉電子工業株式会社).

1989-03-23

US4954820A Transmitter for radio control system


1988-12-19

JPH0288498U ラジオコントロールモータ制御回路

Traduction automatique du titre: "Circuit de commande de moteur pour radiocommande (RC)".
Déposants: Futaba Corporation (双葉電子工業株式会社) et Rohm Co., Ltd. (ローム株式会社), entreprise connue avant 1981 sous le nom de Toyo Electric Equipment Manufacturing Co., Ltd.

1988-07-30

JPH0224693U ラジコン送信機

Traduction automatique du titre: "Émetteur de radiocommande".
Déposant: Futaba Corporation (双葉電子工業株式会社).

1988-07-30

JPH0224696U ラジコン送信機

Traduction automatique du titre: "Émetteur de radiocommande".
Déposant: Futaba Corporation (双葉電子工業株式会社).

1988-07-30

JPH0224695U ラジコン送信機

Traduction automatique du titre: "Émetteur de radiocommande".
Déposant: Futaba Corporation (双葉電子工業株式会社).

1988-03-24

US4954820A Transmitter for radio control system

Les figures illustrant l'état antérieur de l'invention montrent une radio à volant Futaba Colt. Déposant: Futaba Corporation.

1988-03-04

JPH01132190U ラジコン送信機

Traduction automatique du titre: "Émetteur de radiocommande".
Le document porte sur un système de réglage du trim via des boutons poussoirs.
Déposant: Futaba Corporation (双葉電子工業株式会社).

1988-02-17

US5461373A Radio control transmitter


1987-10-20

JPH0165098U  ラジコン用送信機

Traduction automatique du titre: "Émetteur pour radiocommande".
Les figures montrent une radio à volant Futaba Colt.
Déposant: Futaba Corporation (双葉電子工業株式会社).

1987-10-14

JPH0649028Y2 ラジコン送信機用ミキシング回路

Traduction automatique du titre: "Circuit de mixage pour émetteur de radiocommande".
Déposant: Futaba Corporation (双葉電子工業株式会社).

1987-10-13

JPH0623358Y2 ラジコン送信機

Traduction automatique du titre: "Émetteur pour radiocommande".
Les figures montrent une radio à volant Futaba Colt.
Déposant: Futaba Corporation (双葉電子工業株式会社).

1987-10-02

JPH0193293A RECEIVER FOR RADIO CONTROL


1987-10-02

JPH0193292A RECEIVER FOR RADIO CONTROL


1987-07-14

JPH0441647Y2 ラジオコントロール送信機用波形変換回 路

Traduction automatique du titre: "Circuit de conversion de forme d'onde pour émetteur de radiocommande".
Déposant: Futaba Corporation (双葉電子工業株式会社).

1987-07-11

US4916446A Remote control device


1987-04-24

JPH062190B2 RADIO CONTROL TRANSMITTER


1987-04-22

JPS63169788U ラジオコントロール装置の送信機

Traduction automatique du titre: "Transmetteur pour dispositif de radiocommande".
Les figure montre une émetteur de radiocommande à manches.
Déposant: Futaba Corporation (双葉電子工業株式会社).

1987-01-30

JPH0558353B2 TRANSMITTER FOR RADIO-CONTROLLER


1985-11-25

JPH0467479B2 TRIM CONTROL APPARATUS IN RADIO REMOTE OPERATION APPARATUS SUCH AS MODEL AIRPLANE


1985-11-22

JPH0446800Y2 ラジコン装置用スティック装置

Traduction automatique du titre: "Dispositif de manche pour radiocommande".
Déposant: Futaba Corporation (双葉電子工業株式会社).

1985-11-22

JPH048958Y2 模型用ラジオコントロール装置の送信機

Traduction automatique du titre: "Émetteur pour dispositif de radiocommande de modèles réduits".
Déposant: Futaba Corporation (双葉電子工業株式会社).

1985-11-19

JPS6284495U  回転計付ラジコン送信機

Traduction automatique du titre: "Émetteur de radiocommande avec tachymètre intégré".
Déposant: Futaba Corporation (双葉電子工業株式会社).

1985-08-27

US4687975A Motor control with radio control device


1985-04-16

JPS61239796A FAIL SAFE DEVICE FOR RADIO CONTROLLER


1985-04-01

JPS61166605U アンテナのリボンホルダー

Traduction automatique du titre: "Porte-ruban pour antenne".
Ce dispositif permettait aux modélistes (avions, voitures RC) d'identifier facilement la fréquence utilisée par leur télécommande grâce à un ruban de couleur, évitant ainsi les interférences avec d'autres utilisateurs sur le terrain.
Déposant: Futaba Corporation (双葉電子工業株式会社).

1984-12-20

JPS61147314A MOTOR SERVO DEVICE


1983-10-03

JPS6061097U ラジコン送信機

Traduction automatique du titre en japonais: "Émetteur de radiocommande".
Déposant de la demande de brevet: Futaba Corporation (双葉電子工業株式会社).

1983-05-21

JPS602598U ラジコン用モータサーボ

Traduction automatique du titre: "Servomoteur pour modèle réduit radiocommandé".
Déposant: Futaba Corporation.

1983-04-19

JPS59194201A INPUT OPERATION DEVICE


1983-04-14

JPS59161264U ラジコン送信機の電池ボックス

Traduction automatique du titre en japonais: "Boîtier de piles pour émetteur de radiocommande".
Les figures illustrant l'invention montrent une radio à volant Futaba Colt, et celle illustrant l'état de la technique montre ce qui semble être une KoPropo EX1.
Déposant de la demande de brevet: Futaba Corporation (双葉電子工業株式会社).

1983-03-26

JPS59150496U ラジコン送信機のトリガー形ステック機 構

Traduction automatique du titre en japonais: "Mécanisme de manche à balai de type gâchette pour émetteur de radiocommande".
Les figures illustrant l'invention montrent une radio à volant Futaba Colt, et celles illustrant l'état de la technique montrent ce qui semble être une KoPropo EX1 et un autre émetteur à manche d'origine inconnue.
Déposant de la demande de brevet: Futaba Corporation (双葉電子工業株式会社).

1983-03-22

JPS59145996U 回転グリップ式ラジコン送信機

Traduction automatique du titre en japonais: "Émetteur de radiocommande à poignée rotative".
Les figures illustrant l'invention montrent une radio à volant Futaba Colt, et celle illustrant l'état de la technique montre ce qui semble être une KoPropo EX1.
Déposant de la demande de brevet: Futaba Corporation (双葉電子工業株式会社).

1982-12-22

JPS59145995U 入出力信号変換装置

Traduction automatique du titre: "Dispositif de conversion de signaux d'entrée/sortie.
Déposant: Futaba Corporation.

1982-04-23

JPS58162895U ラジコン送信機のリバース装置

Traduction automatique du titre en japonais: "Dispositif d'inversion pour émetteur de radiocommande".
Déposant de la demande de brevet: Futaba Corporation (双葉電子工業株式会社).

1982-04-23

JPS58162894U ラジコン装置の送信機 

Traduction automatique du titre en japonais: "Émetteur pour dispositif de radiocommande".
Déposant de la demande de brevet: Futaba Corporation (双葉電子工業株式会社 ).

1982-04-21

JPS58160100U ラジコン装置の送信機

Traduction automatique du titre en japonais: "Émetteur pour dispositif de radiocommande".
Déposant de la demande de brevet: Futaba Corporation (出願人 (双葉電子工業株式会社).

1982-04-20

JPS58160099U ラジコン機器のウォーミングアップ装 置 

Traduction automatique du titre en japonais: "Dispositif de préchauffage pour équipement de radiocommande".
Déposant de la demande de brevet: Futaba Corporation (出願人 (双葉電子工業株式会社).

1982-04-10

JPS58153894U ラジオコントロール用サーボ装置

Traduction automatique du titre en japonais: "Dispositif de servo pour radiocommande".
Déposant de la demande de brevet: Futaba Corporation (出願人 双葉電子工業株式会社).

1982-01-12

JPS58105394U ラジコン用送信機

Traduction automatique du titre en japonais: "Emetteur pour radiocommande".
Déposant de la demande de brevet: Futaba Corporation (出願人 双葉電子工業株式会社).

1981-11-19

JPS5877796U ラジコン装置用スティック装置

Traduction automatique du titre en japonais: "Dispositif de stick pour appareil de radiocommande".
Déposant de la demande de brevet: Futaba Corporation (双葉電子工業株式会社).

1981-04-17

JPS57169394U ラジオコントロール装置の送信機

Traduction automatique du titre en japonais: "Émetteur pour dispositif de radiocommande". Déposant de la demande de brevet: Futaba Denshi Kōgyō Kabushiki Kaisha (実用新案登録出願人).

1981-04-16

JPS57169393U (ステックレバーの自動復帰装置) (A spring member for automatically returning a stick lever connected to a movable member for controlling the rotation of a variable resistor in a radio control device)

Traduction automatique du titre en japonais: "Dispositif de réinitialisation automatique pour levier de commande". Déposant de la demande de brevet: Sogyo Denshi Kogyo Co., Ltd. (双業電子工業株式会社), soit Futaba

1980-12-27

JPS57131708U  ラジオコントロール用サーボ装置

Servo. Traduction automatique du titre en japonais: "Dispositif d'asservissement (servo) pour appareil de radiocommande". Déposant de la demande de brevet: Futaba Electronics Industrial Co., Ltd. (双葉電子工業株式会社).

1980-12-06

JPS5797115A REMOTE CONTROLLER


1980-08-04

JPS5734292U 可変抵抗回路

Traduction automatique du titre: "Circuit à résistance variable".
Déposant: Futaba Corporation (双葉電子工業株式会社).

1980-07-17

JPS5723399U ラジオコントロール装置のサーボ装置

Traduction automatique du titre: "Servomécanisme pour dispositif de radiocommande".
Déposant: Futaba Corporation (双葉電子工業株式会社).

1980-07-01

JPS5717697U ラジオコントロール装置の送信機

Traduction automatique du titre: "Émetteur pour dispositif de radiocommande".
Déposant: Futaba Corporation (双葉電子工業株式会社).

1980-05-20

JPS56172110U ラジオコントロール装置の反転回路

Traduction automatique du titre: "Circuit d'inversion pour dispositif de radiocommande".
Déposant: Futaba Corporation (双葉電子工業株式会社).

1980-04-26

JPS56160035U  パルス幅-電圧変換回路

Traduction automatique du titre: "Circuit de conversion largeur d'impulsion - tension".
Le document concerne un circuit de conversion largeur d'impulsion - tension qui convertit des impulsions d'entrée répétées en une valeur de tension correspondant à la largeur de ces impulsions qui est utilisée comme circuit de conversion du côté réception d'un dispositif de radiocommande permettant de piloter à distance un modèle réduit mobile par ondes radio.
Déposant: Futaba Corporation (双葉電子工業株式会社).

1979-09-25

JPS5650494U パルス幅-電圧変換回路

Traduction automatique du titre: "Dispositif de servomoteur pour équipement de radiocommande".
Déposant: Futaba Corporation (双葉電子工業株式会社).

1979-04-05

JPS55143897U ラジオコントロール装置の送信機

Traduction automatique du titre en japonais: "Émetteur pour dispositif de radiocommande".
Déposant de la demande de brevet: Futaba Denshi Kogyo K.K. (名称:双葉電子工業株式会社).

1978-09-09

JPS5540290U ラジオコントロール装置のサーボ装置

Servo. Traduction automatique du titre en japonais: "Dispositif d'asservissement (servo) pour appareil de radiocommande". Déposant de la demande de brevet: Futaba Denshi Kōgyō K.K. (双葉電子工業株式会社).

1979-06-11

JPS55179006U (可変抵抗器の制御装置)

Manche de radiocommande. Traduction automatique du titre en japonais: "Dispositif de commande pour résistance variable". Déposant de la demande de brevet: Futaba Denshi Kogyo Co., Ltd. (双葉電子工業株式会社).

1978-10-19

JPS5556204A TRANSMITTER OF RADIO CONTROLLER


1978-07-04

JPS559273A RECEIVER FOR RADIO CONTROL UNIT


1978-05-19

JPS54150574A TRANSMITTER FOR RADIO CONTROL DEVICE


1977-04-22

JPS53147989U ラジコン装置の調整装置

Traduction automatique du titre en japonais: "Dispositif de réglage pour appareils radiocommandés".

1976-05-31

JPS52160494U ラジオコントロール装置の送信機

Traduction automatique du titre en japonais: "Émetteur pour dispositif de radiocommande".

1975-11-08

JPS5285590U ラジコン用送信機のステレバー

Traduction automatique du titre en japonais: "Levier de commande pour émetteur de radiocommande".

1975-09-12

JPS5241281U ラジコン用送信機のステック機構

Traduction automatique du titre en japonais: "Mécanisme de manche pour émetteur de radiocommande".

1975-08-09

JPS5225090U (ラジコン操作用ステック機構 の変角装置) (deflection device for an operation stick mechanism that can be incorporated into a transmitter in a radio control)

Traduction automatique du titre en japonais: "Dispositif à angle variable pour mécanisme de manette de commande radio". Déposant de la demande de brevet: Futaba Denshi Kogyo Co., Ltd. (双葉電子工業株式会社).

1975-06-09

JPS51157296U ラジコンアンテナのリボンホルダー

Traduction automatique du titre en japonais: "Support de ruban pour antenne radio-commandée".

1974-04-12

JPS50132195U サーボ機構の緩衝装置

Traduction automatique du titre en japonais: "Mécanisme d'amortissement de servomécanisme". Déposant de la demande de brevet: Futaba Denshi Kogyo Co., Ltd. (双葉電子工業株式会社).

1974-02-15

JPS50108596U サーボ機構のトルクリミッター

Traduction automatique du titre en japonais: "Limiteur de couple pour servomécanisme". Déposant de la demande de brevet: Futaba Denshi Kogyo Co., Ltd. (双葉電子工業株式会社).




Gakken Co. Ltd / 株式会社学習研究社

Date de priorité

Numéro de publication et titre

Commentaires

1988-06-29

JPH0617500Y2 無線操縦走行玩具

Traduction automatique du titre: "Jouet télécommandé capable de rouler".
Ce document décrit un mécanisme de redressement pour un véhicule radiocommandé, conçu pour relever automatiquement le véhicule lorsqu'il se retourne, en utilisant un signal radio de marche arrière.
Déposant: Gakken Co., Ltd. (株式会社学習研究社).

1987-06-15

JPS63200495U  操縦走行玩具の操舵装置

Traduction automatique du titre en japonais: "Dispositif de direction pour jouet télécommandé".
Déposant: Gakken Co., Ltd. (株式会社学習研究社).

1986-06-23

JPH0354793Y2 無線操縦走行玩具の方向変換装置

Traduction automatique du titre en japonais: "Dispositif de changement de direction pour jouet roulant radiocommandé".
Déposant: Gakken Co., Ltd. (株式会社学習研究社).

1977-03-08

JPS5342795U 走行玩具の方向転換装置

Traduction automatique du titre en japonais: "Dispositif de changement de direction pour jouets roulants".
Déposant: Gakken Co., Ltd. (株式会社学習研究社).

1967-05-02

JPS443660Y1 玩具自動車のかじ取装置

Déposant: Kabushikigaisha Gakushukenkyusha (株式会社学習研究社) soit Gakken Co., Ltd., une entreprise japonaise créée à Tokyo en 1946 spécialisée dans les jeux éducatifs électroniques.
Traduction automatique du titre en japonais: "Mécanisme de direction pour voiture jouet radiocommandée".

1966-11-14

JPS4326031Y1 玩具自動車のかじ取装置

Déposant: Kabushikigaisha Gakushukenkyusha (株式会社学習研究社) soit Gakken Co., Ltd., une entreprise japonaise créée à Tokyo en 1946 spécialisée dans les jeux éducatifs électroniques.
Traduction automatique du titre en japonais: "Dispositif de direction d'une voiture jouet télécommandée".

GMade / 주식회사 지메이드코리아

Date de priorité

Numéro de publication et titre

Commentaires

2017-06-16

KR101909019B1 RC Transmission for RC car


GM Racing

Date de priorité

Numéro de publication et titre

Commentaires

1996-10-02

US6241574B1 Device to influence the driving performance of a remote-controlled model vehicle

Trouvé avec le nom de l'inventeur. Co-déposé avec Graupner

1996-10-02

WO9814253A1 DEVICE TO INFLUENCE THE DRIVING PERFORMANCE OF A REMOTE-CONTROLLED MODEL VEHICLE

Le fameux variateur électronique révolutionnaire avec gyroscope intégré qui a été de suite interdit en compétition? Co-déposé avec Graupner

1996-04-24

WO9740544A1 METHOD FOR REDUCING THE INTERNAL RESISTANCE OF RECHARGEABLE BATTERIES

Méthode de boostage pour les batteries NiCd. Deposé sous le nom GM Racing.

1996-04-24

CN1117409C Method for reducing internal resistance of rechargeable batteries

Méthode de boostage pour les batteries NiCd (avec comme demandeur Sanyo également). Trouvé avec un des noms d'inventeur.

Go Engine

Date de priorité

Numéro de publication et titre

Commentaires

2014-07-29

CN105317580A Radiator of fuel engine of remote control model

Moteur thermique

2014-07-22

TW201604515A Heat dissipating device for fuel engine of remote-control model

Moteur thermique

2014-09-16

CN204152675U Carburetor of small gasoline engine

Moteur thermique

2014-07-29

CN204024838U Heat-dissipating device of remote control model fuel oil engine

Moteur thermique

2014-08-22

TWM491082U Carburetor improvement of compact gasoline engine

Moteur thermique

2014-07-22

TWM489199U Heat dissipation device for remote-control model fuel engine

Moteur thermique

2014-05-12

CN203835519U Cooling structure of small fuel engine

Moteur thermique

2014-04-30

TWM484858U Heat dissipating structure of compact fuel engine

Moteur thermique

2008-10-21

CN201277105Y End cap of model engine

Moteur thermique

2008-08-27

TWM353039U Back cover of model engine

Moteur thermique

Golden Lion

Date de priorité

Numéro de publication et titre

Commentaires

2022-08-26

TWM635078U Tire structure of off-road model car


2017-03-21

US2018274438A1 Gasoline Engine with Glow Plug Heater for a Model Car

Moteur thermique

2017-03-10

CN206571615U Model petrol engine of utensil preheating effect's heating wire ignition

Moteur thermique

2017-02-02

TWM540675U Model gasoline engine with electro-heating wire ignition of preheating effect

Moteur thermique

2015-12-28

TWM520177U Oil lubrication with storage structure for engine pistons model

Moteur thermique

2015-04-15

TWM504630U Improved tire inner liner structure for model car

Moteur thermique

2014-02-20

US9068505B1 Heat dissipation type starting fly wheel of a model vehicle gasoline engine

Moteur thermique

2014-02-14

CN203694604U Heat dissipation type start flywheel improved structure of gasoline engine of model vehicle

Moteur thermique

2014-01-29

US8967111B1 Oil collection and forced lubrication structure of a model engine crankshaft

Moteur thermique

2014-01-09

US2015192063A1 CYLINDER LINER USED FOR MODEL ENGINE

Moteur thermique

2013-12-13

TWM477016U Oil lubrication structure of model engine cylinder sleeve

Moteur thermique

2013-12-11

TWM474808U Oil collection forced lubrication structure of crank shaft of model engine

Moteur thermique

2013-08-23

TWM475989U Heat dissipation type starting flywheel structural improvement of model car gasoline engine

Moteur thermique

2013-08-21

TWM468879U Improved heat dissipation head structure of gasoline engine for model car

Moteur thermique

2012-07-18

DE202012102665U1 Brennkammeraufbau mit einem Vorwärmungsnetz und einer Zündkerze für den Entzündungsvorgang

Moteur thermique

2012-07-11

CN202673444U Combustion chamber structure for igniting by utilizing preheating network and ignition plug

Moteur thermique

2012-06-15

DE202012102209U1 Modellvergaser mit der Funktion zur automatischen Einstellung von Kraftstoffanteil bei Verzögerung

Moteur thermique

2012-06-14

CN202628313U Model engine carburetor capable of automatically adjusting fuel amount during speed reduction

Moteur thermique

2012-05-23

TWM443068U Model engine carburetor with automatic oil regulation when deceleration occurs

Moteur thermique

2012-09-05

US8511649B1 Engine model carburetor

Moteur thermique

2012-05-02

TWM441718U Structure of combustion chamber featuring ignition by preheating net and spark plug

Moteur thermique

2012-04-18

CN202789279U Electric starter structure of model engine

Moteur thermique

2012-03-14

TWM434826U Electro starter structure of model engine

Moteur thermique avec démarreur intégré

2010-01-13

TWM381214U Spark plug of model engine


2007-09-03

US2009057930A1 CARBURETOR OF A REMOTE CONTROL MODEL


2007-08-30

DE202007012035U1 Vergaser für ein Fernsteuerungsmodell

Moteur thermique

2007-08-23

DE202007011787U1 Bremsverhältniseinstellvorrichtung für ein ferngesteuertes Modellauto


2007-08-02

US2009033143A1 BRAKING RATIO DEVICE FOR A REMOTE CONTROL MODEL CAR


2007-07-19

DE202007010081U1 Puffervorrichtung für den Ausleger eines ferngesteuerten Modellautos


2007-07-19

DE202007010080U1 Befestigungs- und Verbindungsvorrichtung für die Bremsscheibe eines ferngesteuerten Modellautos


2007-07-18

TWM323328U Improved structure for remote-control model engine carburetor

Moteur thermique

2007-06-22

US2008314698A1 Fixing and combining device for the brake disc of a remote-controlled model car


2007-05-31

TWM325148U Brake distributing device for remote car


2007-05-17

TWM320423U Cushion structure of cantilever for remote-controlled model vehicle


2007-05-09

TWM319073U Fixation and assembling structure of brake disc of remote control racing car


2007-04-30

TWM320422U Combination structure of rim and wheel axle for remote-controlled model vehicle


2007-04-23

TWM320466U Tool for remote control model


2007-01-29

TWM315600U Structure of clutch disc of model engine


2006-08-25

US2008047518A1 STARTING DEVICE FOR A MODEL ENGINE


2006-08-10

FR2904859A3 Scale model motor starting device, has functional unit with cord wheel adjusted on starting shaft and comprising inner side reamed with grooves that engage with engaging teeth of engaging wheel of electrical functioning unit


2006-08-04

DE202006011955U1 Starting device for model vehicle motor has engagement wheel of electric operating unit provided with axially and eccentrically cut engagement slots which accommodate engagement teeth which mesh with slots in rope pulley


2006-05-30

TWM301082U Starting device of model engine


2005-06-15

FR2887314A3 Bumper for a remote controlled model car comprises a sealing body arranged on a part of the upper side of a plunger of a plunger rod and an elastic part which lies on the flow feeding hole of the plunger to rotate minimally upward


2005-05-24

DE202005008131U1 Bumper for a remote controlled model car comprises a sealing body arranged on a part of the upper side of a plunger of a plunger rod and an elastic part which lies on the flow feeding hole of the plunger to rotate minimally upward


2005-05-06

US2006249341A1 Shock absorber for a remote-controlled model car


2005-04-19

CN2784055Y Shock eliminator of remote control model vehicle


2005-03-21

TWM272574U Shock absorber for use in remote-controlled model car


2004-03-03

US2005193540A1 Special tool for assembling & disassembling a remote -controllable model-car engine clutch


2004-01-06

TWM252510U Assembly/disassembly tool for clutch of remote-controlled model engine


2000-06-05

TW423621U Booster structure for crankshaft for engine model


1999-07-27

FR2797049A3 Temperature indicator for motor of e.g. model car


1998-04-13

TW369084U Temperature indicating device for model engine


Grani & Partners

Date de priorité

Numéro de publication et titre

Commentaires

2013-12-02

WO2015083054A1 MODEL CAR OF A RADIO-CONTROLLED VEHICLE WITH COMBUSTION ENGINE


Graupner

Date de priorité

Numéro de publication et titre

Commentaires

2006-02-01

DE202006001820U1 Hybrid drive combining internal combustion engine and electric motor, used for car model building, includes energy management system optimizing torque division


1996-10-02

WO9814253A1 DEVICE TO INFLUENCE THE DRIVING PERFORMANCE OF A REMOTE-CONTROLLED MODEL VEHICLE

Le fameux variateur électronique révolutionnaire avec gyroscope intégré qui a été de suite interdit en compétition? Co-déposé avec GM Racing.

1996-10-02

US6241574B1 Device to influence the driving performance of a remote-controlled model vehicle

Trouvé avec le nom de l'inventeur. Co-déposé avec GM Racing.

1992-07-29

DE9210132U1 Stromquelleneinrichtung für Flugmodelle, Schiffsmodelle, Automodelle oder dergleichen


1988-10-05

DE3833841A1 Radio remote control device

Pour écolage

1988-10-05

DE8812526U1 Steuerbares Modell, wie Flug-, Fahrzeug- oder Schiffsmodell


1979-04-27

DE3012017A1 Model motorcycle with remote controlled steering - has connecting block with swivel bearing for front wheel fork and steering rudder actuated by remote control signals

Moto R/C

1974-04-23

DE2419399A1 Scavenging of two-stroke combustion engine - from crank case via valves in piston crown


1969-07-30

DE6930078U GEHAEUSE FUER STABANTENNEN TRAGENDE BEFEHLSGEBER VON MODELLEN.


1965-11-02

DE1935934U PULTGEHAEUSE FUER EINEN SENDER ZUM FERNSTEUERN VON FLUG- UND SCHIFFSMODELLEN.


1964-02-21

DE1900943U ELEKTROMOTORISCHE ANTRIEBSVORRICHTUNG FUER RUDER VON LENKBAREN FLUG-, SCHIFFS- UND FAHRMODELLEN.


1964-02-21

DE1478421A1 Elektromotorischer Antrieb fuer Ruder von lenkbaren Flug- Schiffs- und Fahrmodellen


Great Vigor Models

Date de priorité

Numéro de publication et titre

Commentaires

2009-06-18

TW201100152A Cooling device for a remote control car engine


2007-10-08

TW200916175A Rear rim axle seat angle-increasing device for a remote control car


2004-11-30

TW200507914A Clutch toning up method and disposing structure of remote-controlled model vehicle


2004-09-13

TWM265096U Arrangement structure of controlling case for toy vehicle


2004-08-27

TW200427493A Extendible driving shaft of toy car


2004-08-27

TW200427492A Forward-moving and backward-moving control device for toy car


2004-08-17

TW200427491A Modularized differential for toy car


2002-12-24

TW559111U Improved suspension structure of hobby vehicle


Green Co., Ltd. / 株式会社グリーン

Date de priorité

Numéro de publication et titre

Commentaires

1989-06-02

US4966569A Radio controlled two-wheeled vehicle toy

Moto R/C

1988-11-30

JPH0277097U 無線操縦式二輪車玩具

Moto R/C. Traduction automatique du titre: "Jouet de type véhicule à deux roues radiocommandé". Déposant: Green Co., Ltd. (株式会社グリーン).

1988-05-27

JPH01172791U  ラジオコントロール装置の送信機 

Traduction automatique du titre: "Émetteur pour dispositif de radiocommande".
Déposant: Green Co., Ltd. (株式会社グリーン).

1988-04-01

GB2217217A Steering arrangement for two-wheeled vehicle toy

Moto R/C

Grundig EMV

Date de priorité

Numéro de publication et titre

Commentaires

1980-02-02

DE8002768U1 FUNKFERNSTEUERSENDEANLAGE MIT IN ZUMINDEST EINER EBENE VERSCHWENKBAREM STEUERKNUEPPEL


1980-02-01

DE8002676U1 STEUERKNUEPPEL FUER EINE FUNKFERNSTEUERUNGSANLAGE


1979-01-30

EP0013685A1 Circuitry for recording, reproducing and handling remote radio control signals.


1977-07-13

FR2397763A1 PROCEDE DE COMMANDE DE VEHICULES, NOTAMMENT DE MODELES REDUITS RADIOGUIDES


1977-06-04

FR2392692A1 POSTE DE RADIOGUIDAGE DE MODELES REDUITS DE VEHICULES TERRESTRES, BATEAUX ET AVIONS


1977-02-18

DE2707007A1 Controller for radio controlled models - has potentiometer in series with two resistors which are short-circuited by two switches at wiper end positions


1977-02-05

DE2704878B1 Sender zur Funkfernsteuerung von beweglichen Objekten


1977-02-05

FR2379963A1 EMETTEUR DE TELECOMMANDE PAR RADIO DE MODELES REDUITS


1977-01-07

FR2377058A1 DISPOSITIF DE COMMANDE POUR VEHICULES, NOTAMMENT POUR MODELES REDUITS DE VEHICULES RADIOCOMMANDES


1977-01-07

DE2700360A1 Nonlinear vehicle control esp. for radio controlled models - using nonlinear control signal element requiring no switching, typically variable potentiometer


1969-11-22

FR2071652A5  Procédé de télecommande multiplex de modèles réduits


1965-12-30

DE1937388U STUFENLOS MIT EINEM SCHALTHEBEL ZU VERSTELLENDES DREHPOTENTIONMETER OD. DGL.


GUANGDONG QINGYI ZHIZAO CULTURE Co. Ltd. / GUANGDONG GREEN ART INTELLECTUAL MFG CULTURE LIMITED COMPANY / 广东青艺智造文化有限公司

Date de priorité

Numéro de publication et titre

Commentaires

2023-11-17

CN221506701U Assembly detection device of remote control toy car


2023-10-31

CN221136803U Remote control toy car plastic part injection molding device


2023-10-19

CN221513492U Steering structure of remote control toy car


2023-09-12

CN220899512U Universal joint device with front and back transmission for remote control car model


2023-09-06

CN220757960U Intelligent obstacle avoidance rear balancing device of remote control car


2023-08-28

CN220834115U Anti-collision processing device of wireless remote control car


2023-08-22

CN221130956U Head bouncing device of remote control car


2021-12-22

CN216752260U Remote control toy car circuit board processing device


2021-12-16

CN216732767U Remote control toy car tire production device


2021-12-16

CN217164937U Remote control toy car shell spraying device


2021-12-08

CN217180624U Assembly detection system of remote control toy car


2019-12-24

CN110975300A Deformable remote control car


2019-10-09

CN211251677U Remote control car circuit board silk-screen printing device


GUANGDONG PARKIE INTELLIGENT SCIENCE AND TECH Co. Ltd. / 广东派儿格智能科技有限公司

Date de priorité

Numéro de publication et titre

Commentaires

2022-04-06

CN114653072A Transmission device and toy car


GUANGDONG WEILI INTELLIGENT TECH Co. Ltd. / 广东伟力智能科技有限公司 / WL Model / WL Toys

Date de priorité

Numéro de publication et titre

Commentaires

2024-11-14

CN222195901U Remote control toy car with camera


2023-07-13

CN220306456U Direct insertion type battery assembly of electric toy car


2021-07-12

CN214861163U Toy car with good damping effect


2021-07-05

CN214808406U Overload protection device for high-speed remote control car


2021-02-01

CN214319119U Remote control handle capable of directly feeding back signals through potentiometer


2021-02-01

CN214176173U Toy car bottom battery device capable of realizing quick plugging


2021-07-05

CN214861158U High-speed remote control car with good anti-collision effect


2021-03-10

CN214597212U Toy four-wheel-drive car with shock absorption structure

Tout-terrain électrique

2021-06-29

CN215585464U Gun-shaped remote controller


Hangzhou Mokedi trade Co. Ltd. /杭州摩柯迪贸易有限公司

Date de priorité

Numéro de publication et titre

Commentaires

2023-10-11

CN220899511U Car model remote controller protection shell with mobile phone camera support


Hanzawa Corporation / 株式会社ハンザワ・コーポレーション

Date de priorité

Numéro de publication et titre

Commentaires

1992-04-08

JPH0582494U (自動車玩具の操向装 置) (steering apparatus having an improved clutch of automobile toy remote-operated)

Dispositif de direction pour un jouet automobile qui utilise la force motrice d'un petit moteur électrique pour diriger les roues via un embrayage, un mécanisme de réduction d'engrenage et un mécanisme de direction avec un ressort de rappel. Traduction automatique du titre en japonais: "Dispositif de direction pour jouet automobile". Déposant de la demande de brevet: Hanzawa Corporation (株式会社ハンザワ・コーポレーション).

1988-05-26

JPH01172894U 自動車玩具の操向装置

Traduction automatique du titre en japonais: "Dispositif de direction pour jouet automobile". Déposant de la demande de brevet: Hanzawa Corporation (株式会社ハンザワ・コーポレーション).

1988-04-26

JPH01159893U 自動車玩具の操向装置

Traduction automatique du titre en japonais: "Dispositif de direction pour voiture jouet". Déposant de la demande de brevet: Hanzawa Corporation (株式会社ハンザワ・コーポレーション).

1987-08-12

JPS6428690U 自動車玩具用操舵装置

Traduction automatique du titre en japonais: "Dispositif de direction pour jouets automobiles". Déposant de la demande de brevet: Hanzawa Corporation (株式会社ハンザワ・コーポレーション).

Heath Compagny

Date de priorité

Numéro de publication et titre

Commentaires

1975-10-30

US4177426A Radio control system with pluggable modules for changing system operating frequency


Hikotech Inc. / 株式会社ヒコテック

Date de priorité

Numéro de publication et titre

Commentaires

2022-02-24

JP2023123223A MAIN CHASSIS AND KIT FOR RADIO CONTROLLED CAR AND RADIO CONTROLLED CAR

Châssis de Drift

Hinode Denko Co., Ltd. /

Date de priorité

Numéro de publication et titre

Commentaires

1977-08-01

JPS5431892U ブロック方式ラジコン車のかじ取装置

Traduction automatique du titre: "Dispositif de commande de direction pour voiture télécommandée de type proportionnel".
Le document décrit un système de direction pour voitures télécommandées utilisant un moteur et un engrenage à vis sans fin.
Déposant: Hinode Denko Co., Ltd. (日乃出電工株式会社).

Hitec RCD / (주)하이텍알씨디코리아

Date de priorité

Numéro de publication et titre

Commentaires

2012-07-23

KR101423053B1 Charging system for instrument by remote control


2011-03-17

KR20120105983A VOICE NAVIGATION APPARATUS FOR RC CONTROLLER


2011-03-17

KR20120105981A SIGNAL TRANSMITING/RECEIVING MODULE AND METHOD FOR MODEL


2010-01-27

KR101105157B1 Servo moter case for waterproof


2005-11-18

KR20070052836A A SERVO MOTOR FOR SAVING SPACE AND MANUFACTURING METHOD THEREOF


Hirobo

Date de priorité

Numéro de publication et titre

Commentaires

1999-05-19

JP2000325671A REMOTE CONTROL CAR

Orthographié Hiroboo

Hobao

Date de priorité

Numéro de publication et titre

Commentaires

2022-07-19

CN218062950U Simple fixing and buckling device for thin plate

Attribué à Hobao en raison du nom de l'inventeur et des figures

2022-04-26

CN217501849U Remote control car clutch hand-pull controller

Attribué à Hobao en raison du nom de l'inventeur et des figures

2022-04-20

TWM633598U Hand-pull clutch controller for remote-controlled car

Attribué à Hobao en raison du nom de l'inventeur et des figures

2020-06-02

CN213049391U Remote control car shell quick-release fixing structure

Attribué à Hobao en raison du nom de l'inventeur et des figures

2020-05-27

TWM602460U Quick disassembly and fixing structure of remote control car shell

Attribué à Hobao en raison du nom de l'inventeur et des figures

2022-01-10

TWM627396U Structure of transmission wheel set

Attribué à Hobao en raison du nom de l'inventeur et des figures

2019-12-02

TWM591432U Quick release structure of fixed seat of remote control car servomotor

Attribué à Hobao en raison du nom de l'inventeur et des figures

2019-11-29

CN212593983U Vehicle shell rapid fixing structure of remote control vehicle

Attribué à Hobao en raison du nom de l'inventeur et des figures

2019-04-30

TWM581496U Quick car shell fastening structure of remote controlled car

Les figures représentent un camion R/C électrique similaire à celui de Hobao. Attribué à Hobao en raison du nom de l'inventeur et des figures.

2019-04-30

CN212593983U Vehicle shell rapid fixing structure of remote control vehicle

Les figures représentent un camion R/C électrique similaire à celui de Hobao. Attribué à Hobao en raison du nom de l'inventeur et des figures.

2018-10-15

TWM574069U Structure of power output buffering device for remote control vehicle

Attribué à Hobao en raison du nom de l'inventeur et des figures

2018-05-23

TWM566607U Left-and-right balance and advancing/reversing transmission box structure of remote car

Attribué à Hobao en raison du nom de l'inventeur et des figures

2018-05-18

TWM565596U Adjustable pressure remote control car shock absorber construction

Attribué à Hobao en raison du nom de l'inventeur et des figures

2017-07-07

CN207137361U Remote control climbing car chassis structure

Attribué à Hobao en raison du nom de l'inventeur et des figures. Crawler.

2017-07-07

TWM558114U Chassis structure of remote control climbing car

Attribué à Hobao en raison du nom de l'inventeur et des figures. Crawler.

2017-07-07

TW201906654A Chassis structure of remote control crawler vehicle enabling the axles to present flexible swing like up and down swinging and twisting in single axis actuation manner for strengthening overall structure of the chassis and increasing part durability

Attribué à Hobao en raison du nom de l'inventeur et des figures. Crawler.

2015-11-26

TWM519982U Remote-control car shock absorber spring firming structure

Attribué à Hobao en raison du nom de l'inventeur et des figures

2014-12-17

CN204458167U Remote control car hand starter auxiliary grip structure

Attribué à Hobao en raison du nom de l'inventeur et des figures

2014-11-05

TWM497551U Anti-stuck structure of hand pulling starter with clutch structure

Attribué à Hobao en raison du nom de l'inventeur et des figures

2014-07-23

CN204082950U Tire locking structure of remote control vehicle

Attribué à Hobao en raison du nom de l'inventeur et des figures

2014-07-14

TWM489675U Tire locking structure of remote control car

Attribué à Hobao en raison du nom de l'inventeur et des figures

2014-04-30

TWM483817U Improved recoil starter structure with clutch structure

Attribué à Hobao en raison du nom de l'inventeur et des figures

2013-09-18

CN203604095U Manual starter with clutch structure

Attribué à Hobao en raison du nom de l'inventeur et des figures

2013-09-18

TW201512521A Hand-operating starting device with clutch structure

Attribué à Hobao en raison du nom de l'inventeur et des figures

2013-09-18

TWM478534U Recoil starter having clutch structure

Attribué à Hobao en raison du nom de l'inventeur et des figures

2013-06-10

TWM464218U Improved structure for front lever bracket of remote control car

Attribué à Hobao en raison du nom de l'inventeur et des figures

2013-06-10

TWM464219U Differential installation and holding frame structure of radio-controlled car

Attribué à Hobao en raison du nom de l'inventeur et des figures. Les figures semblent représenter la Touring Car HoBao, la H4E Pro.

2010-12-20

TWM405294U Air inlet pipe structure improvement of remote-controlled car

Attribué à Hobao en raison du nom de l'inventeur et des figures

2009-10-28

CN201551841U Electronic switch system for remote control car

Attribué à Hobao en raison du nom de l'inventeur

2009-10-26

TWM381442U Electronic switch system for remote-control car

Attribué à Hobao en raison du nom de l'inventeur

2009-06-16

CN201552530U Shock absorber universal tie-in disassembling clamp for remote control car

Attribué à Hobao en raison du nom de l'inventeur

2009-06-10

TWM366409U Clamp for removing universal joint of shock absorber in remote control car

Attribué à Hobao en raison du nom de l'inventeur et des figures

2009-05-20

TWM366408U Transmission connecting structure of remote control vehicle

Attribué à Hobao en raison du nom de l'inventeur et des figures

2009-03-20

TWM369173U Power management and sudden-momentum proof system of remote-control vehicle

Attribué à Hobao en raison du nom de l'inventeur et des figures

2008-07-16

TWM348627U Fixing base structure of the cup joint in the transmission gear of a remote control car

Attribué à Hobao en raison du nom de l'inventeur et des figures

2008-03-24

TWM343518U Structure of fixing anti-roll bar of remote-controlled vehicle

Attribué à Hobao en raison du nom de l'inventeur et des figures

2008-03-20

TWM343517U Integration structure of battery case and chassis in remote control vehicle

Attribué à Hobao en raison du nom de l'inventeur et des figures

2007-05-21

CN201046345Y Barycenter fixing construction for remote controlling vehicle body

Attribué à Hobao en raison du nom de l'inventeur et des figures

2007-05-08

TWM323924U Gravity center stabilization structure for body of remote car

Attribué à Hobao en raison du nom de l'inventeur et des figures

2007-01-11

TWM313542U Clutch disc for remote-controlled car

Attribué à Hobao en raison du nom de l'inventeur et des figures

2006-08-04

CN200951321Y Remote controlled starter for vehicle having clutch structure

Attribué à Hobao en raison du nom de l'inventeur et des figures

2006-04-18

TWM303047U Remote control car starter with clutch structure

Attribué à Hobao en raison du nom de l'inventeur et des figures

2006-03-31

TWM301689U Engine cylinder clamping apparatus of remote-controlled car

Attribué à Hobao en raison du nom de l'inventeur et des figures

2006-03-30

CN2895865Y Improved structure of telecontrolled vehicle clutch piece

Attribué à Hobao en raison du nom de l'inventeur et des figures

2006-03-29

TWM301083U Improved clutch pad structure of remote-controlled car

Attribué à Hobao en raison du nom de l'inventeur et des figures.

2006-02-23

TWM301686U Improved retention mount structure of front suspension assembly of remote control car

Attribué à Hobao en raison du nom de l'inventeur et des figures

2006-02-17

TWM296072U Chassis deflection proof structure of remote-controlled vehicle

Attribué à Hobao en raison du nom de l'inventeur et des figures

2005-07-11

TWM279392U Front and rear suspension arm interval adjusting structure of remote-controlled vehicle

Attribué à Hobao en raison du nom de l'inventeur et des figures.

2005-06-01

CN2822728Y Variable rear dip angle axle fixing base structure

Attribué à Hobao en raison du nom de l'inventeur et des figures

2005-05-19

TWM276610U Improved structure of multifunctional rear axle seat

Attribué à Hobao en raison du nom de l'inventeur et des figures

2005-05-19

TWM276609U Wheel axle fixing base structure with changeable backward inclination

Attribué à Hobao en raison du nom de l'inventeur et des figures

2005-01-27

TWM271610U Fixing structure of cantilever axis of remote control car

Attribué à Hobao en raison du nom de l'inventeur et des figures

2004-12-10

CN2764453Y Wheel steering magnitude regulating mechanism for remotely controlled vehicle

Attribué à Hobao en raison du nom de l'inventeur et des figures

2004-12-01

TWM268090U Device for adjusting the wheel turning degree of a remote-controlled car

Attribué à Hobao en raison du nom de l'inventeur et des figures

2004-07-01

TWM258790U Gearwheel light weight structure for center differential of remote control car

Attribué à Hobao en raison du nom de l'inventeur et des figures

2004-06-28

TWM259070U Improved structure of air filter for remote control car

Attribué à Hobao en raison du nom de l'inventeur et des figures

2004-06-18

CN2714117Y Remotely controlled car chassis toughness structure improvement

Attribué à Hobao en raison du nom de l'inventeur et des figures

2004-06-14

TWM257223U Retention mount structure of front suspension assembly of remote control car

Attribué à Hobao en raison du nom de l'inventeur et des figures

2004-05-28

CN2706211Y Improved structure of remote control car rear wheel suspension arm

Attribué à Hobao en raison du nom de l'inventeur et des figures

2004-05-28

CN2751855Y Improvement of remote-control vehicle antitilting rod fixing structure

Attribué à Hobao en raison du nom de l'inventeur et des figures

2004-05-17

TWM257221U Improved fastening structure of anti-roll bar of remote control car

Attribué à Hobao en raison du nom de l'inventeur et des figures

2004-05-17

TWM257222U Improved structure of upper suspension arm for rear wheel of remote control car

Attribué à Hobao en raison du nom de l'inventeur et des figures

2003-12-24

WO2004060518A1 DEVICE INTENDED FOR A REMOTE-CONTROLLED MODEL CAR

Attribué à Hobao en raison du nom de l'inventeur et des figures

2003-12-24

CN2706348Y Improvement of remote control car front suspension stable structure

Attribué à Hobao en raison du nom de l'inventeur et des figures

2003-09-26

CN2657742Y Improvement of reverse clutch device of remote control vehicle

Attribué à Hobao en raison du nom de l'inventeur et des figures

2003-09-16

TWM242279U Improved reverse clutch for remotely controlled car

Attribué à Hobao en raison du nom de l'inventeur et des figures

2003-09-16

CN2650830Y Structure improvement of engine assistant starter for remote controlled vehicle

Attribué à Hobao en raison du nom de l'inventeur et des figures

2003-09-03

TWM242278U Improved structure of auxiliary starter for engine of remotely controlled car

Attribué à Hobao en raison du nom de l'inventeur et des figures

2003-06-30

CN2668205Y Improved structure of central differential mechanism for remote control vehicle

Attribué à Hobao en raison du nom de l'inventeur et des figures

2002-12-03

CN2587482Y Differential mechanism for model car

Attribué à Hobao en raison du nom de l'inventeur et des figures.

2002-12-03

CN2587626Y Tyre gluing machine for model car

Attribué à Hobao en raison du nom de l'inventeur et des figures. Boite de collage de pneus.

2002-10-09

CN2574744Y Back driving device of improved remote control car

Attribué à Hobao en raison du nom de l'inventeur et des figures

2002-09-10

TW543498U Improvement of reversing device for remote controlled vehicle


1999-04-09

CN2361845Y Pressure mechanism for two-stroke engine

Attribué à Hobao en raison du nom de l'inventeur et des figures

1998-06-05

TW354914U Improvement of differential gear for remote toy car

Attribué à Hobao en raison du nom de l'inventeur et des figures

1998-04-29

TW355401U Structure for transmission shaft of remote control car


1998-03-23

TW339692U A remote control toy car adapter structure


Hobbico

Date de priorité

Numéro de publication et titre

Commentaires

2014-08-12

US2016118749A1 Electrical Connector Assembly


2011-12-01

US2013142246A1 Radio Frequency Transmitter Adaptors, Methods and Articles of Manufacture


2005-05-25

US2006270505A1 Model vehicle transmission system


2002-01-31

US2003229729A1 System and method for converting radio control transmitter and joystick controller signals into universal serial bus signals


1994-02-14

WO9521996A1 FUEL SUPPLY SYSTEM FOR MINIATURE ENGINES


Hobbywing / Shenzhen Gisheng Science and Tech Limited Company /深圳市好盈科技有限公司 / Huizhou Haoying Motor Co. Ltd. / 惠州好盈电机有限公司

Date de priorité

Numéro de publication et titre

Commentaires

2025-12-04

CN121247076A Linkage protection method and system for battery and electronic speed controller of high-voltage unmanned aerial vehicle and medium


2025-12-04

CN121232008A Method and system for testing electronic speed controller driving response of high-voltage unmanned aerial vehicle and storage medium


2025-11-30

CN121347167A Test method and test system for simulating running of sports car by car model power motor

Banc de test.

2025-11-30

CN121275365A Four-wheel synchronous testing mechanism

Banc de test.

2025-11-30

CN121275364A Pressure-controllable adjusting device and trolley testing equipment

Banc de test.

2025-11-30

CN121431103A Belt pre-tightening device and RC car model test platform

Banc de test.

2025-11-30

CN121275363A Trolley motion inertia balancing device for simulating car model operation load platform

Banc de test.

2025-11-27

CN121256396A OTA upgrading method and system based on unmanned aerial vehicle fault detection


2025-11-12

CN121092085A Data storage method of electronic speed regulator and electronic speed regulator


2025-11-10

CN121078142A Multi-data protocol conversion method and device and electronic speed regulator


2025-11-07

CN121395816A Adjustable Hall angle mechanism and brushless motor

Moteur brushless pour voitures R/C Hobbywing V10 G5. Sous le nom de HUIZHOU HAOYING MOTOR Co. Ltd. / 惠州好盈电机有限公司, qui est une filiale de Hobbywing.

2025-10-11

CN120928187A Three-phase motor interphase short circuit detection method and system


2025-08-29

CN120750253A Current calibration method and device for three-phase motor


2025-08-14

CN120729121A Self-adaptive driving method and system based on magnetic editing double signals and storage medium


2025-08-07

CN120601812A Motor driving method, electronic speed regulator and motor driving system


2025-08-04

CN120559425A Method and system for detecting short circuit of electrically-controlled MOS (Metal Oxide Semiconductor)


2025-05-23

CN120474218A High-performance motor

Moteur brushless pour voitures R/C de vitesse. Sous le nom de HUIZHOU HAOYING MOTOR Co. Ltd. / 惠州好盈电机有限公司, qui est une filiale de Hobbywing

2024-12-20

CN119727473A BLDC electronic speed controller intelligent starting protection control method


2024-12-17

CN119719612A Integrated electronic speed controller operation data recording system, recording method and processing method


2024-12-16

CN119729431A Electronic speed regulator compatible setting box parameter adjustment and mobile phone APP parameter adjustment method


2024-10-09

CN223181923U High-reliability brushless motor

Moteur brushless sensorless. Sous le nom de HUIZHOU HAOYING MOTOR Co. Ltd. / 惠州好盈电机有限公司, qui est une filiale de Hobbywing

2024-08-15

CN222996394U Brushless motor with external magnetic ring

Moteur brushless sensorless. Sous le nom de HUIZHOU HAOYING MOTOR Co. Ltd. / 惠州好盈电机有限公司, qui est une filiale de Hobbywing

2024-08-14

CN119134799A High-precision adjustable stator structure and brushless motor

Moteur de Crawler. Sous le nom de HUIZHOU HAOYING MOTOR Co. Ltd. / 惠州好盈电机有限公司, qui est une filiale de Hobbywing

2024-08-07

CN119109227A High-power flat wire winding motor

Moteur brushless pour voitures R/C de vitesse. Sous le nom de HUIZHOU HAOYING MOTOR Co. Ltd. / 惠州好盈电机有限公司, qui est une filiale de Hobbywing

2024-07-31

CN118915834A Parameter adjusting method and device of electronic speed regulator, model car and remote control model car system


2024-06-28

CN118810461A Brake control method and device and electronic equipment


2024-05-14

CN222301598U Motor stator and brushless motor

Sous le nom de HUIZHOU HAOYING MOTOR Co. Ltd. / 惠州好盈电机有限公司, qui est une filiale de Hobbywing

2024-05-14

CN222301493U Motor

Sous le nom de HUIZHOU HAOYING MOTOR Co. Ltd. / 惠州好盈电机有限公司, qui est une filiale de Hobbywing

2024-04-16

CN118364335A Signal identification method and device, equipment and storage medium


2024-02-28

CN118100734A Method and device for adjusting parameters of electronic speed regulator of target model airplane


2024-01-31

CN221767804U Inner rotation motor coil auxiliary winding center column structure

Sous le nom de HUIZHOU HAOYING MOTOR Co. Ltd. / 惠州好盈电机有限公司, qui est une filiale de Hobbywing

2024-01-26

CN221748169U Novel high-speed micromotor embedded stator and rotor structure

Sous le nom de HUIZHOU HAOYING MOTOR Co. Ltd. / 惠州好盈电机有限公司, qui est une filiale de Hobbywing

2024-01-25

CN221569323U High-precision gear-ratio-adjustable dynamometer speed reducer

Sous le nom de HUIZHOU HAOYING MOTOR Co. Ltd. / 惠州好盈电机有限公司, qui est une filiale de Hobbywing

2024-01-25

CN221748048U Motor stator punching sheet applied to model racing car

Sous le nom de HUIZHOU HAOYING MOTOR Co. Ltd. / 惠州好盈电机有限公司, qui est une filiale de Hobbywing

2024-01-12

CN117559878A Current control method and device for electronic speed regulator of model airplane and electronic equipment


2023-12-05

CN117345439A Accelerator switching control method of electronic speed regulator


2023-12-01

CN117335695A Phase-locked loop control parameter processing method and device for non-inductive FOC control


2023-10-31

CN117175937A BEC multi-gear adjusting output circuit, method, equipment and medium


2023-10-30

CN117149241A Electronic speed regulator upgrading device and upgrading method


2023-10-20

CN117097077A Brushless motor with self-heat-dissipation structure

Moteur Hobbwing Xerun V10 G4; Sous le nom de HUIZHOU HAOYING MOTOR Co. Ltd. / 惠州好盈电机有限公司, qui est une filiale de Hobbywing

2023-10-07

CN117007898A Method and device for testing aging state of target electronic speed regulator


2023-09-18

CN220896379U Car model high-rotation-speed application rotor and brushless motor thereof

Sous le nom de HUIZHOU HAOYING MOTOR Co. Ltd. / 惠州好盈电机有限公司, qui est une filiale de Hobbywing

2023-09-18

CN117277646A Car model rotor and brushless motor thereof

Sous le nom de HUIZHOU HAOYING MOTOR Co. Ltd. / 惠州好盈电机有限公司, qui est une filiale de Hobbywing

2023-08-15

CN220709274U RC (Resistance-Capacitance) model electronic speed controller fault diagnosis circuit

Sous le nom de HUIZHOU HAOYING MOTOR Co. Ltd. / 惠州好盈电机有限公司, qui est une filiale de Hobbywing

2023-08-15

CN220673605U High-side driving switch circuit

Sous le nom de HUIZHOU HAOYING MOTOR Co. Ltd. / 惠州好盈电机有限公司, qui est une filiale de Hobbywing

2023-08-10

CN220673486U Stator coil heat dissipation structure and brushless motor thereof

Moteur Hobbwing Xerun V10 G4; Sous le nom de HUIZHOU HAOYING MOTOR Co. Ltd. / 惠州好盈电机有限公司, qui est une filiale de Hobbywing

2023-08-01

CN116653609A Target two-wheeled vehicle control method and device based on Hall protection strategy


2023-07-29

CN220629879U RC model electronic speed regulator with efficient heat dissipation

Sous le nom de HUIZHOU HAOYING MOTOR Co. Ltd. / 惠州好盈电机有限公司, qui est une filiale de Hobbywing

2023-07-11

CN220438510U Hub motor test tool

Sous le nom de HUIZHOU HAOYING MOTOR Co. Ltd. / 惠州好盈电机有限公司, qui est une filiale de Hobbywing

023-07-10

CN220438509U Motor load testing device

Sous le nom de HUIZHOU HAOYING MOTOR Co. Ltd. / 惠州好盈电机有限公司, qui est une filiale de Hobbywing

2023-06-28

CN116634747A Electronic speed regulator and electronic driving equipment


2023-06-09

CN220087090U Water-cooled high-efficiency heat dissipation motor

Sous le nom de HUIZHOU HAOYING MOTOR Co. Ltd. / 惠州好盈电机有限公司, qui est une filiale de Hobbywing

2022-12-21

CN219535823U Motor heat dissipation device and brushless motor

Sous le nom de HUIZHOU HAOYING MOTOR Co. Ltd. / 惠州好盈电机有限公司, qui est une filiale de Hobbywing

2022-12-16

CN219204211U Rotor structure capable of preventing glue overflow during baking and brushless motor

Sous le nom de HUIZHOU HAOYING MOTOR Co. Ltd. / 惠州好盈电机有限公司, qui est une filiale de Hobbywing

2022-12-06

CN218647779U Fixing structure of filter capacitor


2022-11-16

CN218678591U Permanent magnet rotor and motor


2022-11-02

CN115542171A Battery electric quantity calculation method, system, equipment and medium


2022-11-02

CN115473393A Internal rotation motor stator production process, motor production process method and brushless motor

Sous le nom de HUIZHOU HAOYING MOTOR Co. Ltd. / 惠州好盈电机有限公司, qui est une filiale de Hobbywing

2022-10-21

CN218549596U Rotor with rear-end self-heat-dissipation structure and brushless motor

Sous le nom de HUIZHOU HAOYING MOTOR Co. Ltd. / 惠州好盈电机有限公司, qui est une filiale de Hobbywing

2022-10-20

CN115347838A Method, system and equipment for correcting initial zero position of motor and medium


2022-10-20

CN115356668A Motor rotor magnetic field distribution process detection method


2022-09-23

CN115241710A Sleeve equipment for connecting wire of motor controller, connecting wire and motor controller

Sous le nom de HUIZHOU HAOYING MOTOR Co. Ltd. / 惠州好盈电机有限公司, qui est une filiale de Hobbywing

2022-08-22

CN115085610A Linear brake control method and device applied to competition-level remote control model car


2022-07-28

CN115001173A Stator assembly, waterproof motor and assembly method of waterproof motor


2022-07-12

CN217687860U Speed reducer for motor test

Sous le nom de HUIZHOU HAOYING MOTOR Co. Ltd. / 惠州好盈电机有限公司, qui est une filiale de Hobbywing

2022-07-12

CN217824635U Brushless motor with Hall entrance angle adjustable structure

Moteur Hobbwing Xerun V10 G3; Sous le nom de HUIZHOU HAOYING MOTOR Co. Ltd. / 惠州好盈电机有限公司, qui est une filiale de Hobbywing

2022-05-31

CN114771284A Intelligent dragging brake method and device, model climbing vehicle and storage medium


2022-04-29

CN217240508U Inductive brushless motor capable of correcting fixed entrance angle

Sous le nom de HUIZHOU HAOYING MOTOR Co. Ltd. / 惠州好盈电机有限公司, qui est une filiale de Hobbywing

2022-04-29

CN217282466U Waterproof motor

Sous le nom de HUIZHOU HAOYING MOTOR Co. Ltd. / 惠州好盈电机有限公司, qui est une filiale de Hobbywing

2022-04-26

CN114552821A Motor and electric toy

Sous le nom Shenzhen Gisheng Science and Tech Limited Company

2022-02-10

CN114673755A Automatic compensation system of electric remote control model car

Sous le nom Shenzhen Gisheng Science and Tech Limited Company

2022-04-11

CN216959445U Brushless inductive motor with accurate positioning of stator by casing

Sous le nom de HUIZHOU HAOYING MOTOR Co. Ltd. / 惠州好盈电机有限公司, qui est une filiale de Hobbywing

2021-10-08

CN113917262A Power system automatic test system and test method


2021-07-09

CN113521769A Method and system for setting internal parameters of electronic speed regulator


2021-07-09

CN113306728A Electronic speed regulator control method and system


2021-05-26

CN113193795A Electronic speed regulator intelligent synchronous rectification system and control method thereof


2021-05-14

CN113131807A Inductive brushless direct current motor entrance angle detection method and system


2021-10-22

WO2022148098A1 BRUSHLESS MOTOR HAVING SHAFT SEALING EFFECT


2021-01-05

CN213937605U Waterproof structure for output shaft of brushless motor

Sous le nom de HUIZHOU HAOYING MOTOR Co. Ltd. / 惠州好盈电机有限公司, qui est une filiale de Hobbywing

2021-01-05

CN112653282A Brushless motor with shaft sealing effect

Sous le nom de HUIZHOU HAOYING MOTOR Co. Ltd. / 惠州好盈电机有限公司, qui est une filiale de Hobbywing

2020-11-20

CN213870389U Electronic speed regulator with built-in fan

Hobbywing XERUN XR10 Pro G2 S

2020-06-19

CN212965785U Remote control end for setting parameters of electronic speed regulator and model machine


2020-03-27

CN211481163U Three-phase soft switching inverter


2020-03-27

CN111245276A Three-phase soft switching inverter and operation control strategy thereof


2019-10-15

CN211046698U Electrically-controlled motor integrated brushless motor


2018-03-16

CN207939891U Waterproof construction of power regulation and control device based on there is electrification mediation thoughts motor


2017-08-02

CN107703786A Data butting conversion monitoring method and device between multiple electronic speed regulators and main control device


2017-06-23

CN206947942U Skidding excessive pressure release protection device and electronic governor


2017-03-21

CN206585888U Electronic speed regulator


2016-09-20

CN206042603U Waterproof anti -corrosion structure of electronic governor circuit board


2016-08-12

CN205942500U Collect built -in switch and external switch in electronic governor of an organic whole


2016-08-12

CN106121830A Electric remote control model car and method and device for controlling electronic speed governor thereof


2016-07-07

CN205913783U Can support electronic governor of low -voltage


2016-06-21

CN205793923U Heat radiation structure of electronic governor circuit board


2015-09-17

CN205229874U Novel throw load voltage suppression circuit


Hong-Nor

Date de priorité

Numéro de publication et titre

Commentaires

2010-11-10

TWM400344U Remote control car driving engagement structure


2010-05-18

TWM388968U Gearbox structure of remote control car


2010-05-17

TWM388967U Shock absorber of remote-controlled car


2010-01-15

TWM380822U Wheel-steering base structure of remote-controlled car


2009-06-15

TWM375540U Battery box structure of remote control car


2009-06-12

TWM366407U Battery box structure of remote control car


2008-04-25

TWM342886U Shock-absorbing apparatus of remote-controlling car


2008-04-15

TWM339348U Anti-collision device for chassis of remote-control car

Sabots de protection de châssis

2008-04-02

TWM340088U Wheel balance detector of remote-controlled toys

Equilibreur de roue

2008-03-25

TWM339347U Tank and tube fastener module for remote-control car


2007-02-14

TWM316098U Filter structure for remote control car


2006-05-22

TWM299590U Auxiliary pulling, raising device structure for oil box lid of remote-controlled vehicle


2006-03-24

TWM297264U Transmission element fastening device of remote-controlled car


2006-01-18

TWM294594U Clutch structure


2006-01-13

TWM293364U Improved structure of clutch


2005-09-21

TWM282729U Pole fixture device of remote control car


2005-09-07

TWM287178U Tire angle adjusting device of remote-controlled vehicle


2005-07-12

TWM281684U Improved structure of braking device of remote control car


2005-06-29

TWM279391U Improved oil seal cap structure of oil pressure shock absorber

Coupelles pour amortisseurs à volume constant de forme particullière

2005-03-09

TWM273384U Starter


2004-12-10

TWM266093U Steering gear of remote control vehicle


2004-11-17

TWM266966U Improved forth/backward switch device of remote control car


2004-06-07

TWM259631U Veering and suspension structure of remote control car


2004-04-20

TWM255331U Transmission collar


2004-02-27

TWM253400U Improved fastening device for transmission component of remotely-controlled car


2004-02-20

TWM252472U Auxiliary starting device for fuel engine


2004-02-20

TWM252471U Auxiliary starting device for fuel engine


2004-01-09

TWM249708U Transmission mechanism for remotely-controlled car


2003-12-29

CN2675213Y Clutch for bi-engine actuating mechanism of remote controlled model car


2003-12-25

TWM248495U Improved joint structure for remote-controlled car


2003-12-17

TWM246039U Structure of clutch for dual-engine transmission mechanism


2003-10-24

TWM244779U Storage bag dedicated for remote-control car

Track-pack

2003-09-26

TWM247266U Improved clutch for remote-control model car


2003-09-26

TWM246041U Improved clutch for remotely-controlled model car


2003-07-08

TWM241111U Improved assembly structure of server for remote control car


2003-06-26

TW577370U Wrench structure for assembling and disassembling gear of remote-controlled vehicle


2003-06-26

TW574958U Wrench structure for assembling/disassembling gear of remote-controlled vehicle


2003-05-23

TW578599U Improved structure of fuel tank lid assembly for remote-control car


2002-08-09

TW542002U Forward/backward switching device for model vehicle


2002-07-31

TW543500U Dual-purposed torque limiter for model vehicle


2002-07-25

TW542001U Fastening device for central transmission gear of model vehicle


2002-07-12

TW541997U Structure improvement of hydraulic shock absorption device for remotely-controlled model cart


2000-07-27

TW476296U Tilting adjustment assist wheel in wheel of model car


1998-08-19

TW398572U Model car engine blowing heat dissipating structure


1998-08-12

TW355402U Improvement for transmission structure of model car


Horizon Hobby (voir aussi sous les noms de Team Losi, ARRMA et Durango)

Date de priorité

Numéro de publication et titre

Commentaires

2023-04-10

US2024335758A1 SYSTEMS AND METHODS FOR CONTROLLING A RADIO-CONTROLLED TWO-WHEELED VEHICLE

Moto R/C Team Losi

2017-11-21

WO2019101068A1 INTELLIGENT BATTERY COMMUNICATION DEVICE USING SINGLE LINE COMMUNICATION


2017-11-06

US2019135129A1 BATTERY CRADLE AND BATTERY CRADLE ASSEMBLY


2016-11-06

US2018126290A1 ADJUSTABLE VEHICLE CHASSIS FOR A RC VEHICLE

Team Losi

2015-10-29

US10094669B2 Systems and methods for inertially-instituted binding of a RC vehicle


2015-04-30

US9592724B1 Chassis for a remotely controlled vehicle


2015-05-18

US10333322B2 Systems and methods for battery charger with safety component


2014-04-17

US9079471B1 Dynamic vehicle suspension for a radio-controlled vehicle


2014-02-28

WO2015131192A1 SYSTEMS AND METHODS FOR CAUSING A ROTATIONAL FORCE TO BE APPLIED TO A VEHICLE

"An vehicle includes a rotational force control system (RFCS) coupled to a vehicle chassis"

2014-02-26

US10101736B1 Systems and methods for open-loop control of a brushless motor


2014-01-02

US2015184714A1 Rotary Damper

Amortisseurs rotatifs

2013-10-02

US2015094880A1 Dynamic Stabilization System and Methods


2013-04-17

US2014312824A1 Servomotor Control Systems and Methods


2011-04-13

CN102734034A Motor starter for remote control model vehicle


2011-04-13

TW201240708A Electric starter of remote control model car


2010-02-03

DE102010006822A1 Console transmitter for remote controlling of model e.g. motor vehicle model, has fastening unit comprising arms that lie against housing in transport position, where arms project upwardly over housing at side of housing in usage position


2010-02-03

DE102010006826A1 Transmitter for remote control of models, such as flight, ship and motor car models, comprises base module and change module connected with base module in interchangeable manner


2008-10-31

US8672726B2 Methods of completing a remotely controlled model vehicle system with a separate controller


2008-09-25

EP2169271A2 Limited slip differential


2008-09-25

TWM355740U Limited slip differential for model car


2005-04-01

US7391320B1 Method and system for controlling radio controlled devices


2004-10-25

US2006089202A1 Constant velocity universal joint system

Cardans à double articulation Team Losi

HPI Racing / Hot-Bodies

Date de priorité

Numéro de publication et titre

Commentaires

2013-03-13

US2014277836A1 STEERING CONTROL SYSTEM FOR RADIO CONTROL VEHICLE AND A RADIO CONTROLLED CAR COMPRISING THE SAME


HS Tech & Design

Date de priorité

Numéro de publication et titre

Commentaires

1997-08-12

DE29714435U1 Fahrwerk eines Modellwagens


Hudy

Date de priorité

Numéro de publication et titre

Commentaires

?

?


HUIZHOU QUANMU TECH Co. Ltd. / 惠州市全木科技有限公司

Date de priorité

Numéro de publication et titre

Commentaires

2024-01-23

CN221673420U Frame of climbing vehicle


ICD Corp / 株式会社アイ・シー・ディー・コーポレーション / AI SHII DEII CORPORATION KK

Date de priorité

Numéro de publication et titre

Commentaires

1983-12-28

JPS60139275A移動玩具

Traduction automatique du titre en japonais: "Jouet mobile".
Déposant: I.C.D. Corporation (株式会社アイ・シー・ディー・コーポレーション), mais écrit "AI SHII DEII CORPORATION KK".

1981-02-09

JPS57130689U  玩具用自動車のステアリング装置

Traduction automatique du titre en japonais: "Dispositif de direction pour voiture miniature".
Déposant: I.C.D. Corporation (株式会社アイ・シー・ディー・コーポレーション)

1980-11-26

DE3110641A1 FERNGESTEUERTES SPIELZEUGMOTORRAD

Moto R/C

1980-11-26

DE3110642A1 FERNGESTEUERTES SPIELZEUGMOTORRAD

Moto R/C

Intelligent Racing Inc.

Date de priorité

Numéro de publication et titre

Commentaires

2021-02-10

WO2022174230A1 DEVICES, SYSTEMS, AND METHODS FOR OPERATING INTELLIGENT VEHICLES USING SEPARATE DEVICES

Déposant: Intelligent Racing Inc

Irem Hanbai Co., Ltd. / アイレム販売株式会社

Date de priorité

Numéro de publication et titre

Commentaires

1987-12-01

JPH01145090A ラジオコントロール玩具 (RADIO CONTROL TOY)

Traduction automatique du titre en japonais: "Jouet radiocommandé". Déposant de la demande de brevet: Irem Hanbai Co., Ltd. (アイレム販売株式会社). Sous le nom de "AIREMU HANBAI KK".

Ishii Mokei Co., Ltd. / 株式会社 石井模型

Date de priorité

Numéro de publication et titre

Commentaires

1991-06-10

JPH04136292U 模型エンジンカーの逆転装置

Traduction automatique du titre: "Dispositif d'inversion de marche pour voiture miniature à moteur thermique".
Déposant: 株式会社石井模型 (Ishii Mokkei Co., Ltd.).

1989-02-03

JPH02104095U 操縦ハンドルの自動復帰装置

Traduction automatique du titre en japonais: "Dispositif de retour automatique pour poignée de commande / levier de direction". Déposant de la demande de brevet: Ishii Mokei Co., Ltd. (株式会社石井模型)

1988-05-24

JPH01172896U ラジコン送信機のホイール形操縦ハンド ル

Traduction automatique du titre: "Volant de commande en forme de roue pour émetteur de radiocommande".
Déposant: Ishii Mokei Co., Ltd. (株式会社 石井模型).

Jason Toys & Electronics

Date de priorité

Numéro de publication et titre

Commentaires

2019-11-27

US11001111B2 Chassis system of amphibious remote control vehicle


2019-02-25

US10773563B1 Shock absorbing system of amphibious and remotely controlled vehicle

Crawler

2013-06-26

TW201500092A Electronic speed controller with automatic detection for type of battery


Jerobee

Date de priorité

Numéro de publication et titre

Commentaires

1971-11-01

US3683546A CONTROL SYSTEM FOR REMOTELY CONTROLLED MODEL CAR


JIANGSU TANSHAO TECH Co. Ltd. / 江苏碳少科技有限公司

Date de priorité

Numéro de publication et titre

Commentaires

2025-04-18

CN120079115A Transmission structure for turning around center of remote control car model and remote control car model


Jinshida

Date de priorité

Numéro de publication et titre

Commentaires

2008-02-13

CN201171910Y Improvement of electric starting device of remote controlling vehicle


2007-06-22

CN201052415Y Remote controlling vehicle electric starting device


Jizhan Technology / Ching Chan Technology / Topway Model Research

Date de priorité

Numéro de publication et titre

Commentaires

2011-03-15

TW201236726A Limited slip differential of remote control model car

Sous le nom Topway Model Research

2011-03-15

CN102671391A Limited slip differential for remote control model vehicle

Sous le nom Ching Chan Technology

2010-09-03

CN102380214A Impedance adjusting mechanism of remote control model car

Sous le nom Ching Chan Technology

2010-09-03

CN201768372U Impedance adjustment mechanism of a remote-control model car

Sous le nom Jizhan Technology

2010-08-30

TW201208751A Impedance adjustment mechanism of remote control car

Sous le nom Topway Model Research

2008-03-03

CN201170304Y Speed differentiator for model vehicle

Sous le nom Topway Model Research

2008-02-21

TWM336068U Differential mechanism used for model vehicle

Sous le nom Topway Model Research

2008-02-04

CN201162811Y Differential gear of model vehicle

Sous le nom Topway Model Research

2008-01-21

TWM336186U Differential mechanism of a model car

Sous le nom Topway Model Research

2007-03-14

CN201079694Y Actuating mechanism for remote control vehicle starting bench

Sous le nom Topway Model Research

2007-03-14

TWM319783U Starter used in start deck of remote control car

Sous le nom Topway Model Research

2007-03-14

TWM317279U Battery positioning structure of starter for remote control car

Sous le nom Topway Model Research

2007-03-14

TWM317278U Start structure of starter for remote control car

Sous le nom Topway Model Research

2006-10-30

CN200967744Y Fuel truck nozzle for model vehicle

Attribué à Jizhan Technology - Ching Chan Technology - Topway Model Research en raison du nom de l'inventeur

2006-10-30

CN200967744Y Fuel truck nozzle for model vehicle

Attribué à Jizhan Technology - Ching Chan Technology - Topway Model Research en raison du nom de l'inventeur

2006-09-04

CN200948362Y Turning driving device of a remote controlled car

Attribué à Jizhan Technology - Ching Chan Technology - Topway Model Research en raison du nom de l'inventeur

2005-04-01

TWM271611U Model starter

Sous le nom Topway Model Research

1999-10-29

CN2392920Y Improved-model type engine radiating apparatus

Attribué à Jizhan Technology - Ching Chan Technology - Topway Model Research en raison du nom de l'inventeur

Joustra

Date de priorité

Numéro de publication et titre

Commentaires

1980-07-09

FR2486410A1 DISPOSITIF D'ENTRAINEMENT ET DE COMMANDE DE LA DIRECTION DES ROUES D'UN VEHICULE MINIATURE TELECOMMANDE


1980-07-01

FR2485939A1 SERVO-MECANISME POUR LA COMMANDE DE LA DIRECTION D'UN VEHICULE MINIATURE TELEGUIDE


1971-08-30

FR2151619A5  Dispositif de commande par moteur de la direction d'une auto miniature comprenant un moteur électrique à courant continu


JR Propo / Japan Remote Control / 日本遠隔制御株式会社 / Nippon Enkaku Seigyo KK

Date de priorité

Numéro de publication et titre

Commentaires

2014-11-18

JP2016096833A TRANSMITTER FOR RADIO CONTROL


1997-10-21

JP2945358B2 TRANSMITTER FOR RADIO CONTROL


1996-01-09

JP3412730B2 SERVO MOTOR CONTROLLER


1989-06-28

JPH0332197A RADIO CONTROL RECEIVER


1988-10-25

JPH01151809A RECEIVER FOR RADIO CONTROL


1987-07-28

JPS6432502A RECEPTION ANTENNA SYSTEM FOR RADIO CONTROL


1987-02-13

JPS63129337U 考案の名称:ラジコン用送信機

Traduction automatique du titre: "Émetteur pour radiocommande".
Déposant: Nihon Tohon Seigyo Co., Ltd. (日本遠隔制御株式会社, connu sous le nom de JR Propo).

1985-05-07

JPS61255130A CIRCUIT FOR PREVENTING CROSS MODULATION OF RECEIVER


1985-05-07

JPS61255129A CIRCUIT FOR PREVENTING CROSS MODULATION OF RECEIVER


1985-04-18

JPH0669149B2 CROSS MODULATION PREVENTING CIRCUIT FOR RADIO CONTROLLING RECEIVER


1985-04-17

JPS61240987A  ラジオコントロール用受信機の高周波減衰器 (HIGH FREQUENCY ATTENUATOR OF RECEIVER FOR RADIO CONTROL)

Traduction automatique du titre: "Atténuateur haute fréquence pour récepteur de radiocommande".
Déposant: Nihon Enkaku Seigyo Co., Ltd. (日本遠隔制御株式会社, connu sous le nom de JR Propo).

1985-04-17

JPS61240717A CROSS MODULATION PREVENTING CIRCUIT FOR RADIO CONTROL USE RECEIVER


1980-12-03

JPS5795189A CONTROLLING CIRCUIT FOR SERVOMOTOR


Kawada

Date de priorité

Numéro de publication et titre

Commentaires

2002-05-15

JP2003325993A EXPANDABLE AND RETRACTABLE CHASSIS FOR RADIO CONTROLLED


1996-09-13

JP3871739B2 BODY MOUNTING STRUCTURE FOR RADIO CONTROL MODEL


1996-09-13

JP3856502B2 CHASSIS FOR RADIO CONTROL MODEL


1996-09-13

JPH1085465A BUMPER FOR RADIO CONTROL MODEL

Kawada M24?

Keyence

Date de priorité

Numéro de publication et titre

Commentaires

2008-10-14

JP2010094144A SPEED CONTROLLER


1999-10-06

JP2001104657A MODEL DEVICE, RADIO CONTROLLER, AND RADIO CONTROL SYSTEM


1999-10-06

JP2001104658A RADIO CONTROLLER, MODEL DEVICE, RADIO CONTROL SYSTEM AND RECORD MEDIUM


1995-02-09

JPH08223660A RECEIVER AND TRANSMITTER FOR RADIO CONTROL TOY AND RADIO CONTROL TOY


1994-06-30

JPH0819291A DC MOTOR DRIVING CIRCUIT


1991-10-15

JP3134167B2 STEERING GEAR IN CAR TOY


1991-10-15

JPH0535193U 自動車玩具における操舵装置

Traduction automatique du titre: "Dispositif de direction pour voiture jouet".
Déposant: Keyence Corporation (株式会社キーエンス).

1991-10-15

JPH0535194U 自動車玩具における操舵装置

Traduction automatique du titre: "Dispositif de direction pour automobile jouet".
Déposant: Keyence Corporation (株式会社キーエンス).

1990-09-27

JPH04135591A STEERING DEVICE IN AUTOMOBILE TOY


King Golden LTD

Date de priorité

Numéro de publication et titre

Commentaires

2011-03-04

US2012223662A1 MOTOR SPEED CONTROL SYSTEM


Kingstar/Neo

Date de priorité

Numéro de publication et titre

Commentaires

2013-08-06

TW201505809A Method of manufacturing remote control car engine housing


2008-03-06

TWM340090U Improved electric switch device of remote-control cars


2007-12-13

TWM332510U Structure for identifying engine temperature for remote-controlled car


2007-11-14

TWM330855U Structure of protective hood of model car


2007-06-13

TWM325150U Electrical starting device for remote car


2000-11-29

US2002065021A1 MOUNTING BRACKET STRUCTURE OF REMOTELY CONTROLLABLE TOY RALLY CAR

Crawler

2000-11-01

TW477236U Improved suspension structure for remote-controlled crosscountry toy car


KM Racing / King Motor / IASHAN LEISHEN SPORTS EQUIPMENT Co. Ltd. / 嘉善雷神运动器械股份有限公司

Date de priorité

Numéro de publication et titre

Commentaires

2022-04-29

CN217794497U Time-sharing four-wheel-drive switching device for simulation model car


2022-02-16

CN216951499U Model car transmission device


2022-02-16

CN216824787U Tension self-locking mechanism of servo steering engine


Komatsu Seisakusho Co., Ltd. / 株式会社小松製作所

Date de priorité

Numéro de publication et titre

Commentaires

1986-12-10

JPS63147204A COORDINATE INPUT TYPE RADIO CONTROLLER

Déposant: Komatsu Mfg Co. Ltd

1978-07-24

JPS5518744U  Lamp circuit for a radio controlled vehicle

Traduction automatique du titre en japonais: "Circuit de lampe de voiture radiocommandée". Déposant de la demande de brevet: Komatsu Seisakusho Co., Ltd. (株式会社 小松製作所).

1977-03-24

JPS53130732U  ラジオコントロール車におけるシリンダ装置

Traduction automatique du titre en japonais: "Dispositif de cylindre pour véhicules radiocommandés". Déposant de la demande de brevet: Komatsu Ltd. (株式会社小松製作所)

Konami Corp

Date de priorité

Numéro de publication et titre

Commentaires

2004-01-28

JP2005211621A REMOTE CONTROL TOY SYSTEM, COURSE FOR REMOTE CONTROL TOY, COURSE PART, AND REMOTE CONTROL TOY


2004-01-13

JP2005198728A REMOTELY CONTROLLED TOY SYSTEM, DRIVE DEVICE USED THEREFOR AND IDENTIFICATION CODE SETTING METHOD IN THE REMOTELY CONTROLLED TOY


2003-12-26

JP2005185655A REMOTE OPERATION TOY SYSTEM, MODEL TO BE USED FOR THE SYSTEM, COURSE, ATTACHMENT FOR THE MODEL, AND COURSE COMPONENT


2003-05-21

EP1655062A1 SOUND APPARATUS


2003-05-21

US2006014471A1 Sound apparatus


2003-01-17

US2006128267A1 Remote control toy and extension unit thereof


2002-05-08

EP1502635A1 GAME FACILITY FOR REMOTE OPERATION SYSTEM


2002-04-18

EP1495787A1 CAR MODEL


2002-01-25

US2005054450A1 Remote control toy system, and controller, model and accessory device to be used in the same


2002-01-25

JP2003210860A TOY SYSTEM AND CONTROLLER THEREFOR


2001-06-06

EP1264623A2 Remote control and program control for a toy driving mechanism


2001-06-06

EP1264624A2 Toy system


2001-06-06

JP2003053055A TOY SYSTEM


2001-06-06

JP2005288196A GAME EXTENSION SYSTEM AND PROGRAM FOR THE SAME


KO Propo / Kondo Kagaku / 近藤科学株式会社

Date de priorité

Numéro de publication et titre

Commentaires

2020-12-01

JP2022087752A STEERING MECHANISM OF TRAVELING BODY


2018-06-21

JP2019217089A MANEUVERING CONTROLLER

Radio à volant

2011-02-01

JP2012157590A REMOVAL MECHANISM OF UNIT MEMBER FROM TRANSMITTER FOR RC MODEL

La radio EX-1 KIY est identifiable sur les figures

2010-07-22

JP2012024294A TRIGGER UNIT OF TRANSMITTER FOR RADIO CONTROL MODEL


2010-06-17

JP2012000273A TRANSMITTER FOR RADIO CONTROL MODEL


2009-11-26

JP2011110191A TRANSMITTER FOR RADIO CONTROL MODEL


2007-11-21

JP2009125212A RADIO CONTROL MODEL CAR CAPABLE OF STABLE TRAVELING


2002-01-31

JP2003220282A CONTROL CIRCUIT UNIT FOR MODEL CAR


2001-12-25

JP2003190659A MODULATION METHOD OF RADIO-CONTROLLED TRANSMITTER


2001-07-04

JP2003015752A TWO TERMINAL REGENERATION CIRCUIT


2000-04-20

JP2001300151A TRAVELING SYSTEM OF TRAVELING BODY

Système de comptage

1998-08-10

JP2000051540A DRIVE CIRCUIT FOR MODEL MAIN BODY


1998-03-09

JPH11253664A SYSTEM FOR COUNTING NUMBER OF CIRCUIT ROTATION TIMES OF MODEL MAIN BODY

Système de comptage

1997-09-29

JPH11103530A ELECTRONIC SWITCHING UNIT FOR MODEL


1987-06-26

JPS645581U ラジコン用送信機のスティック機構

Traduction automatique du titre: "Mécanisme de manche pour émetteur de radiocommande".
Les figures montrent un émetteur de radiocommande à manches.
Déposant: Kondo Kagaku Co., Ltd. (近藤科学株式会社)

1980-05-14

JPS56166095U 

Déposant: KO Propo

1979-11-12

JPS5673895U (ラジコン自動車のシャーシー) (chassis of a model radio controlled vehicle having a driving motor and a gear box thereof for each wheel)

Voiture R/C à quatre moteurs, un dans chaque roue. Traduction automatique du titre en japonais: "Châssis de voiture télécommandée". Déposant de la demande de brevet: Kondo Co., Ltd. (コンド株式会社).

1979-10-04

JPS5656391U  (ラジコン自動車のシャ シー) (model radio controlled vehicle having a driving motor and its cabinet on each wheel)

Voiture R/C à quatre moteurs, un dans chaque roue. Traduction automatique du titre en japonais: "Châssis pour voiture radiocommandée". Déposant de la demande de brevet: Kondō Kabushiki Kaisha (コンド株式会社).

1979-09-29

JPS5650495U (ラジコン自動車の駆動軸とホイールの取 付機構) (mechanism for attaching a drive shaft and a wheel for driving a wheel in a radio controlled model car)

Traduction automatique du titre en japonais: "Mécanisme de fixation de l'arbre de transmission et de la roue pour une voiture radiocommandée". Déposant de la demande de brevet: Kondō Co., Ltd. (コンド株式会社).

1979-09-24

JPS56116086U  (ラジコン自動車のシャーシー) (chassis of a model car having a driving motor and a gear box thereof for each wheel)

Voiture R/C à quatre moteurs, un dans chaque roue. Traduction automatique du titre en japonais: "Châssis de voiture télécommandée". Déposant de la demande de brevet: Kondō Corporation (コンド株式会社).

1979-09-22

JPS5650495U (ラジコン自動車の駆動軸とホイールの取 付機構)

Traduction automatique du titre en japonais: "Mécanisme de fixation de l'arbre de transmission et de la roue pour une voiture radiocommandée". Déposant de la demande de brevet: Kondo Kabushiki Kaisha (コンド株式会社).

1979-06-20

JPS563088A CONTROL MECHANISM OF MOTOR FOR DRIVING MOTOR RADIOCONTROLLING AUTOMOBILE

Déposant: KONDO KK

1979-02-20

JPS55119790U (model RC 4 wheeled vehicle shake having one driving motor for one wheel)

Voiture R/C à quatre moteurs, un dans chaque roue. Traduction automatique du titre en japonais: "Châssis pour voiture radiocommandée". Déposant de la demande de brevet: Kondo Co., Ltd.

1979-02-10

JPS55116698U (switch which switches the connection of power source batteries in series or parallel by remote control according to the state of running in a radio controlled vehicle)

Traduction automatique du titre en japonais: "Interrupteur à bascule". Le document concerne un commutateur destiné à une voiture radiocommandée, permettant de commuter à distance la connexion des batteries d'alimentation entre un montage en série ou en parallèle, selon les conditions de conduite. Déposant de la demande de brevet: Kondo Co., Ltd. (コンド株式会社).

1979-01-28

JPS55109597U (power transmission device for driving a wheel in a four-wheel drive radio control model car)

Traduction automatique du titre en japonais: "Dispositif de transmission pour voiture radiocommandée". Déposant de la demande de brevet: Kondo Co., Ltd.

1979-01-28

JPS55109230U 切替スイッチ

Traduction automatique du titre en japonais: "Commutateur". Spécidiquement pour la commande par radiocommande (RC) de voitures miniatures.Déposant de la demande de brevet: Kondo Co., Ltd. (コンド株式会社).

1978-11-17

JPS5575388U (Transmission gear)

Traduction automatique du titre en japonais: "Dispositif de transmission pour les voitures télécommandées". Déposant de la demande de brevet: Kondo Co., Ltd.

1978-11-09

JPS5570199U ラジコン自動車の速度調節及び差動装置 (Radio control car having independent driving motors for the left and right wheels)

Traduction automatique du titre en japonais: "Dispositif de commande de vitesse et de différentiel pour une voiture radiocommandée".
Dispositif de contrôle de vitesse et de différentiel pour voiture radiocommandée possédant des moteurs d'entraînement indépendants pour les roues gauche et droite
Déposant de la demande de brevet: Kondo Co., Ltd. (コンド株式会社).

1978-10-03

JPS5547878A FRONT WHEEL DRIVING GEAR IN RADIOOCONTROLLED AUTOMOBILE

Déposant: KONDO KK

Kraft Systems

Date de priorité

Numéro de publication et titre

Commentaires

1980-12-08

US4325050A Control stick assembly


1975-03-31

US4093953A Control stick assembly for radio control equipment


Kubota Co. Ltd / Kubota Meteorological Instruments Co., Ltd. / 久保田工業株式会社

Date de priorité

Numéro de publication et titre

Commentaires

1986-05-26

JPS62277984A RADIO CONTROL TRANSMITTER

Déposant: Kubota Co. Ltd

1976-12-27

JPS5391791U 玩具自動車用簡易ラジコン受信機の

Traduction automatique du titre en japonais: "Circuit de relais de réception simple pour voiture jouet".
Déposant: Kubota Meteorological Instruments Co., Ltd. ("久保田工業株式会社").

1976-12-27

JPS5391790U 玩具自動車用簡易ラジコン送信機のマルチ バイブレータ回路

Traduction automatique du titre en japonais: "Circuit multivibrateur pour l'émetteur radio-commandé simplifié d'une voiture miniature (jouet)".
Déposant: Kubota Meteorological Instruments Co., Ltd. ("久保田工業株式会社").

Kyosho Corp. / 京商株式会社

Date de priorité

Numéro de publication et titre

Commentaires

2017-08-31

JP2019041948A SENSORY RADIO CONTROL TOY AND ITS OPERATION METHOD


2016-10-03

JP2018057496A TRACK FOR TRAVELING TOY, AND TRAVELING TOY SET


2016-08-05

JP2016202953A LEVEL DETERMINATION PROGRAM APPLIED TO TOY SYSTEM


2015-04-24

JP2016202663A TOY SYSTEM, SERVER FOR TOY SYSTEM, AND RADIO CONTROL TOY


2008-02-06

JP2009183476A DRIVE UNIT OF RADIO CONTROLLED CAR

Pour les Mini-Z

2008-02-06

JP2009183474A BODY MOUNTING STRUCTURE OF RADIO CONTROLLED CAR

Pour les Mini-Z

2008-02-06

JP2009183477A STEERING CONTROL DEVICE OF RADIO CONTROLLED CAR

Pour les Mini-Z

2008-02-06

JP2009183475A CHASSIS DIMENSION CHANGING MECHANISM OF RADIO CONTROLLED CAR

Pour les Mini-Z

2008-02-06

JP3141004U ラジオコントロールカーのボディ取付構造

Traduction automatique du titre: "Structure de montage de la carrosserie d'une voiture radiocommandée".

2006-05-17

JP2007309156A ELECTRIC STARTER DEVICE OF MODEL ENGINE


2005-05-24

JP2006325708A TRANSMITTER FOR ENGINE CAR


2005-05-11

JP2006314463A RADIO CONTROLLED CAR


2004-04-27

JP2005315089A ENGINE-RUN TOY


2004-04-27

JP2005312495A ENGINE PROPELLED TOY


2004-04-15

EP1586766A2 Gear system having a gear installed with shock absorber means in model engine starter


2004-08-13

EP1580423A2 Model engine starter


2003-05-30

JP2004351076A BODY MOUNTING STRUCTURE OF MODEL TOY


2003-05-01

JP2004329369A SUSPENSION DEVICE OF CAR TOY

Pour les Mini-Z

2003-05-01

JP2004329371A FRONT WHEEL SIDE SUSPENSION DEVICE OF CAR TOY

Pour les Mini-Z

2003-05-01

JP2004329372A REAR WHEEL SIDE SUSPENSION DEVICE OF CAR TOY

Pour les Mini-Z

2003-05-01

JP2004329368A STEERING GEAR OF CAR TOY

Pour les Mini-Z

2003-05-01

JP2004329370A BATTERY BOX OF CAR TOY

Pour les Mini-Z

2003-03-20

EP1460288A1 Connecting rod with a rotatable terminal


2002-11-15

JP2004166720A RADIO CONTROL TWO-WHEELER TOY

Moto R/C

2002-08-28

JP2004081689A RADIO-CONTROLLED AUTOMOBILE TOY


2002-08-28

JP2004081691A RADIO-CONTROLLED AUTOMOBILE TOY


2002-08-16

JP2004073444A BODY MOUNTING STRUCTURE FOR TOY MODEL


2001-09-21

JP2003093759A CONNECTION ROD FOR TOY


1998-02-06

JP3039505B2 CONTROLLER FOR RADIO-CONTROLLED TOY

Déposé sous le nom de Kyoushou

1998-02-06

JP3039504B2 CONTROLLER FOR RADIO-CONTROLLED TOY

Déposé sous le nom de Kyoushou

1999-02-16

JP2000233085A SUSPENSION FOR TOY


1996-09-02

JP3036013U 走行玩具用タイヤ

Traduction automatique du titre: "Pneu pour jouet roulant (véhicule radiocommandé)".
Lors de l'application de colle sur plusieurs points pour fixer un pneu à une jante, la colle peut durcir de manière inégale, ce qui entraîne souvent une déformation du pneu lors du montage final.
Le pneu décrit dans ce document comporte avec une rainure d'injection d'adhésif de colle formée le long de la circonférence sur la surface de contact entre le talon du pneu et le flasque de la roue, ce qui permet une fixation plus homogène et stable.
Déposant: Kyosho Corporation (京商株式会社).

1994-08-02

JP2590403B2 BRAKE DEVICE FOR TRANSMISSION OF MODEL AUTOMOBILE


1993-07-16

FR2700708A1 Appareil pour jouet de course.

Le système de comptage Lap-Boy. KIYOUSHIYOU KK est un nom souvent assOSHO CORP.

1990-06-28

JPH0427996U 走行玩具

Traduction automatique du titre: "Jouet roulant".
Déposant: Kyosho Corporation (京商株式会社)

1980-10-24

JPS5774095U 電動走行車玩具の前車輪操縦装置

Traduction automatique du titre en japonais: "Dispositif de direction des roues avant pour jouet motorisé roulant".
Déposant: Kiso Seisakusho Co., Ltd. (株式会社 木曽製作所).

1978-02-23

JPS54126792U (Switching gear shaft rotating device for a radio-controlled traveling toy or the like)

Traduction automatique du titre en japonais: "Dispositif de rotation d'axe d'engrenage". Déposant de la demande de brevet: Kiso Seisakusho Co., Ltd. (株式会社 木曽製作所)

1978-02-23

JPS54126792U  無線操縦される走行玩具等の切替

Traduction automatique du titre en japonais: "Dispositif de commutation pour jouets roulants radiocommandés, etc.". Déposant de la demande de brevet: Kiso Seisakusho Co., Ltd. (株式会社 木曽製作所)

1977-10-05

JPS5460589U 模型自動車における方向変換装置

Traduction automatique du titre en japonais: "Dispositif de conversion de direction dans des modèles de voitures". Déposant de la demande de brevet: Kyosho Corporation (京商株式会社).

LeViteZer

Date de priorité

Numéro de publication et titre

Commentaires

2012-09-14

US9814996B2 Anti-roll and suspension system for radio controlled car

Système de suspension magnétique pour Kyosho Mini-Z

Line's Brothers

Date de priorité

Numéro de publication et titre

Commentaires

1958-03-25

CA554983A RADIO-CONTROLLED MODEL SHIPS OR BOATS


1954-03-12

US2742735A Steering device for model boat or vehicle


1954-03-12

DE1006045B Fernsteuerung eines kleinen Elektromotors durch ueber einen Radiosender ausgestrahlte und von einem Radioempfaenger aufgenommene Signale


1954-03-12

FR1120337A Perfectionnements apportés aux modèles réduits de bateaux télécommandés par radio


1954-03-12

FR1120420A Perfectionnements aux appareils de télécommande par radio


1954-03-12

GB759201A Improvements relating to radio-controlled model boats or vehicles


1954-03-12

GB774120A Improvements in radio-control apparatus


1953-12-16

GB747701A Improvements in apparatus for controlling movements of model ships or other toys


Longitudinal and Latitudinal Industry Limited Company in Xianghai Area of / 汕头市澄海区经纬实业有限公司

Date de priorité

Numéro de publication et titre

Commentaires

2025-12-09

CN223818160U 一种大电量玩具车 (Toy car with large electric quantity)


2025-12-09

CN223800066U 一种小尺寸漂移车 (Small-size drifting vehicle)


2021-12-24

CN216755388U Toy remote controller


Team Losi (voir aussi sous les noms de Horizon Hobby, ARRMA et Durango)

Date de priorité

Numéro de publication et titre

Commentaires

2011-04-13

CN102734034A Motor starter for remote control model vehicle


2011-04-13

CN102734034A Motor starter for remote control model vehicle


2011-04-13

TW201240708A Electric starter of remote control model car


2008-09-25

TWM355740U Limited slip differential for model car


2004-10-25

US2006089202A1 Constant velocity universal joint system

Cardans à double articulation Team Losi

2003-04-09

TW200420872A Shock balancing tool


1991-08-01

US5178251A Miniature vehicle drive train protection assembly

Le fameux Hydra-Drive du Team Losi XX

Mabuchi Motor Co., Ltd. / マブチモーター株式会

Date de priorité

Numéro de publication et titre

Commentaires

1985-04-16

JPS60180495U (ラジオ・コントロール制御装置)

Traduction automatique du titre en japonais: "Dispositif de commande radiocommandé".

1985-03-26

JPS60171495U ラジオ・コントロール制御装置

Traduction automatique du titre en japonais: "Dispositif de commande par radio-contrôle (Radiocommande)".

1979-09-11

US4275394A Radio control driving circuit device


1979-04-24

JPS55141271A MODEL TOY DRIVEN BY ENGINE


1979-04-24

GB2050180A MODEL TOY


1978-09-26

US4275394A Radio control driving circuit device


1978-09-25

GB2032713A ELECTRICAL CIRCUIT FOR CONTROLLING TWO ELECTRIC MOTORS


1978-03-15

US4258499A Electrically-operated mobile model toy


1978-03-15

GB2018144A MOBILE MODEL TOY


1978-03-15

JPS54123342A ELECTRICALLY MOVING MODEL


1978-03-15

JPS54136093U (Racing car driven by a radio control device)

Piste 1/12° électrique. Traduction automatique du titre en japonais: "Dispositif de déplacement de modèle électrique".

1977-12-07

US4197672A Model racing car


1977-05-12

JPS52156401U ラジコン玩具における雑音電圧消去装置

Traduction automatique du titre en japonais: "Dispositif de suppression des parasites électriques pour les jouets radiocommandés.".

1977-04-15

GB1597317A RADIO CONTROL SYSTEM


1977-04-15

JPS53128434A RADIO CONTROLLED SYSTEM


1977-04-15

JPS53128435A RADIO CONTROLLED SYSTEM


1977-04-08

JPS52167384U 電動模型・玩具

Traduction automatique du titre en japonais: "Modèle électrique / Jouet".

1976-04-30

JPS52134532A MOTORRDRIVEN MODEL TOY


1975-12-29

JPS5282542A ELECTRIC MODEL TOY WITH RADIO CONTROL


1975-08-28

HK58379A RADIO CONTROL BATTERY OPERATED MODEL TOY


1974-07-20

GB1502436A RADIO CONTROL SYSTEMS


1974-04-29

US3937911A CIRCUIT BREAKER FOR SMALL SIZE MOTORS


1974-04-23

GB1472280A ELECTRIC MOTOR AND MODEL VEHICLES INCLUDING SAME


1972-09-19

JPS4965394U 模型機の無線操縦装置に於ける操舵装置

Traduction automatique du titre en japonais: "Dispositif de direction pour appareil de radiocommande de modèle réduit".
Déposant de la demande de brevet: Kenichi Mabuchi (馬渕 健一), fondateur de Mabuchi Motor.

1972-09-19

JPS4965393U 模型機の無線操縦装置に於ける操舵装置

Traduction automatique du titre en japonais: "Dispositif de direction pour appareil de radiocommande de modèle réduit".
Déposant de la demande de brevet: Kenichi Mabuchi (馬渕 健一), fondateur de Mabuchi Motor.

Mantua Model

Date de priorité

Numéro de publication et titre

Commentaires

1995-09-07

ITMN950026A1 AMMORTIZZATORE IDRAULICO PER AUTOMODELLI

Amortisseurs hydrauliques.

Maruesu-do Co., Ltd. / 有限会社マルエス堂 / Maruesu Co., Ltd. / 有限会社 マルエス

Date de priorité

Numéro de publication et titre

Commentaires

1979-12-17

JPS5693296U (模型自動車の前輪ブレーキ装 置 ) (front wheel brake device for a model car)

Freins pour les roues avant d'une piste 1/8° thermique. Traduction automatique du titre en japonais: "Dispositif de freinage de roue avant pour voiture modèle". Déposant de la demande de brevet: Maruesu-do Co., Ltd. (有限会社マルエス堂).

1978-11-08

JPS5570194U (模形自動車用ブレーキ装 置) (Wheel brake)

Freins électromagnétiques pour roues avant de châssis piste électrique, probablement au 1/12°. Traduction automatique du titre en japonais: "Dispositif de freinage pour véhicules automobiles miniatures". Déposant de la demande de brevet: Maruesu-do Co., Ltd. (有限会社マルエス堂).

1978-04-26

JPS54157694U 模型自動車駆動装置

Traduction automatique du titre en japonais: "Dispositif d'entraînement pour voitures miniatures".
Le document divulgue un dispositif d'entraînement pour modèle réduit de voiture comportant plusieurs moteurs électriques, chacun équipé d'un pignon à l'extrémité de son arbre de sortie, qui sont montés sur un support moteur de manière à ce que les pignons de chacun desdits moteurs engrènent avec une seule couronne commune, ladite couronne étant connectée à un essieu pour permettre la transmission de la force motrice, chacun desdits moteurs étant connecté à un dispositif de contrôle capable de basculer sélectivement entre un contrôle indépendant ou des connexions série/parallèle.
Déposant de la demande de brevet:  Maruesu Co., Ltd. (有限会社 マルエス).

Marui / Tokyo Marui Co. Ltd / 株式会社東京マルイ

Date de priorité

Numéro de publication et titre

Commentaires

2003-08-12

JP4327529B2 BATTERY PACK WITH CONNECTOR, AND MOTORIZED TOY GUN USING IT


1983-12-01

JPS6094293U 

Châssis pour wheeling du Marui Super Wheelie.

Marvin Glass and Associates

Date de priorité

Numéro de publication et titre

Commentaires

1973-06-12

US3878521A REMOTELY CONTROLLED TOY HAVING A NON-FREQUENCY DISCRIMINATING RECEIVER

Déposant: Marvin Glass and Associates.

Masudaya Toy Co. / Masudaya Corporation / 株式会社増田屋斎藤貿易 / Masudaya Saito Boeki Co., Ltd. / 株式会社増田屋斎藤貿易

Date de priorité

Numéro de publication et titre

Commentaires

1987-11-04

JPH052235Y2 玩具自動車における乗車人形の作動装置

Traduction automatique du titre en japonais: "Dispositif de direction pour jouet automobile radiocommandé".
Le document concerne un kart radiocommandée comportant un dispositif pour jouets automobiles permettant à une figurine de passager de s'incliner vers l'intérieur lors d'un virage, créant ainsi un mouvement qui répond à la force centrifuge.
Déposant de la demande de brevet: Masudaya Corporation (株式会社増田屋斎藤貿易).

1987-09-17

JPH0429674Y2 無線操縦自動車玩具の操縦装置

Traduction automatique du titre en japonais: "Dispositif d'actionnement pour une figurine assise dans une automobile jouet". Le document décrit un mécanisme de direction utilisant un levier en forme de L et des aimants pour maintenir les roues dans une position définie.
Déposant de la demande de brevet: Masudaya Corporation (株式会社増田屋斎藤貿易).

1987-03-31

JPS63242296A 走行玩具の前車輪ステアリング装置等被 動機構の作動装置 (OPERATION APPARATUS OF MOVING MECHANISM SUCH AS FRONT WHEEL STEERING APPARATUS OF RUNNING TOY)

Traduction automatique du titre en japonais: "Appareil d'actionnement pour un dispositif de direction de roue avant de jouet roulant et d'autres mécanismes entraînés".
Déposant de la demande de brevet: Masudaya Saito Boeki Co., Ltd. (株式会社増田屋斎藤貿易).

1978-08-17

JPS5530114U 電動走行玩具の無線操縦装置

Traduction automatique du titre en japonais: "Dispositif de commande sans fil pour jouet électrique roulant".
Déposant de la demande de brevet: Masudaya Saito Boeki Co., Ltd. (株式会社増田屋斎藤貿易).

1979-08-15

JPS5630998U 音波等による操縦走行玩具

Traduction automatique du titre en japonais: "Un jouet mobile contrôlé par des ondes sonores ou similaires".
Déposant de la demande de brevet: Masudaya Saito Boeki Co., Ltd. (株式会社増田屋斎藤貿易).

1978-08-18

JPS5530132U 電動走行宇宙船玩具の無線操 縦 (Radio control device of an electric traveling space vehicle toy)

Traduction automatique du titre en japonais: "Jouet de vaisseau spatial électrique télécommandé".
Déposant de la demande de brevet: Masudaya Saito Boeki Co., Ltd. (株式会社増田屋斎藤貿易).

1978-06-07

JPS54179288U 考案の名称 無線操縦自動車玩具の操縦装置 (Radio-controlled automobile toy equipped with the control device)

Traduction automatique du titre en japonais: "Dispositif de commande pour jouet automobile radiocommandé".
Déposant de la demande de brevet: Masudaya Saito Boeki Co., Ltd. (株式会社 増田屋斎藤貿易).

1978-04-28

JPS54160297U 走行玩具における前車輪の支持装 置 (Front wheel support device for a traveling toy)

Traduction automatique du titre en japonais: "Support pour la roue avant d'un jouet roulant".  Déposant de la demande de brevet: Masudaya Saito Boeki Co., Ltd. (株式会社 増田屋斎藤貿易)

1978-04-26

JPS54157695U 玩具自動車用車輪 (Wheel for a toy car)

Traduction automatique du titre: "Roue de voiture jouet".
Déposant de la demande de brevet: Masudaya Saito Boeki Co., Ltd. (株式会社 増田屋斎藤貿易).

1978-01-12

JPS54107498U 走行車玩具の無線操縦装置

Traduction automatique du titre en japonais: "Dispositif de radiocommande pour jouets de véhicules roulants".
Déposant de la demande de brevet: Masudaya Saito Boeki Co., Ltd. (株式会社増田屋斎藤貿易).

1978-01-12

JPS54107497U  走行車玩具の無線操縦装置

Traduction automatique du titre en japonais: "Dispositif de commande sans fil pour jouet automobile".
Déposant de la demande de brevet: Masudaya Saito Boeki Co., Ltd. (株式会社増田屋斎藤貿易).

1978-01-12

JPS5544075Y2  走行車玩具の無線操縦装置

Traduction automatique du titre en japonais: "Dispositif de commande sans fil pour jouet de véhicule motorisé".
Déposant de la demande de brevet: Masudaya Saito Boeki Co., Ltd. (株式会社増田屋斎藤貿易).

1978-01-06 JPS54105695U 無線操縦自動車玩具の方向舵輪の Traduction automatique du titre en japonais: "Mécanisme de rotation pour la roue de direction d'un jouet automobile radiocommandé".
Demandeur : Masudaya Saitō Bōeki Co., Ltd. (株式会社 増田屋斎藤貿易).

1977-12-30

JPS54105694U 無線操縦玩具における受信表示装置

Traduction automatique du titre en japonais: "Dispositif d'affichage de réception pour jouets radiocommandés".
Déposant de la demande de brevet: Masudaya Saito Boeki Co., Ltd. (株式会社増田屋斎藤貿易).

1977-07-25

GB1581242A RADIO CONTRALLABLE TOY VEHICLE


1977-07-25

GB1581243A RADIO CONTROLLABLE TOY VEHICLE


1977-06-09

JPS542837A 電動走行玩具 MOTOR TRAVELLING TOY

Traduction automatique du titre en japonais: "Jouet électrique télécommandé".
Déposant de la demande de brevet: Masudaya Saito Boeki Co., Ltd. (株式会社増田屋斎藤貿易).

1977-02-28

JPS53120196U 電動走行玩具の操縦装置

Traduction automatique du titre en japonais: "Dispositif de contrôle pour un jouet à propulsion électrique".
Déposant de la demande de brevet: Masudaya Saito Trading Co., Ltd.

1967-09-19

JPS4614174Y1 電波 操縦玩具用電波発信機

Traduction automatique du titre en japonais: "Émetteur radio pour jouets radiocommandés".
Déposant de la demande de brevet: Masudaya Saito Boeki Co., Ltd. (株式会社増田屋斎藤貿易).

1966-07-18

JPS4630958Y1 電波操縦による走行玩具の駆動軸操作装 置

Traduction automatique du titre en japonais: "Dispositif de commande de l'arbre de transmission pour jouet roulant radiocommandé".
Déposant de la demande de brevet: Masudaya Saito Boeki Co., Ltd. (株式会社増田屋斎藤貿易).

Matsushiro Co., Ltd. /株式会社マツシロ

Date de priorité

Numéro de publication et titre

Commentaires

1983-04-19

JPS59164697U ラジオコントロール カーの方向変換装置

Traduction automatique du titre en japonais: "Dispositif de changement de direction pour voiture radiocommandée". Déposant de la demande de brevet: Matsushiro Co., Ltd.

1983-01-19

JPS59111198U ラジオコントロール カー

Traduction automatique du titre en japonais: "Voiture radiocommandée". Déposant de la demande de brevet: Kabushiki-gaisha Matsushiro (株式会社マツシロ).

1982-12-28

US4457101A Radio-controlled toy car


1982-12-15

US4480401A Radio-controlled car


1979-12-04

JPS5684897U (がん具走行車両のステ アリング装置) (steering apparatus)

Traduction automatique du titre en japonais: "Dispositif de direction pour véhicule jouet". Déposant de la demande de brevet: Matsushiro Co., Ltd. ( 株式会社 マツシロ).

1979-12-04

JPS5684896U (がん具走行車両のステ アリング装置) (steering apparatus)

Traduction automatique du titre en japonais: "Dispositif de direction pour véhicule jouet à chenilles". Déposant de la demande de brevet: Matsushiro Co., Ltd. ( 株式会社 マツシロ).

1979-10-19

JPS5661283U がん具走行車両のリトラ クタブルヘッドライト

Traduction automatique du titre en japonais: "Phares rétractables pour véhicules jouets". Déposant de la demande de brevet: Mutsushiro Co., Ltd. ( 株式会社 マツシロ).

1979-10-19

JPS5661284U (ラジコンがんぐ走行車 両のウインカー点波装置) (steering system of a radio controlled electric car)

Traduction automatique du titre en japonais: "Dispositif de clignotant pour véhicule jouet radiocommandé". Déposant de la demande de brevet: Mutsushiro Co., Ltd. ( 株式会社 マツシロ).

1979-10-19

JPS5661285U (がん具走行車両のピッ トマンアーム) (steering system of a radio controlled electric car)

Traduction automatique du titre en japonais: "Bras de Pitman pour un véhicule jouet". Déposant de la demande de brevet: Matsushiro Co., Ltd. ( 株式会社 マツシロ).

1979-10-19

US4320441A Retractable headlights for radio-controlled toy vehicles


Matsushita Electric Industrial Co., Ltd. (MEI) / 松下電器産業株式会社 / Panasonic Corporation

Date de priorité

Numéro de publication et titre

Commentaires

1968-09-03

JPS4844454Y1 リモートコントロール 用発振器

Traduction automatique du titre en japonais: "Oscillateur pour télécommande
Déposant de la demande de brevet: Matsushita Electric Industrial Co., Ltd.

1967-06-23

JPS452746Y1  制御装置

Traduction automatique du titre en japonais: "Dispositif de commande". Le document décrit un circuit de commande à haute sensibilité pour des télécommandes, notamment appliqué à des voitures jouets.
Déposant de la demande de brevet: Matsushita Electric Industrial Co., Ltd.

1967-06-23

JPS452745Y1  リモートコントロール装置

Traduction automatique du titre en japonais: "Dispositif de contrôle à distance". Un mode de réalisation divulgue que ce dispositif de contrôle à distance de cette proposition soit utilisé pour une automobile jouet.
Déposant de la demande de brevet: Matsushita Electric Industrial Co., Ltd.

Mattel Inc.

Date de priorité

Numéro de publication et titre

Commentaires

2001-02-09

EP1230963B1 Remotely-controlled toy skateboard device


MEIZHOU MAIKALUOTE INNOVATION TECH Co. Ltd. / 梅州市迈卡洛特创新科技有限公司

Date de priorité

Numéro de publication et titre

Commentaires

2024-10-24

CN223416727U Remote control toy car with image transmission function


2024-09-23

CN223263404U Miniature remote control toy car with camera


Mettoy the Co.

Date de priorité

Numéro de publication et titre

Commentaires

1980-10-02

GB2084475A Toy vehicles


1978-10-16

GB2006495A Improvements in and relating to remote control apparatus and to toys utilising such apparatus


Metz Apparatewerke

Date de priorité

Numéro de publication et titre

Commentaires

1965-08-21

DE1267317B Fernsteuersystem


1964-05-29

DE1478547A1 Proportionalsteuerung


1964-06-18

DE1478550A1 Proportionalsteuerung mit wahlweise lagestabil oder selbstneutralisierend einstellbarer Rudermaschine


1966-07-01

DE1945542U RUDERMASCHINE.


1960-11-29

DE1829690U Fernsteuersignal-Empfangsanordnung


MiBorg-RC

Date de priorité

Numéro de publication et titre

Commentaires

2012-09-26

FR2995954A1 JOINT UNIVERSEL NOTAMMENT ADAPTE AU MODELISME.

Cardans RCV.

MJLRC / SHENZHEN MAIJIELUO REMOTE CONTROL TECH Co. Ltd. / 深圳市迈杰罗遥控技术有限公司

Date de priorité

Numéro de publication et titre

Commentaires

2024-06-04

CN222598159U Heat dissipation structure of remote control model car


2023-08-14

CN220572648U Model car with automatic car body locking mechanism


2023-08-14

CN220404810U Remote control model car with car shell convenient to replace


MJX R/C Technic / Guangdong Meijiaxin Innovative Tech Co. Ltd. / 广东美嘉欣创新科技股份有限公司

Date de priorité

Numéro de publication et titre

Commentaires

2024-01-25

CN222814298U Waterproof structure of power regulation and control device


2023-12-29

CN222215354U Waterproof structure based on inductive motor


2023-12-29

CN222215476U Inductive brushless motor


2023-09-22

CN219897032U Model car

Monster Truck

2023-09-15

CN219848143U Combined pull rod shaft type rear axle for climbing vehicle and model vehicle

Crawler

2023-03-15

CN220002949U Model car steering mechanism


2023-03-15

CN219866092U Two-gear gearbox of model car


2022-05-05

CN217661484U Toy car steering structure


2016-05-23

CN205647309U Brushless motor speed regulator


2015-09-01

CN204913232U Device of equipment motor shaft gear


2015-08-11

CN205111998U Dash device that removes toy wheel skin


2013-12-10

CN203609867U Car-operation-simulation toy car remote controller


2013-12-10

CN203609867U Car-operation-simulation toy car remote controller

Déposé sous le nom Guangdong Meijiaxin Toys Co., Ltd. (广东美嘉欣玩具有限公司)

2012-06-20

CN202654722U Dual-mode model airplane remote controller with simple structure

Déposé sous le nom Guangdong Meijiaxin Toys Co., Ltd. (广东美嘉欣玩具有限公司)

MIP

Date de priorité

Numéro de publication et titre

Commentaires

2012-01-13

US2013180813A1 FLUID-FILLED SHOCK ABSORBER


Mitsubishi Rayon Co., Ltd. 三菱レイヨン株式会社 / Goyo Bussan Co., Ltd. / 五洋物産株式会社

Date de priorité

Numéro de publication et titre

Commentaires

1979-12-26

JPS5698294U (リヤシャフト) (radio control racing car suspension)

Arbre arrière pour voitures de course radiocommandée atteignant des vitesses de plus de 80 km/h caractérisé par une couche de résine renforcée par des fibres de carbone alignées dans le sens longitudinal de l'arbre, cette couche étant au moins sur la surface extérieure de l'arbre. Traduction automatique du titre en japonais: "Arbre de roue arrière". Déposant de la demande de brevet: Goyo Bussan Co., Ltd. (五洋物産株式会社).

1979-12-26

JPS5698295U (サスアーム) model car loaded with a suspension arm)

Bras de suspension fabriqué à partir d'une résine renforcée de fibres de carbone, avec les fibres orientées dans le sens de la longueur pour voitures de course radiocommandées dépassant les 80 km/h. Traduction automatique du titre en japonais: "Bras de suspension". Déposant de la demande de brevet: Goyo Bussan Co., Ltd. (五洋物産株式会社).

1979-12-25

JPS5695289U (メインギア) (main gear of a model car)

Couronne pour les voitures de course radiocommandées pouvant atteindre des vitesses de plus de 80 km/h comprenant une partie dentée et une partie comprenant une couche de feuille de fibre de carbone imprégnée de résine. Traduction automatique du titre en japonais: "Engrenage principal". Déposant de la demande de brevet: Goyobussan Co., Ltd. (五洋物産株式会社), représenté par un mandataire ravaillant chez Mitsubishi Rayon Co., Ltd. (三菱レイヨン株式会社).

1979-11-16

JPS5675992U (シャーシー) (radio control racing car)

Châssis pour voiture de course radiocommandée fabriqué à partir d'une plaque de résine renforcée de fibres de carbone, fabriquée en superposant alternativement des préimprégnés de fibres de carbone unidirectionnelles imprégnées de résine dans le sens de la longueur et de la largeur du châssis. Traduction automatique du titre en japonais: "Châssis". Déposant de la demande de brevet: Mitsubishi Rayon Co., Ltd. (三菱レイヨン株式会社).

Mitsumi Electric Co., Ltd. / ミツミ電機株式会社

Date de priorité

Numéro de publication et titre

Commentaires

2004-12-28

JP2006187337A MOVING STATE MEASUREMENT SYSTEM, MOVING DEVICE AND MOVING STATE TIME MEASUREMENT METHOD

Système de comptage. Déposant: Mitsumi Electric Co., Ltd. (ミ ツミ電機株式会社).

2003-08-29

JP2005073722A REMOTE CONTROL METHOD AND REMOTE CONTROL SYSTEM

Déposant: Mitsumi Electric Co., Ltd. (ミツミ電機株式会社).

Mitsuwa Kogyo Co., Ltd. / ミツワ工業株式会社 / Daishi Toys Co., Ltd. / 大師玩具株式会社

Date de priorité

Numéro de publication et titre

Commentaires

1978-04-30

JPS54162387U 遠隔操縦模型飛行機における方向変換装 置

Traduction automatique du titre de la demande de brevet: "Dispositif de changement de direction pour jouets télécommandés".
Déposant: Mitsuwa Kogyo Co., Ltd. (ミツワ工業株式会社).

1978-06-08

JPS54179286U 遠隔操縦走行玩具における方向変換装置

Traduction automatique du titre: "Dispositif de changement de direction pour jouet roulant télécommandé".
Déposant: Mitsuwa Industry Co., Ltd. (ミツワ工業株式会社).

1977-12-10

JPS5494493U 無線操縦式走行玩具の方向変換装置

Traduction automatique du titre de la demande de brevet: "Dispositif de changement de direction pour jouets roulants radiocommandés".
Déposant: Mitsuwa Kogyo Co., Ltd. (ミツワ工業株式会社)

Mitsuya Kenkyusho KK

Date de priorité

Numéro de publication et titre

Commentaires

2005-12-28

JP2007177967A UNIVERSAL JOINT


2005-08-18

JP2007051692A UNIVERSAL JOINT


2004-01-30

JP2005214350A DAMPING-FORCE ADJUSTABLE DAMPER


2002-04-26

JP2003311031A WHEEL FOR MODEL


Motonica / Inovo Design

Date de priorité

Numéro de publication et titre

Commentaires

2011-11-14

ITTO20111047A1 PORTA MOZZO PER RUOTA DI VEICOLI.


2011-11-14

ITTO20111048A1 AUTOMODELLO A PROPULSIONE CON SISTEMA DI TRASMISSIONE PERFEZIONATO.


2005-02-04

ITTO20050023U1 SOSPENSIONE REGOLABILE PER UN AUTOMODELLO DINAMICO.


Mugen Seiki Co., Ltd. / 株式会社 無限精機

Date de priorité

Numéro de publication et titre

Commentaires

1986-03-13

JPS62149396U ラジコンカー用タイヤ

Traduction automatique du titre: "Pneu pour voiture radiocommandée".
Le document concerne un pneu destiné aux voitures radiocommandées, particulièrement adapté aux buggys tout-terrain, qui se compose d'une roue rigide, d'un corps de pneu non creux en matériau léger, et d'une ceinture annulaire amovible avec des crampons.
Déposant: Mugen Seiki Co., Ltd. (株式会社 無限精機).

Multiplex Modellsport

Date de priorité

Numéro de publication et titre

Commentaires

2015-09-17

EP3242733A1 IDENTIFICATION METHOD FOR REMOTE-CONTROLLED DEVICES


2012-10-27

DE202012010360U1 Servogehäuse


2011-04-13

DE102011016972A1 Fernsteuerungsvorrichtung


2011-04-02

DE102011015939A1 Betriebsverfahren für Fernsteuerungssystem


2010-11-17

DE102010051608A1 Verfahren zur Anpassung einer Fernsteuerung


1994-10-07

DE4435896A1 Funk-Telemetrieanlage für ferngesteuerte Modelle


1991-01-23

DE9100740U1 Steckverbinder für hohe Ströme


1983-11-25

DE3342575A1 Transmitting apparatus for radio remote control of models


1983-01-20

DE3301732A1 Transmitter with microprocessor for remotely controlling models


1981-02-04

DE8102818U1 ABTRIEBSHEBEL FUER RUDERMASCHINEN IN MODELLFAHRZEUG- ODER FLUGZEUGEN


1980-10-02

DE3037265A1 Remote-control transmitter for model - has receiver to check whether another model is using intended transmit channel


1980-04-12

DE3013716A1 Transmitter circuit for radio controlled model - operates on two servo motors simultaneously controlling differing functions


1977-01-29

DE2703700A1 Pulsed remote radio control system - uses pulses for sending analogue setting commands by cyclic allocation


Murata Manufacturing Co., Ltd. / 株式会社村田製作所

Date de priorité

Numéro de publication et titre

Commentaires

1977-06-25

JPS5412592U 無線式リモートコントロール受信装置

Traduction automatique du titre: "Appareil de réception de télécommande sans fil".
Déposant: Murata Manufacturing Co., Ltd. (株式会社村田製作所).

1977-06-25

JPS5412591U 無線式リモートコントロール送信装置

Traduction automatique du titre: "Dispositif de transmission de télécommande sans fil".
Déposant: Murata Manufacturing Co., Ltd. (株式会社村田製作所).

1977-06-25

JPS5412590U 無線式リモートコントロール装

Traduction automatique du titre: "Dispositif de télécommande sans fil".
Déposant: Murata Manufacturing Co., Ltd. (株式会社村田製作所).

My-Toy Company

Date de priorité

Numéro de publication et titre

Commentaires

1970-11-23

US3635304A RESETTABLE LOAD LIMITING SAFETY DECOUPLERS FOR A REMOTELY CONTROLLED TOY AUTOMOTIVE VEHICLE STEERING MECHANISM


Namero LCC / RedCat Racing

Date de priorité

Numéro de publication et titre

Commentaires

2023-09-18

US2025097919A1 Radio Transmit Controller


2017-11-09

US2024269575A1 Vehicle Suspension Moving System


2017-11-09

US11083973B2 Vehicle hopping system


Namiki Precision Jewel

Date de priorité

Numéro de publication et titre

Commentaires

2009-02-20

JP2010193694A DRIVING MOTOR OF SERVO UNIT FOR RADIO CONTROL


2006-06-21

JP2008005606A DRIVING MOTOR OF SERVO UNIT FOR RADIO CONTROL


2005-12-28

JP2007181350A MOTOR STRUCTURE OF SERVO UNIT FOR RADIO CONTROL


2003-12-24

JP2005192280A SMALL-SIZED CORELESS MOTOR AND RADIO CONTROL TYPE MODEL GAME MACHINE


NEC / Nippon Electric Co., Ltd. / 日本電気株式会社

Date de priorité

Numéro de publication et titre

Commentaires

1980-08-12

JPS5736986U 玩具用自動車

Traduction automatique du titre en japonais: "Voiture jouet". Déposant de la demande de brevet: Nippon Electric Co., Ltd. (日本電気株式会社), également connue sous le nom de NEC.

1979-08-20

JPS5631746U 無線制御装置

Traduction automatique du titre en japonais: "Dispositif de contrôle sans fil". Déposant de la demande de brevet: Nippon Electric Co., Ltd. (日本電気株式会社), également connue sous le nom de NEC.

New Bright Industrial Co., Ltd.

Date de priorité

Numéro de publication et titre

Commentaires

2000-06-12

US6338664B1 Toy vehicle having center steering circuit and remote controller with toggle function


New Japan Radio Co., Ltd. / 新日本無線株式会社

Date de priorité

Numéro de publication et titre

Commentaires

1992-11-27

JPH0644598U ラジオコントロール装置

Traduction automatique du titre: "Dispositif de radiocommande".
Déposant: New Japan Radio Co., Ltd. (新日本無線株式会社).

1987-11-18

JPH0181090U ラジオコントロール装置用集積回路

Traduction automatique du titre: "Circuit intégré pour dispositif de radiocommande".
Déposant: New Japan Radio Co., Ltd. (新日本無線株式会社).

1987-03-16

JPS63144784U ラジオコントロールカー用受信装置

Traduction automatique du titre: "Récepteur pour voiture radiocommandée".
Déposant: New Japan Radio Co., Ltd. (新日本無線株式会社).

1986-10-24

JPH052239Y2 ラジオコントロールカー用受信装置

Traduction automatique du titre: "Dispositif de réception pour voiture radiocommandée".
Déposant: New Japan Radio Co., Ltd. (新日本無線株式会社).

Nihon Denshi Kigyo Kabushiki Gaisha / 日本電子企業株式会社 / Nippon Electronics Enterprise Co., Ltd. / JEOL

Date de priorité

Numéro de publication et titre

Commentaires

1967-01-30

JPS4527641Y1 発振 器

Déposant: Nihon Denshi Kigyo Kabushiki Gaisha (日本電子企業株式会社) soit Nippon Electronics Enterprise Co., Ltd., renommé JEOL  (日本電子) en 1961.
Traduction automatique du titre: "

1967-01-26

JPS4328691Y1 玩具 疾走車の遠隔操作による方向転換装置

Déposant: Nihon Denshi Kigyo Kabushiki Gaisha (日本電子企業株式会社) soit Nippon Electronics Enterprise Co., Ltd., renommé JEOL  (日本電子) en 1961.
Traduction automatique du titre: "Dispositif de changement de direction par télécommande pour voiture de course jouet".

Nihon Teikouki Seisakusho Co., Ltd. /株式会社日本抵抗器製作所 / JRM / Japan Resistor Mfg. Co., Ltd.

Date de priorité

Numéro de publication et titre

Commentaires

1978-12-20

JPS5584187A (遠隔操縦用送信装置

Traduction automatique du titre en japonais: "Dispositif de transmission pour radiocommande".
Radiocommande comportant une unité de contrôle dotée d'un circuit de mémoire capable de stocker des programmes pour faire fonctionner des modèles réduits ou des jouets.
Déposant de la demande de brevet: Teikoku Tsushin Kogyo Co., Ltd. (株式会社日本抵抗器製作所).

1978-10-27

JPS5565097U (Speed controller)

Variateur mécanique pour châssis piste électrique, probablement au 1/12°. Traduction automatique du titre en japonais: "Contrôleur de vitesse pour radiocommande". Déposant de la demande de brevet: Nihon Teikoki Seisakusho (日本抵抗器製作所), JRM / Japan Resistor Mfg. Co., Ltd.

1978-04-19

JPS54138396A REMOTE STEERING TRANSMITTER

Traduction automatique du titre en japonais: "Dispositif émetteur pour télécommande". Déposant de la demande de brevet: Nihon Teikouki Seisakusho Co., Ltd. (株式会社日本抵抗器製作所), JRM / Japan Resistor Mfg. Co., Ltd.

Niigata Techno Co., Ltd. / 株式会社新潟テクノ


Date de priorité

Numéro de publication et titre


2014-05-07

JP3191891U ラジコンカー装置


2012-11-16

JP2014097268A CONTROL DEVICE FOR RADIO-CONTROLLED CAR


2012-11-16

JP2014097268A CONTROL DEVICE FOR RADIO-CONTROLLED CAR


2011-05-17

JP2012239547A RADIO-CONTROLLED CAR DEVICE


Nikko KK / Nitsukoo KK / Nikko Co., Ltd. / 株式会社 ニッコ一

Date de priorité

Numéro de publication et titre

Commentaires

2008-07-05

JP2010012115A RUNNING TOY

Un grand nombre de documents brevets déposés par Nikko listés dans le présent tableau concerne très probablement des jouets, mais beaucoup s'apparentent plus à du modélisme, la frontière entre les deux étant très perméable et pas toujours clairement définie.

2007-05-07

US2008280527A1 TRAVELING TOY AND RADIO-CONTROLLED TRAVELING TOY


2006-11-07

JP2008113973A TRANSMITTER AND RECEIVER FOR RADIO-CONTROLLED TRAVELING TOY, AND RADIO-CONTROLLED TRAVELING TOY


2006-05-31

US2007279297A1 Antenna for remote controlled toy, antenna cap and remote controlled toy


2004-10-18

US2008141776A1 Movable Body Speed Measuring System


2003-05-23

US2006276101A1 Radio-controlled toy two-wheeled vehicle


2003-01-17

US2006148374A1 Transmitter for wireless control


2002-12-27

WO2004060517A1 MOTOR DRIVEN TOY


2002-12-20

US2006154564A1 Two-wheeled toy vehicle by radio control


2002-12-19

US2006057934A1 Traveling toy and suspension of traveling toy


2002-02-20

US2005168373A1 Wireless control transmitter


2001-05-18

US2004137936A1 Transmitter for radio control


2001-03-22

EP1378279A1 DRIVE CONTROLLER


2000-06-15

US2001053653A1 Remote control running toys


1996-08-27

JP3704403B2 RADIO CONTROLLED AUTOMOBILE TOY WITH JUMPING MECHANISM


1995-09-07

US5725412A Jumping mechanism for a radio controlled toy car


1995-08-08

US5791190A Counter gear in a transmission gear mechanism for a radio controlled toy car


1995-08-08

EP0761269A1 Radio controlled toy car with a rolling mechanism


1995-06-28

US5722873A Radio-controlled toy car with an improved steering system


1995-06-14

JP3759199B2 DRIVE MECHANISM OF RADIO-CONTROLLED TOY


1995-05-23

US5842907A Radio-controlled toy missile launcher


1995-01-10

EP0721789A2 Toy vehicle


1994-12-28

US5667421A Toy vehicle


1994-05-25

JPH07313738A TRAVELING TOY


1993-05-26

JP3290753B2 RADIO-CONTROLLED TRAVELING TOY

Déposant: Nikko KK.




1992-02-07

US5484321A Radio-controlled track vehicles


1990-04-05

JP3055914B2 FALSE SOUND GENERATING DEVICE FOR CONTROLLER FOR RACING TOY

Déposant(s): Nikko KK - Nitsukoo KK

1990-03-15

US5088955A SOUND EFFECT DEVICE FOR RADIO CONTROLLABLE TOY VEHICLE


1989-09-26

JP2772062B2 DIRECTION CONVERTER FOR TRAVELING TOY

Déposant: Nitsukoo KK

1989-04-04

US5061579A BATTERY RECEPTACLE FOR RADIO CONTROLLABLE MOTOR TOYS


1987-09-12

US4898562A Direction converting device for a remote-controlled toy


1986-09-08

JPS6264382A APPARATUS FOR CONVERTING DIRECTION OF RUNNING TOY


1986-09-08

JPS6264384A APPARATUS FOR CONVERTING DIRECTION OF RUNNING TOY


1986-07-14

US4717366A Disguising toy car


1986-02-21

JPS62137096U  バッテリ駆動玩具の電源装置 

Traduction automatique du titre: "Dispositif d'alimentation pour jouet fonctionnant sur batterie".
Déposant: Nikko Co., Ltd. (株式会社ニッコー)

1986-02-21

US4739232A Power unit for a battery-driven toy


1985-01-17

JPH0632713B2 CAR BODY AUTOMATIC ERECTABLE TYPE RUNNING TOY


1984-05-30

JPH0324239Y2  走行玩具の方向変換制御装置

Traduction automatique du titre en japonais: "Dispositif de contrôle de changement de direction pour jouet roulant"

1984-04-13

US4617002A Wireless controllable car with a winch mechanism

Voiture R/C en forme de Truck équipée d'un treuil.

1984-02-15

EP0151664A1 Toy car.


1984-02-14

US4596534A Remotely-steered toy car with five wheels


1983-12-08

JPS6095746U (radio transmitter of a radio controlled toy)

Traduction automatique du titre en japonais: "Émetteur sans fil pour jouet télécommandé". Déposant de la demande de brevet: Nikko Corporation.

1983-11-17

JPS6083691U  走行玩具の方向変換装置

Traduction automatique du titre en japonais: "Dispositif de changement de direction pour jouet roulant". Déposant de la demande de brevet: Nikko Co., Ltd. (株式会社ニッコー).

1983-11-17

JPS6083690U  考案の名称 走行玩具の方向変換装置

Traduction automatique du titre en japonais: "Dispositif de changement de direction pour jouet roulant". Déposant de la demande de brevet: Nikko Co., Ltd. (出願人 株式会社 ニッコー).

1983-11-17

US4571213A Direction-converting device for a toy car


1983-11-02

US4563626A Rechargeable wireless-control toy


1983-03-29

JPS59177088A GEAR CHANGE MECHANISM OF REMOTE CONTROL TOY

Déposant(s): Nikko KK - Nitsukoo KK

1983-01-20

JPS59135086A IMPROVEMENT IN RUNNING TOY


1982-12-24

JPS58112578A APPARATUS FOR CONVERTING DIRECTION OF RUNNING TOY


1981-09-19

JPS5849174A DIRECTION CONVERTING APPARATUS OF RUNNING TOY

Déposant(s): Nikko KK - Nitsukoo KK

1981-09-19

JPS5849173A DIRECTION CONVERTING APPARATUS OF RUNNING TOY


1981-09-19

US4471566A Direction converting device for a running car racer


1981-09-04

JPS5839297U  進隔操縦走行玩具にかける方向変換装置

Moto R/C. Traduction automatique du titre en japonais: "Dispositif de changement de direction pour jouet mobile télécommandé". Déposant de la demande de brevet: Nikko Co., Ltd., mais ressemble fortement au document JPS57197998U déposé par Yonezawa Toys Co., Ltd. et portant le même titre.

1980-12-18

JPS57103796U  無線操縦玩具における電気信号のフィルタ

Traduction automatique du titre: "Filtre de signal électrique pour dispositifs de commande à distance".
Déposant: Nikko Co., Ltd. (株式会社ニッコー).

1980-11-05

JPS5781891U  無線操縦玩具における方向変換装置

Traduction automatique du titre en japonais: "Dispositif de changement de direction pour jouets radiocommandés".
Déposant: Kabushiki Kaisha Nitsuko (株式会社ニツコー).

1980-11-05

JPS5781890U 遠隔操縦オートバイ玩具

Moto R/C. Traduction automatique du titre en japonais: "Un jouet de moto télécommandé". Déposant de la demande de brevet: Nikko Co., Ltd. (株式会社ニツコー).

1979-04-19

JPS55151397U  遠隔操縦走行玩具における方向変換装置

Traduction automatique du titre en japonais: "Dispositif de conversion de direction pour essieu de véhicule". Déposant de la demande de brevet: Nikko Hattori Co., Ltd.

1978-09-08

JPS5540805U Radio control car

Boîte de vitesse pour motorisation électrique avec variation de la garde au sol. Traduction automatique du titre en japonais: "Voiture radiocommandée". Nom du déposant illisible. S'agit-il d'un document relatif au Buggy 1/10° électrique Big Thunder Off-Road Special référence 4900 de la marque japonaise Pro-Cision, qui était fabriqué par Nikko et également distribué sous sa propre marque sous le nom Big Thunder G3?

1978-05-12

JPS54166989U  遠隔操縦走行玩具における方向変換装置

Traduction automatique du titre en japonais: "Dispositif de changement de direction pour jouet télécommandé".

1978-04-27

JPS54160295U  遠隔操縦走行玩具における方向変換装置

Traduction automatique du titre en japonais: "Mécanisme de changement de direction dans un jouet de conduite télécommandé".

1977-12-10

JPS5494496U  無酸辣艇玩具における作動我

Variateur mécanique. Traduction automatique du titre en japonais: "Mécanisme de fonctionnement pour jouets radiocommandés".

1977-12-10

JPS5494495U  無探秘走行玩具

Semi-remorque R/C. Traduction automatique du titre en japonais: "Un jouet roulant sans fil". A noter un document similaire déposé par Yonezawa Toys Co., Ltd. (米澤玩具株式会社), JPS55148800U.
Déposant: Nikko Co., Ltd. (株式会社 ニッコ一).

1977-03-29

JPS53135096U  遠隔操縦走行玩具における方向変換装置

Traduction automatique du titre en japonais: "Dispositif de changement de direction pour jouet roulant télécommandé".

1977-03-29

JPS53135095U  遠隔操縦走行玩具における方向変換装置

Traduction automatique du titre en japonais: "Dispositif de changement de direction pour jouet roulant télécommandé".

1977-03-14

JPS53126796U  遠隔操作走行玩具における方向変換装置

Traduction automatique du titre en japonais: "Dispositif de changement de direction pour jouet roulant télécommandé".

1977-03-05

JPS53121986U  Radio-controlled automobile toy having a battery consumption checking device

Traduction automatique du titre en japonais: "Dispositif de confirmation de l'épuisement de la batterie pour un jouet télécommandé sans fil".

1976-10-13

DE2646239A1 Transceiver for remote control of toy car - uses regenerative detector circuit energised by radio noise


1976-09-30

GB1557278A REMOTE CONTROL SYSTEM FOR A TRAVELLING TOY VEHICLE


1976-09-28

US4112615A Remote control system for a movable toy vehicle


1976-08-14

JPS5323740A RADIO CONTROLLED TOY


1975-04-23

JPS51125552A WIRELESS TOY WITH A PRONOUNCING DEVICE

Déposant: Nikko KK - Nitsukoo KK

1975-04-11

JPS51131389U  無線操縦玩具の送信受信機における電源電池の電圧確認装置

(ヂンゲンデンチ ヂンアツ カクニンソウチ)

Traduction automatique du titre en japonais: "Dispositif de vérification de la tension des piles d'alimentation pour les émetteurs-récepteurs de jouets radiocommandés".
Déposant: Nikko Co., Ltd. (株式会社 ニッコ一).

1974-09-25

JPS5137744A Radio controlled toy

Déposant: Nikko KK - Nitsukoo KK

1974-09-10

JPS5137086U  無機操縦玩具における方向変換装置

Traduction automatique du titre en japonais: "Dispositif de changement de direction dans les jouets télécommandés".
Déposant: Nikko Co., Ltd. (株式会社ニツコー).

1974-06-26

JPS514487U 

Traduction automatique du titre en japonais: "Dispositif de réglage de fréquence pour jouets radiocommandés".
Déposant: Nikko Co., Ltd. (株式会社ニツコー).

1974-06-26

JPS514486U  無線操縦玩具における周波数調整備

Traduction automatique du titre en japonais: "Dispositif de réglage de fréquence pour jouets radiocommandés".
Déposant: Nikko Co., Ltd. (株式会社ニツコー).

1973-07-04

GB1440338A RADIO CONTROL APPARATUS FOR STEERING A TRAVELLING TOY


1973-07-04

US4080602A Wireless control system for a travelling toy using a single transmitting and receiving channel

Takeshi Hattori (服部 健 を), un des inventeurs nommés, est le fondateur de Nikko. Le nom de la marque n'est pas présents dans le document.

1973-05-15

JPS505148A (radio-controlled traveling toy operating device)

Traduction automatique du titre en japonais: "Un dispositif de commande sans fil pour un jouet mobile".

1973-05-15

JPS505149A (Steering in a radio-controlled toy)

Traduction automatique du titre en japonais: "Un dispositif d'émission d'ondes de contrôle pour un jouet télécommandé sans fil".

1973-07-04

JPS5025340A  「走行玩具の無暴操

Traduction automatique du titre en japonais: "Télécommande de jouet roulant".

1973-07-04

JPS5025341A  走行玩具の無線操縦装置

Traduction automatique du titre en japonais: "Dispositif de radiocommande pour jouet roulant.

Nintendo

Date de priorité

Numéro de publication et titre

Commentaires

1972-03-14

US3862514A RADIO CONTROLLED TOY AUTOMOBILE


Nomadio

Date de priorité

Numéro de publication et titre

Commentaires

2005-03-29

US2006229034A1 Ergonomic handheld remote controller

Une des premières radiocommande 2.4GHz apparue sur le marché.

Novarossi

Date de priorité

Numéro de publication et titre

Commentaires

2012-07-24

CH706789A2 Two-stroke internal-combustion engine for model aeroplane, motor vehicle or boat comprises a crankpin aligned with the longitudinal axis of the aspirating opening


2011-10-17

ITBS20110055U1 PERFEZIONAMENTI A MOTORI A SCOPPIO PER MODELLISMO


1995-04-21

IT1274378B Connecting rod, for a motor, able to be used for model making, with improved lubrication


1993-11-19

IT230505Y1 CUSCINETTO A ROTOLAMENTO PER L'ALBERO MOTORE DI MOTORE A SCOPPIO PER MODELLISMO


1990-02-22

IT221218Z2 CANDELA PER MOTORI A SCOPPIO PER MODELLISMO


NQD / Newquida/ SHANTOU NEWQIDA TOYS FACTORY Co. Ltd. / 汕头市澄海区新奇达玩具厂有限公司

Date de priorité

Numéro de publication et titre

Commentaires

2023-07-31

CN220609088U Toy remote controller


Nuova Faor SNC

Date de priorité

Numéro de publication et titre

Commentaires

2004-01-23

EP1557213A1 Motorcycle model driven by an internal combustion engine with a rewind starter

Moto R/C thermique

2001-12-27

ITPV20010011U1 TRASFORMAZIONE MODELLO DI MOTOCICLETTA SCALA 1/5 DA TRASMISSIONE ''MOTORE ELETTRICO'' IN ''MOTORE A SCOPPIO'' CON AVVIAMENTO A STRAPPO


Team Orion

Date de priorité

Numéro de publication et titre

Commentaires

2014-11-27

WO2016084091A2 MOTOR CONTROL SYSTEM AND METHOD

Demandeur: Nexus Systems. Concerne les contrôleurs brushless 1/10 HMX de Team Orion.

2005-07-06

EP1899592A1 TWO-STROKE ENGINE, ESPECIALLY FOR LANDCRAFT, WATERCRAFT, OR AIRCRAFT MODELS

Moteur thermique CRF

2004-08-06

EP1787018B1 HIGH-OUTPUT TWO-STROKE ENGINE IN PARTICULAR FOR APPLICATION IN MODEL ASSEMBLY

Moteur thermique CRF

2002-10-15

WO2004036722A1 HIGH-POWER DIRECT CURRENT ENGINE COMPRISING A COLLECTOR AND CARBON BRUSHES FOR A RACING CAR SERVING AS PROTOTYPE

Moteur électrique à charbons "V2"

O.S. Engine / Ogawa Seiki / 小川精機株式会社

Date de priorité

Numéro de publication et titre

Commentaires

2019-02-07

JP2020129855A MOTOR DRIVE DEVICE

Autre demandeur, Futaba. O.S. Engine est devenue une partie du groupe Futaba Corporation en décembre 1993.

2016-05-23

JP2017212765A POWER SUPPLY DEVICE

Autre demandeur, Futaba. O.S. Engine est devenue une partie du groupe Futaba Corporation en décembre 1993.

2004-04-26

JP2005307946A FUEL SUPPLY DEVICE OF ENGINE FOR MODELS


2003-12-18

JP2005180276A FUEL REGULATION DEVICE IN INJECTOR


2003-09-29

JP2005106042A CARBURETOR WITH FUEL FEED AMOUNT REGULATING DEVICE OF MODEL ENGINE, AND CARBURETOR ENGINE HAVING FUEL FEED AMOUNT REGULATING DEVICE


2003-07-29

JP2005048759A FUEL PRESSURIZING FEEDER OF ENGINE FOR MODEL AND ENGINE FOR MODEL WITH FUEL PRESSURIZING FEEDER


2002-01-28

JP2003214173A ENGINE FOR MODEL


1999-10-04

JP2001099044A STARTER OF GLOW ENGINE FOR MODEL


1997-10-24

JP3914308B2 CONTROL METHOD AND DEVICE FOR SMALL SIZE ENGINE


1996-10-11

JPH10115227A ENGINE ADOPTED TO MODEL AND MODEL ENGINE


1996-09-02

JPH1076075A HORN FOR LINKAGE OF MODEL CAR


1996-06-14

JPH102269A STARTING RECOIL STARTER OF ENGINE FOR MODEL


1996-05-21

JP3634066B2 ROTATION SENSOR


1996-05-20

JPH09310621A ENGINE FOR MODEL


1995-08-30

JPH0956935A ENGINE FOR MODEL


1995-05-17

JPH08312420A CONTROL METHOD AND DEVICE OF MODEL ENGINE


1994-08-02

JPH0842352A LUBRICATING DEVICE FOR FOUR-CYCLE ENGINE FOR MODEL


1993-11-18

JP3682985B2 FUEL SUPPLY DEVICE OF ENGINE FOR MODEL


1986-11-19

JPS63131831A FOUR-CYCLE ENGINE FOR MODEL


1975-02-10

JPS51101889U  ラジコン用コントローラ

Traduction automatique du titre en japonais: "Contrôleur pour radiocommande".

1974-09-06

JPS5134889U ラジコン用コントローラ取付構告

Traduction automatique du titre en japonais: "Structure de montage de contrôleur pour radiocommande".

1968-07-17

JPS4737275Y1 模型用遠隔操縦に於けるプロポーショナ ルサーボ機構

Traduction automatique du titre: "Mécanisme de servomoteur proportionnel pour le contrôle à distance de modèles".
Le déposant de cette demande est Shigeo Ogawa (小川重夫), qui a fondé en 1936 O.S., c'est-à-dire Ogawa Seisakusho.

1966-10-12

JPS4524885Y1 遠隔操縦模型飛行機、船舶、車輛等の受 信器ヶース

Déposant: Shigeo Ogawa (小川重夫), qui a fondé en 1936 O.S., c'est-à-dire Ogawa Seisakusho.
Traduction automatique du titre: "Récepteur boîtier pour modèles réduits télécommandés, navires, véhicules, etc."

Pingtan Yiming Tech Co. Ltd. / 平潭溢明科技有限公司

Date de priorité

Numéro de publication et titre

Commentaires

2022-12-06

CN219307915U Transmission shaft for toy model car


2022-04-01

CN217340061U Adjustable motor base for toy model car


2022-03-29

CN217794499U Head-up wheel for toy model car


2022-03-22

CN217794496U Chassis for toy model car


2022-03-03

CN217361811U Battery fixing device for toy model car


2022-02-24

CN216895442U Universal transmission shaft for toy model car


2022-02-21

CN217041294U Sand digging wheel for toy model car


2022-01-13

CN216618332U Brake assembly for oil-driven toy model car


2022-01-06

CN216867444U Differential box for toy model car


2022-01-04

CN217002858U Oil pressure shock absorber for toy model car


2021-09-26

CN216169915U Steering device for vehicle model


2021-06-03

CN217612887U Shock absorber for vehicle model


2021-06-01

CN216508573U Steering assembly of vehicle model


POLISTIL SPA

Date de priorité

Numéro de publication et titre

Commentaires

1979-05-14

FR2456630A3 PNEUMATIQUE POUR ROUES DE VEHICULES MINIATURES

Déposant: POLISTIL SPA

Porsche

Date de priorité

Numéro de publication et titre

Commentaires

2009-12-24

DE102009060463A1 Stroke staggering system for influencing motor vehicle loaded with stroke or rolling movement, has front axle arranged to front staggering absorber and rear axle arranged to rear staggering absorber

Classé dans la CPC à A63H17/262. Le nom de l'inventeur, inventeur également du système V-Link pour Pan-Car, ne sera pas étranger pour qui connait un peu le mileu de l'automodélisme.

Pro-Star R/C Products / Ryan Kleefisch ProStar RC Products

Date de priorité

Numéro de publication et titre

Commentaires

2019-05-01

US11098774B2 System and method for electro-magnetic applied friction braking in a radio controlled model car


rc-verkauf UG

Date de priorité

Numéro de publication et titre

Commentaires

2019-10-24

DE202019105920U1 Reifeneinsatz für einen Reifen eines Modellfahrzeugs

Roues pour Crawler

Rastar Group Co. Ltd. / 星辉互动娱乐股份有限公

Date de priorité

Numéro de publication et titre

Commentaires

2025-10-20

CN120939584A sar model structure


2025-08-22

CN120860609A Toy capable of drifting


2022-11-21

CN218944358U Four-wheel drive transmission device of toy car


2022-09-21

CN218187868U Universal joint device with front and back transmission for remote control car model


2022-09-05

CN218608017U Driving device with steering function for toy car


2022-03-09

CN114797122A Remote control toy car


2022-03-09

CN217092060U Remote control toy car


2021-08-20

CN215781492U Remote control car with bubble blowing function


2020-08-26

CN212941421U Toy car covering installation structure convenient to disassemble and assemble


2020-08-26

CN213159378U Double-positioning and multi-clamping toy car wheel mounting structure


2020-06-23

CN212941419U Driving gearbox modular device of assembled toy car


2020-06-23

CN212941420U Steering modular device of assembled toy car


2020-05-28

CN212548280U Splicing structure of remote control car toy


2019-11-26

CN211215423U Remote control standing device


2016-07-18

CN205850232U Remote control modification toy car drive arrangement


2014-06-13

CN203954683U Remote control car with charger


Robbe Modellsport

Date de priorité

Numéro de publication et titre

Commentaires

2004-08-06

DE202004012366U1 Device for identifying electrically chargeable/dischargeable battery pack parameters e.g. for model construction vehicles, has battery pack coupled to non-volatile information-storage module coupled to information reading device in charger


1987-02-21

DE8702706U1 Fernsteuerung


1986-09-15

DE8624679U1 Nach Art eines Fußballspiels zu spielendes Ballspiel


1985-07-13

DE8520267U1  Funkfernsteuerung


1981-05-02

DE3117456A1 Method for transmitting several mutually independent proportional functions, to be operated simultaneously, on at least one main channel of a remote radio control arrangement and circuit arrangement for carrying out the method


Sankyo Radio Control Manufacturing Co., Ltd. / 有限会社三共ラジコン製作所

Date de priorité

Numéro de publication et titre

Commentaires

1975-08-09

JPS5225089U 模型無線操縦装置のサーボ样不備

Traduction automatique du titre en japonais: "Dispositif de support d'arbre d'entraînement pour un servomécanisme de dispositif de radiocommande de modèle réduit".
Déposant: Sankyo Radicon Seisakusho (有限会社三共ラジコン製作所).

Sanwa Denshi / 三和電子機器株式会社

Date de priorité

Numéro de publication et titre

Commentaires

2016-07-25

JP2018015046A SPEED CONTROLLER

Contrôleur brushless

2013-05-30

JP2014230715A RECEPTION DEVICE OF TRANSMISSION/RECEPTION SYSTEM FOR MODEL


2012-10-26

JP2014087013A REMOTE CONTROL RECEIVER


2011-08-18

JP2013042407A REMOTE CONTROL SYSTEM


2009-03-30

JP2010233725A RADIO-CONTROL TRANSMITTER


2004-02-25

JP2005244431A COMMUNICATION SYSTEM FOR RADIO CONTROL


2001-04-04

JP2002301277A RADIO CONTROL RECEIVER


2000-04-24

JP2001309450A REMOTE CONTROL TRANSMISSION RECEIVING SYSTEM


1999-08-31

JP2001062160A RADIO CONTROLLING TRANSMITTER


1998-08-18

JP2000061161A FUEL SUPPLY DEVICE FOR JET ENGINE OF RADIO CONTROLLED MODEL


1997-05-21

JPH10314463A RADIO CONTROL TRANSMITTER

Déposé sous le nom SMC KK. Les figures représentent des émetteurs à volant similaires à ceux de Sanwa.

1997-05-21

JP3308853B2 RADIO CONTROL TRANSMITTER

Déposé sous le nom SMC KK. Les figures représentent des émetteurs à volant similaires à ceux de Sanwa.

1990-03-01

JPH03116895U ラジオコントロール送信機 

Traduction automatique du titre: "Émetteur de radiocommande".
Déposant: Sanwa Electronic Instrument Co., Ltd. (三和電子機器株式会社).

1990-03-01

JPH03116896U ラジオコントロール送信機

Traduction automatique du titre: "Émetteur de radiocommande".
Déposant: Sanwa Electronic Instrument Co., Ltd. (三和電子機器株式会社).

1990-03-01

JPH03111395U ラジオコントロール送信機 

Traduction automatique du titre: "Émetteur de radiocommande".
Déposant: Sanwa Electronic Instrument Co., Ltd. (三和電子機器株式会社).

1988-08-10

JPH0246885A SERVOMOTOR CONTROLLER


1988-07-18

JPH0229282A 車個体の識別装置 (INDIVIDUAL VEHICLE IDENTIFYING DEVICE)

Traduction automatique du titre: "Dispositif d'identification de véhicules individuels".
Déposant: Sega Enterprises, Ltd. (株式会社セガ・エンタープライゼス).

1988-06-27

JPH025990U ラジオコントロール送信機

Traduction automatique du titre: "Émetteur de radiocommande".
Déposant: Sanwa Electronic Instrument Co., Ltd. (三和電子機器株式会社).

1988-06-08

JPH01179687U ラジオコントロール送信機

Traduction automatique du titre: "Émetteur de radiocommande".
Déposant: Sanwa Denshi Kiki Co., Ltd. (三和電子機器株式会社 ).

1988-06-08

JPH0539756Y2 ラジオコントロール送信機

Traduction automatique du titre: "Émetteur de radiocommande".
Le document concerne un émetteur de radiocommande intégrant un haut-parleur et d'un générateur de sons  qui produit un bruit de moteur variant selon l'actionnement de la gâchette d'accélération.
Déposant: Sanwa Electronic Circuit Co., Ltd. (三和電子機器株式会社).

1988-04-28

JP2617987B2 RADIO CONTROL TRANSMITTER


1988-04-28

JP2659392B2 RADIO CONTROL TRANSMITTER


1988-04-11

JP2617985B2 RADIO CONTROL TRANSMITTER


1988-04-11

JP2659390B2 RADIO CONTROL TRANSMITTER


1988-04-11

JP2667433B2 RADIO CONTROL TRANSMITTER


1988-04-05

JP2656062B2 RADIO CONTROL TRANSMITTER


1988-04-05

JP2617983B2 RADIO CONTROL TRANSMITTER


1988-03-29

JPH01248713A RADIO CONTROL TRANSMITTER


1988-02-15

JPH01208097A RADIO CONTROL TRANSMITTER


1987-10-02

JPH0191890A RADIO-CONTROLLED TRANSMITTER


1987-09-11

JPH0683079B2 RADIO-CONTROLLED TRANSMITTER


1986-12-25

JPS63164600A RADIO CONTROL SYSTEM


1986-12-25

JPS63161802A SPEED CONTROLLER FOR ELECTRIC MOTORCAR


1986-08-14

JPS6349184A CONTROL OF RADIO CONTROL BODY TO BE STEERED

Déposant: Sanwa Denshi KK.

1986-06-19

JPH0365054B2 TRANSMITTER FOR RADIO CONTROL


1985-08-12

JPH0619353Y2 ラジオコントロールシステム

Traduction automatique du titre en japonais: "Système de radiocommande".

1985-08-12

JPS6232404U サーボモータ装置

Traduction automatique du titre: "Dispositif de servomoteur".
Le servo intègre un potentiomètre pour détecter la position de l'arbre de sortie, avec un mécanisme de couplage spécifique entre l'arbre de sortie et celui du potentiomètre.
Déposant: Sanwa Electronic Instrument Co., Ltd. (三和電子機器株式会社).

1985-07-23

JPH039285Y2 ステイックレバー操作装置

Traduction automatique du titre: "Dispositif de commande par levier de type "joystick"".
Déposant: Sanwa Denshi Kiki Co., Ltd. (三和電子機器株式会社 ).

1985-05-13

JPH0443279Y2 ラジオコントロール用送信機の操縦ス ティック

Traduction automatique du titre: "Manche de commande pour émetteur de radiocommande".
Déposant: Sanwa Electronic Instrument Co., Ltd. (三和電子機器株式会社).

1981-03-11

JPS57149099U ラジオコントロール用送信機のトリムレ バー装置

Traduction automatique du titre: "Dispositif de levier de trim pour émetteur de radiocommande".
Déposant: Sanwa Denshi Kiki Co., Ltd. (三和電子機器株式会社 ).

1980-10-08

JPS5769008U ラジオコントロール送信機

Traduction automatique du titre en japonais: "Émetteur de radiocommande".
Déposant: Sanwa Denshi Kiki Co., Ltd. (三和電子機器株式会社).

1979-03-19

JPS55134898U 模型ラジオコントロール用タイマー付送 信機

Traduction automatique du titre en japonais: "Émetteur avec minuterie pour radiocommande de modèles réduits".
Déposant: Sanwa Electronic Instrument Co., Ltd. (三和電子機器株式会社).

1976-05-06

JPS52148192U 模型ラジオコントロール用送信機

Traduction automatique du titre en japonais: "Émetteur pour radiocommande de modèles réduits".

1976-05-06

JPS52148191U  長型ラジオコントロール用送信機

Traduction automatique du titre en japonais: "Émetteur pour radiocommande de modèles réduits".
Déposant: Sanwa Denki Seisakusho Co., Ltd. (株式会社三和電機製作所).

1974-04-21

JPS50137231A 模姫ラジオコントロール用期 サポケシ ジーシンキ 作防止受信機

Traduction automatique du titre en japonais: "Récepteur pour radiocommande de modèles réduits avec dispositif anti-dysfonctionnement".
Document déposé par Sanwa Electric Mfg. Co., Ltd. (カブシキガイシャ サンワ デンキセイサクショ).

1974-01-25

JPS50106731A 模擬ラジオコントロール用デコーダー回 路

Traduction automatique du titre en japonais: "Circuit décodeur pour radiocommande de modèles réduits".
Document déposé par Sanwa Electric Works, Ltd. (株式会社三和電器製作所).

1974-01-25

JPS50106730A 模型ラジオコントロール用高度 補償回路付デコーダー回路

Traduction automatique du titre en japonais: "Circuit décodeur avec circuit de compensation de température pour la radiocommande de modèles réduits".
Document déposé par Sanwa Electric Works, Ltd. (株式会社三和電器製作所).

1974-01-18

JPS5098895U 模型ラジオコントロール用送信機

Traduction automatique du titre en japonais: "Émetteur pour radiocommande de modèles réduits".
Document déposé par Sanwa Electric Manufacturing Co., Ltd. (サンワ デンキセイサクショカワチョウジョウナイ).

1974-01-18

JPS50102497U  模型ラジオコントロール用送信機

Traduction automatique du titre en japonais: "Émetteur pour radiocommande de modèles réduits".
Document déposé par Sanwa Electric Manufacturing Co., Ltd. (サンワ デンキセイサクショカワチョウジョウナイ).

1974-01-18

JPS50102496U 模型ラジオコントロール用送信機

Traduction automatique du titre en japonais: "Émetteur pour radiocommande de modèles réduits".
Document déposé par Sanwa Electric Manufacturing Co., Ltd. (サンワ デンキセイサクショカワチョウジョウナイ).

1973-12-27

JPS5095086U 模型ラトロール送信機用ケース

Traduction automatique du titre en japonais: "Boîtier pour émetteur de radiocommande de modèle". Document déposé par Sanwa Denki Seisakusho Co., Ltd.

1973-12-27

JPS5095085U 模型ラジオコントロール送信機用ケース

Traduction automatique du titre en japonais: "Boîtier pour émetteur de radiocommande de modèle réduit".
Document déposé par Kabushiki Kaisha Sanwa Denki Seisakusho (株式会社三和電機製作所).

1973-12-17

JPS5089497U 模型ラジオコントロール送信機用ケース

Traduction automatique du titre en japonais: "Boîtier pour émetteur de radiocommande de modélisme".
Document déposé par Sanwa Electric Mfg. Co., Ltd. (株式会社三和電器製作所).

1973-12-17

JPS5089496U モナイヨウムヒンソウジュウオウ

Traduction automatique du titre en japonais: "Servomoteur pour radiocommande de modèle réduit".
Document déposé par Sanwa Electric Mfg. Co., Ltd. (カブシキガイシャ サンワ デンキセイサクショ).

1973-12-17

JPS5089495U 模型無線操縦用サーボモータ

Traduction automatique du titre en japonais: "Servomoteur pour la commande radio de modèles réduits". Document déposé par Sanwa Electric Mfg. Co., Ltd. (カブシキガイシャ サンワ デンキセイサクショ).

1973-12-17

JPS5089494U 模型用の無線操縦用サーボモータ

Traduction automatique du titre en japonais: "Servomoteur pour radiocommande de modèles réduits".
Document déposé par Sanwa Electric Mfg. Co., Ltd. (カブシキガイシャ サンワ デンキセイサクショ).

1973-09-28

JPS5058896U 模型ラ ・ントロール用送信機のケース

Traduction automatique du titre en japonais: "Boîtier d'émetteur pour radiocommande de modèles réduits".
Document déposé par Sanwa Electric Manufacturing Co., Ltd. (サンワ デンキセイサクショカワチョウジョウナイ).

1973-09-28

JPS5058895U 模型ラジオコントロール用送信のケース

Traduction automatique du titre en japonais: "Boîtier d'émetteur pour radiocommande de modèles réduits".
Document déposé par Sanwa Electric Manufacturing Co., Ltd. (サンワ デンキセイサクショカワチョウジョウナイ).

Schumacher

Date de priorité

Numéro de publication et titre

Commentaires

2005-02-08

WO2006085072A1 CONSTANT VELOCITY UNIVERSAL JOINT

Cardans CVD

1979-10-19

GB2034423A Differential drive mechanism

Un document historique déposé en 1978 sur le différentiel à billes

Sega Enterprises Ltd. / 株式会社セガ・エンタ

Date de priorité

Numéro de publication et titre

Commentaires

2002-05-01

WO03092844A1 RADIO CONTROL TOY AND RADIO CONTROL TOY SET

Déposant: Sega Toys (株式会社セガ トイズ).

1988-10-04

JPH0251599U 模型自動車の衝突衝撃吸 収機構

Traduction automatique du titre: "Mécanisme d'absorption des chocs de collision pour modèle réduit d'automobile".

1988-07-21

JPH0231783A CIRCUIT GAME DEVICE

Déposant: Sega Enterprises KK.

1988-07-20

JPH0216631U移動体電波受信装置

Traduction automatique du titre: "Dispositif de réception d'ondes radio pour objet mobile".
Déposant: SEGA Enterprises, Ltd. (株式会社セガ・エンタープライゼス).

Shenzhen Xingyaohua Industrial Co. Ltd.

Date de priorité

Numéro de publication et titre

Commentaires

2012-03-14

CN202569543U Wheel of model motorcycle


2008-10-06

CN201320401Y Door-type seat and remote-control model car with adjustable kingpin inclination angle for front wheel steering


SHANTOU CHENGHAI CHENGLE TOYS Co. Ltd. / 汕头市澄海区成乐玩具有限公司

Date de priorité

Numéro de publication et titre

Commentaires

2025-04-28

CN223009783U Empennage structure of remote control toy racing car


2025-03-25

CN222804680U Remote control racing car with car shell capable of being spliced


2025-03-11

CN222723601U Remote control climbing vehicle frame


2025-02-19

CN222641222U Remote-controlled anti-collision toy sports car


2024-10-30

CN223439151U Car shell quick-release structure of remote control car


2024-09-26

CN223233297U Shock absorption device of remote control car


2024-09-26

CN223668632U 一种 遥控车的快拆防撞条 (Quick-release anti-collision strip of remote control car)


2024-08-27

CN223158820U Chassis of remote control car


2024-08-27

CN223053302U Circuit board fixing device of remote control car


2024-07-31

CN223026690U Waterproof battery box of remote control car


2024-04-26

CN222377047U Transmission shaft for remote control car


2024-04-26

CN222368339U Novel remote control toy car


2024-03-28

CN222918098U Remote control climbing vehicle


2023-03-23

CN219743890U Toy amphibious vehicle


2022-08-22

CN218248496U Remote control car with anti-collision function


2022-01-11

CN216761970U Intelligent somatosensory remote control car


2022-01-05

CN217092056U Remote control car with anti-collision structure


2021-12-24

CN216755385U Intelligent toy remote control car with camera


Shantou Chenghai Huacai Keyi Industry and Trade Co., LTD. / 汕头市澄海区华彩科艺工贸有限公司

Date de priorité

Numéro de publication et titre

Commentaires

2023-07-25

CN220257157U Single-handle remote controller


2023-07-25

CN220213906U Novel remote controller for toy


Shantou Chenghai Jianfengyuan Toys Co. Ltd. / 汕头市澄海区健丰源玩具有限公司

Date de priorité

Numéro de publication et titre

Commentaires

2024-10-31

CN223570013U Front-driving type electric toy car


2024-10-28

CN223392874U Electric toy car applicable to all terrains

Truck électrique, probablement de petite échelle.

2024-09-30

CN223220959U Transmission shaft for remote control toy car

Arbre de transmission pour voiture R/C.

2024-08-28

CN223233296U Steering mechanism of remote control toy car

Mécanisme de direction pour voiture R/C.

2024-08-26

CN222924919U Transmission control mechanism of remote control toy car


2023-02-01

CN219355241U Buckle structure capable of being connected with toy parts

Coque de radiocommande.

2022-11-07

CN218686304U High-precision controller for steering engine of toy car


2022-11-01

CN218501252U Connecting support for differential mechanism of single-motor transmission mechanism of remote control toy car


2022-10-25

CN218364463U Automatic wheel entering equipment with good clamping effect for remote control toy car production


2022-10-12

CN218615299U Plastic toy car shell injection mold


2022-10-09

CN218357345U Steering engine controller of toy car


2022-09-19

CN218235826U Lower ball head of remote control toy car


2022-09-06

CN218031301U Toy car differential protection shell based on single motor transmission mechanism


2022-09-01

CN218227572U Injection molding equipment for producing plastic toy car shell


2022-01-21

CN217226711U Plastic welding device for remote control toy car production


2022-01-18

CN217193683U Remote control toy car circuit board automatic assembling device


2022-01-14

CN217222030U Remote control toy car shell oil injection device


2022-01-12

CN217196622U Remote control toy car plastic part injection molding device


2019-11-21

CN211215419U Four-wheel cross-country toy remote control car


2019-10-21

CN210813909U Tilting cart remote controller


2018-06-05

CN208406071U Lift toy climbing car at bottom of simulation vehicle


SHANTOU JIERCHUANG ELECTRONIC TOY Co. Ltd. / 汕头市集尔创电子玩具有限公司

Date de priorité

Numéro de publication et titre

Commentaires

2023-11-20

CN221309511U Steering module for controlling remote control car


2023-11-09

CN221412224U Movement module for controlling remote control car


Shantou Chenghai Jingwei Ind. Co., LTD.

Date de priorité

Numéro de publication et titre

Commentaires

2025-02-27

DE202025101058U1 Spielzeugfernbedienung

Radiocommande à volant ressemblant à une FlySky dans les figures.

Shantou Erchaoxi Intelligent Technology Industrial Co., LTD / 汕头市儿超喜智能科技实业有限公司

Date de priorité

Numéro de publication et titre

Commentaires

2023-11-21

CN220213906U Novel remote controller for toy


2023-11-21

CN220257157U Single-handle remote controller


2023-09-20

CN221130962U 一种新型的玩具遥控器


Shantou Landa Tech Co. Ltd. / 汕头市兰达科技有限公司

Date de priorité

Numéro de publication et titre

Commentaires

2023-11-21

CN220213906U Novel remote controller for toy


2023-09-20

CN221130962U Novel toy remote controller


2022-11-24

CN218686303U Toy car driving device with speed regulating structure


2022-06-29

CN217773216U Variable speed driving device of toy car


2022-05-05

CN217526361U Toy car body structure capable of turning on and turning off lamp by simulating blinking


2022-05-05

CN217511161U Toy car chassis capable of adjusting inclination angle of wheels


Shantou P&C Plastic Products Company Limited / SHANTOU PIENXI PLASTIC CEMENT PRODUCT Co. Ltd. / 汕头市皮恩希塑胶制品有限公司

Date de priorité

Numéro de publication et titre

Commentaires

2023-12-29

US2025213995A1 Omnidirectional Steering Mechanism for a Remote Control Toy Car


2023-12-29

US2025213993A1 Wheel of a Remote Control Toy Vehicle


2023-12-29

US2025213994A1 Omnidirectional Remote Control Toy Car


2023-12-29

CN221557531U Adjustable universal steering mechanism of toy remote control car


2023-12-29

CN117482537A Adjustable universal steering mechanism of toy remote control car


2023-12-29

CN220478113U Adjustable universal remote control toy car


2023-12-29

CN117504319A Adjustable universal remote control toy car


Shantou Tianyi Model Technology / 汕头市添翊模型科技有限公司

Date de priorité

Numéro de publication et titre

Commentaires

2017-06-15

CN207041922U Remote controller structure


2017-03-16

CN206715307U Independent swing arm structure of telecontrolled model car


2017-03-16

CN206715306U Telecontrolled model car structure


2017-03-16

CN206715305U Simplification framework that candle formula was moved away to avoid possible earthquakes


2017-03-16

CN206837489U Pinion is engaged with bull gear


2016-08-29

CN107789844A Small scale remote control model car structure


2016-08-29

CN206214761U Structure of small scale telecontrolled model car


Shantou Weishengda Toys Co., Ltd. / 盛达玩具有限公司

Date de priorité

Numéro de publication et titre

Commentaires

2025-07-03

CN223184062U Toy car with camera


Sharp Corporation / シャープ株式会社

Date de priorité

Numéro de publication et titre

Commentaires

2006-02-02

JP2007208699A RADIO COMMUNICATION SYSTEM


2002-04-23

JP2003316435A REMOTE OPERATING OBJECT SYSTEM, REMOTE OPERATING APPARATUS, OBJECT TO BE OPERATED, REMOTE OPERATING METHOD AND COMPUTER SOFTWARE

Déposant: Sharp Corporation (シャープ株式会社).

Shenzhen Aishengji Remote Control Model Co. Ltd. / 爱升级遥控模型(深圳)有限公司

Date de priorité

Numéro de publication et titre

Commentaires

2022-03-03

CN216986278U Modularized wheel set and automobile model


2019-07-17

CN210218623U Motor adapter


2019-07-17

CN210302390U Connecting structure for quickly disassembling and assembling remote control car shell


Shenzhen BSD Racing Technology Co. Ltd. / 深圳市比赛得科技有限公司 / BSD

Date de priorité

Numéro de publication et titre

Commentaires

2024-03-22

CN222110907U Adjustable model wheel


2023-11-04

CN221257357U Bolt mechanism and fixing assembly applied to remote control car


2023-11-04

CN221752278U Remote control car with four-wheel steering function


2023-11-04

CN221257471U Overload protection device applied to remote control car


2023-08-05

CN220622577U Shock absorption mechanism and remote control vehicle body


2023-08-05

CN220609086U Wheel mechanism capable of improving obstacle avoidance function and remote control car


2023-07-11

CN220281045U Tire mechanism with large torsion


2023-07-11

CN220609084U Car shell fixing mechanism and remote control car


2021-11-15

CN216934698U Competition model car with remote control function


2021-02-22

CN215505475U Competition model vehicle wheel damping mechanism


2021-02-05

CN215513134U Competition model car shock absorption system stable in operation


2021-02-05

CN215505476U Remote control model car for football competition


2021-02-05

CN215505472U Competition model vehicle attitude adjusting device


2021-02-01

CN215387541U Competition model car with anti-collision and anti-falling component


2021-02-01

CN215387542U Remote control competition model car convenient for channel crossing


2020-06-01

CN111617493A Toy car synchronous steering device


2020-06-01

CN212998370U Toy car shell fixing device capable of being disassembled quickly


2020-06-01

CN212818099U Anti-falling upper and lower ball head of remote control toy car


2017-07-05

CN206924426U Front and back turns to formula chassis and toy car


2017-07-05

CN206924425U Four wheel independent drive car


2017-07-05

CN207477981U Independent drive wheels and toy car


2017-07-05

CN107899252A Four-wheel independently driven car


2017-02-24

CN106891680A Remote control vehicle and vehicle head bounce device thereof


2017-02-24

CN106621361A Remote control car having diverse playing methods


2017-02-24

CN107042019A Remote control car and tailstock height adjusting device


2017-02-24

CN206589601U Telecar and locomotive springing device thereof


2017-02-24

CN206587405U Style playing method telecar


2017-02-24

CN206588976U Servo steering wheel


2017-02-24

CN206587404U Telecar and high adjusting device of rear of a vehicle thereof


2013-05-23

CN203291519U Three differential remote control car


2013-05-23

CN203264275U Convertible-type remote control car

Voiture de Drift 1/10° électrique

2013-05-23

CN203291512U Remote control car with overload protection


2013-05-23

CN203264277U Adjustable remote control car starting platform


2013-05-23

CN203291511U Two-speed remote control car


2013-05-23

CN203264278U Waterproof remote control car


Shenzhen Doohan Ind. and Trade / 深圳市杜安工贸有限公司

Date de priorité

Numéro de publication et titre

Commentaires

2019-09-27

CN210813908U Counterweight wheel for car model and car model

Roue pour crawler

2019-07-29

WO2021016784A1 MAGNETIC SUCTION ELECTRICALLY-CONDUCTIVE VEHICLE MODEL

Crawler

2019-07-29

CN210448093U Magnetic attraction conductive car model

Crawler

Shenzhen ENXI Remote Control Tech LTD / 深圳市恩西遥控技术有限公司

Date de priorité

Numéro de publication et titre

Commentaires

2023-03-14

CN219440663U (Model airplane remote controller) (航模遥控器)

Radiocommande

Shenzhen Flycolor Electronic Co. LTD / 深圳市飞盈佳乐电子有限公 司 / Shenzhen Fengwengale Electronic Co. LTD

Date de priorité

Numéro de publication et titre

Commentaires

2024-04-28

CN222356234U Motor controller


2023-12-01

CN221429441U Speed regulator and electronic equipment


2023-09-22

CN221151826U Electronic speed regulator

Spécifiquement pour auto R/C.

2023-07-11

CN220254387U Motor controller


2023-05-10

CN219554850U Motor controller


2021-11-09

CN216451706U Motor controller


2021-06-07

CN113271751A Electronic speed regulator and electronic driving device

Spécifiquement pour auto R/C.

2020-06-24

CN212627556U Motor controller and motor


2019-11-04

CN210536541U Electronic speed regulator


2019-09-09

CN110501967A Electronic speed regulator, control method and control device


2019-09-09

CN210534572U Electronic governor and remote control device


2019-09-09

CN110501967A Electronic speed regulator, control method and control device


2019-09-04

CN210536311U Electronic speed regulator


2019-09-04

CN210534597U Electronic speed regulator


Shenzhen G.T.Hobbies Co.,Ltd / 深圳市爱好者模型科技有限公司

Date de priorité

Numéro de publication et titre

Commentaires

2022-05-09

CN217961288U Remote controller capable of being operated by one hand


SHENZHEN LEILALUO INTELLIGENT TECH Co. Ltd. / 深圳雷拉洛智能科技有限公司

Date de priorité

Numéro de publication et titre

Commentaires

2024-04-02

CN221838836U Front and rear axle differential assembly for RC remote control model


2024-01-19

CN221579709U RC remote control model vehicle chassis


2024-01-10

CN221637325U Two-section variable-speed reverse transmission gearbox structure with transmission interruption and four-wheel drive switching


2023-11-13

CN221137494U Novel inverted shock-proof Macpherson type independent front suspension of remote control vehicle


2023-11-13

CN221358508U Direct-transmission sliding rail steering wear-resistant structure


Shenzhen Qishi Model / 深圳骑士模型有限公司 / Shenzhen Knight Model

Date de priorité

Numéro de publication et titre

Commentaires

2021-07-07

CN216468299U Remote control snowfield motorcycle with steering auxiliary structure

Motoneige R/C, sous le nom Shenzhen Knight Model

2018-07-12

CN208678364U Remote control motorcycle

Moto R/C, sous le nom Shenzhen Qishi Model

2018-03-08

CN207961390U Preceding shock absorber of remote control motorcycle

Moto R/C, sous le nom Shenzhen Qishi Model

2017-11-10

CN107715466A Doll imitation swinging structure and method for motorcycle model

Moto R/C, sous le nom Shenzhen Qishi Model

2017-11-10

CN207805051U A image imitate oscillating structure for motor turning mold type

Moto R/C, sous le nom Shenzhen Knight Model

Shenzhen Shenshi Tongchuang Spaceflight Model Co. Ltd. / 深圳市沈氏彤创航天模型有限公司

Date de priorité

Numéro de publication et titre

Commentaires

2024-06-06

CN222775466U Battery assembly structure of remote control model


2021-12-31

CN217448919U Rear wheel vector stable control structure of remote control model car


2021-06-07

CN215908267U Universal transmission shaft of remote control car


2011-12-30

CN202424237U Internal heat radiation structure of charger

Refroidissement pour chargeurs compacts

Shenzhen Shunshizen Technology Co., LTD / 深圳市顺时真科技有限公司

Date de priorité

Numéro de publication et titre

Commentaires

2024-05-11

CN222517708U (Frame main body structure of remote control car) (一种遥控车车架主体结构)


2024-04-20

CN222384161U Gear box shell and quick-release gear box


2023-04-20

CN219764474U Model car motor base


SHENZHEN TEPROW SCIENCE AND TECHNOLOGY CO., LTD / 深圳特普威科技有限公司 / CHINA TOPWIN INDUSTRY CO., LTD.

Date de priorité

Numéro de publication et titre

Commentaires

2023-03-23

CN117861239A High-strength anti-collision remote control car


2022-02-16

CN114534268A Remote control car with drifting function and drifting control method thereof


2020-05-28

CN212593985U Waterproof amphibious remote control vehicle


2018-07-27

CN208626615U Remote -control toy oil charge damping spring


Shenzhen Unknown Forces Model Technology / 深圳市未知力量模型科技有限公司

Date de priorité

Numéro de publication et titre

Commentaires

2016-04-13

CN205627071U Telecontrolled model car


2016-04-13

CN105771260A Remote-control model car


SHENZHEN XIAOFEIXIANG MODEL Co. Ltd. / SHENZHEN XIAOZHOU ELEPHANT MODEL LTD COMPANY / 深圳市小飞象模型有限公司 / Dumbo RC

Date de priorité

Numéro de publication et titre

Commentaires

2022-03-30

CN217246732U Gun-type remote-control detachable single-hand accessory


2021-09-15

CN215962138U Screen protection structure for remote control car controller


Shenzhen Xingyaohua Industrial Co. Ltd. / 深圳市兴耀华实业有限公司

Date de priorité

Numéro de publication et titre

Commentaires

2012-03-14

CN202569543U Wheel of model motorcycle


2008-10-06

CN201320401Y Door-type seat and remote-control model car with adjustable kingpin inclination angle for front wheel steering


SHENZHEN ZHUOFEI TONGCHUANG TECH Co. Ltd. / 深圳卓飞同创科技有限公司

Date de priorité

Numéro de publication et titre

Commentaires

2024-03-15

CN222723600U Intelligent game racing car


Shinsei Industries Co / Shinsei Kogyo Co. Ltd. / 新正工業株式会社 / Radio Elecon

Date de priorité

Numéro de publication et titre

Commentaires

1988-06-08

JPH01180296U 無線 操縦オートバイ玩具

Moto R/C. Traduction automatique du titre en japonais: "Jouet de moto télécommandé sans fil".
Déposant de la demande de brevet: Shinsei Kogyo Co., Ltd. (新正工業株式会社).

1984-02-28

JPH0123519Y2 遠隔 操縦走行玩具

Traduction automatique du titre en japonais: "Jouet de conduite télécommandé".
Déposant de la demande de brevet: Shinsei Kogyo Co., Ltd. (新正工業株式会社).

1983-07-13

JPS6017792U  遠隔操縦走行玩具の方向変換装置

Traduction automatique du titre en japonais: "Dispositif de changement de direction pour jouet de conduite télécommandé".
Déposant de la demande de brevet: Shinsei Kogyo Co., Ltd. (新正工業株式会社).

1982-12-17

JPS5993597U  遠隔操縦走行玩具の方向変換装置

Traduction automatique du titre en japonais: "Dispositif de changement de direction pour jouet de conduite télécommandé".
Déposant de la demande de brevet: Shinsei Kogyo Co., Ltd. (新正工業株式会社).

1978-04-11

JPS54135049A RADIOOCONTROLLED TOY CAR

La marque Shinsei Kogyo Co., Ltd. (新正工業株式会社) est parfois associée sur certains emballages à Radio Elecon.

1978-02-03

US4166338A Steering system for radio or wire controlled traveling toys


1977-11-09

GB1568774A STEERING APPARATUS


1977-09-17

JPS5452996U 無線操 縦式電動走行玩具における操向装置

Traduction automatique du titre en japonais: "Dispositif de direction pour un jouet motorisé radiocommandé".

1977-08-03

FR2399263A1 DISPOSITIF DE DIRECTION DE JOUET COMMANDE PAR RADIO OU PAR FIL


1977-07-20

JPS5425391U 無線操 縦式電動走行玩具における操向装置

Traduction automatique du titre en japonais: "Dispositif de direction pour jouets roulants électriques télécommandés par radio".

1977-03-04

JPS53121993U モコ ン式走行玩具における操向制御装置

Traduction automatique du titre en japonais: "Dispositif de commande de direction pour jouets roulants télécommandés".

1966-08-27

JPS4510349Y1 走行 玩具の操向装置

Traduction automatique du titre en japonais: "Mécanisme de direction pour jouet roulant".
Le document concerne un mécanisme de direction pour jouets électriques radiocommandés ou commandés par câble, permettant d'effectuer des mouvements tels que l'avancement, le virage à gauche, l'avancement, le virage à droite, l'avancement, le recul et l'arrêt.
Déposant: Shinsei Kiki Co., Ltd. (新生機器株式会社 ).

1966-08-17

JPS4328679Y1 玩具 用無線制御発信器

Traduction automatique du titre en japonais: "Émetteur de commande sans fil pour jouets".
Déposant: Shinsei Kiki Co., Ltd. (新生機器株式会社 ).
L'appareil revendiqué utilise un mécanisme de gâchette pour frapper un élément piézoélectrique, générant une haute tension qui produit des ondes radio via une antenne, pour la télécommande de jouets.

Siccom / BS Diffusion

Date de priorité

Numéro de publication et titre

Commentaires

1980-10-28

FR2492740A1 JANTES A MONTAGE ET DEMONTAGE RAPIDE POUR VOITURES MODELES REDUITS RADIO-COMMANDEES

Le système de jantes "Quickfit" de la piste thermique 1/8° thermique "Puma" conçue par BS Diffusion et commercialisée par Siccom. Sources: Rétromodélisme, Le Garage d'A4roues et R/C Mag Vintage.

1979-08-13

FR2463017A1 CHASSIS A TRAIN AVANT INDEPENDANT POUR VEHICULE RADIO-COMMANDE

Par l'un des deux fondateurs de la société BS Diffusion à Marseille. Source: Le Garage d'A4roues.

Simprop

Date de priorité

Numéro de publication et titre

Commentaires

2000-04-11

DE10017736A1 Receiver for radio remote-control ship and aircraft etc. models, free programming of the receiver is possible without mechanical alterations


1983-11-05

DE3340052A1 Method and circuit for generating and transmitting a multiplicity of output signals


1975-02-01

US4042902A Apparatus for controlling two crossed proportional adjusting devices by means of a single control stick


1975-02-01

DE7503035U VORRICHTUNG FUER DIE STEUERUNG VON ZWEI GEKREUZTEN PROPORTIONALEN STELLEINRICHTUNGEN MITTELS EINES STEUERKNUEPPELS


1969-02-10

CH478577A Mit Aufhängeeinrichtung und Tragriemen versehenes Sendegerät zur Funkfernsteuerung von Spielzeugen, wie Flug-, Schiffs- oder Automodellen


1969-10-30

DE6942568U STEUERUNGSGERAET ZUM FERNSTEUERN VON FLUG-, AUTO- ODER SCHIFFSMODELLEN


1969-07-24

GB1277946A PORTABLE RADIO TRANSMITTER FOR CONTROLLING AIRPLANE, SHIP OR OTHER MODELS


1969-05-22

DE6921041U ALS EMPFAENGERTEIL DIENENDE RUDERMASCHINE, INSBESONDERE FUER FERNGESTEUERTE LAND-, FLUG- UND SCHIFFSMÓEDELLE.


1969-03-10

FR2036271A5  Emetteur pourvu d'un dispositif de suspension et de courroies porteuses pour commmande a dsistance de jouets tels que modèles d'avion, de bateau ou autres.


1969-02-10

CH478577A Mit Aufhängeeinrichtung und Tragriemen versehenes Sendegerät zur Funkfernsteuerung von Spielzeugen, wie Flug-, Schiffs- oder Automodellen


1968-07-24

DE1996943U TRAGBARES SENDEGERAET ZUR FUNKFERNSTEUERUNG VON FLUG-, SCHIFFS- ODER SONSTIGEN MODELLEN


1968-07-24

DE1998139U KNUEPPELMECHANIK FUER SENDEGERAETE ZUR FUNKFERNSTEUERUNG VON FLUG-, SCHIFFS- ODER SONSTIGEN MODELLEN.


SJ Inc.

Date de priorité

Numéro de publication et titre

Commentaires

2012-06-21

WO2013190101A1 REMOTE-CONTROL DEVICE FOR REMOTELY CONTROLLABLE MODELS


S & K Racing Products

Date de priorité

Numéro de publication et titre

Commentaires

1992-03-12

US5252869A Means and method for cooling radio-controlled vehicle motors


1992-02-20

US5199181A Electric motor brush alignment tool


1992-02-12

US5308717A Battery jig

Pour souder ses éléments NiCd

Skyline Products

Date de priorité

Numéro de publication et titre

Commentaires

1999-11-10

US6293798B1 System and method for an RC controller and software


SMC (Superior Matching Concepts)

Date de priorité

Numéro de publication et titre

Commentaires

2018-07-12

US2020021172A1 CANLESS BRUSHLESS DC MOTOR

Moteur brushless SMC "Low Rider"

Sturmkind GMBH / DR!FT

Date de priorité

Numéro de publication et titre

Commentaires

2022-04-19

DE202022102077U1 Spielfahrzeug mit Drehratensensor


2022-04-19 JP2025513490A ヨーレートセンサーを有する玩具自動車

Suda Metal Manufacturing Co., Ltd. / 株式会社須田金属製作所

Date de priorité

Numéro de publication et titre

Commentaires

1988-07-27

JPH0220596U ラジコン走行玩具のヘッドランプ起伏装置

Traduction automatique du titre: "Dispositif de déploiement de phares pour jouet télécommandé".

1988-07-27

JPH0220595U ラジコン走行玩具のドア開閉装置

Traduction automatique du titre: "Dispositif d'ouverture et de fermeture de porte pour jouet télécommandé (radiocommandé)".

Sullivan Products

Date de priorité

Numéro de publication et titre

Commentaires

1974-07-17

US3939369A Housing for starter motor


1971-12-16

US3751065A RACING CAR AND CHASSIS THEREFOR


1971-06-28

DE2211498A1 Underframe for toy motor car - provides spring suspension with slits in base made of elastic material


1971-06-28

US3752246A RACING CAR


1971-06-28

IT958715B AUTOVETTURA GIOCATTOLO DA CORSA RADIOCOMANDATA


Sumitomo Rubber Industries, Ltd. / 住友ゴム工業株式会社

Date de priorité

Numéro de publication et titre

Commentaires

1997-12-26

JPH11189707A (タイヤ用ゴム組成物およびラジコン用 タイヤ) (RUBBER COMPOSITION FOR TIRE AND TIRE FOR RADIO CONTROL)

Traduction automatique du titre en japonais: "Compositions de caoutchouc pour pneus et pneus pour voitures radiocommandées". Déposant de la demande de brevet: Sumitomo Rubber Industries, Ltd.

1991-05-17

JPH04128796U (模型バギーカー用タイヤ)

Pneus pour tout-terrain. Traduction automatique du titre en japonais: "Pneu pour voiture modèle buggy". Déposant de la demande de brevet: Sumitomo Rubber Industries, Ltd. (住友ゴム工業株式会社), produisant des pneus pour les marques Dunlop et Falken.

Taiyo Kogyo Co. Ltd. /

Date de priorité

Numéro de publication et titre

Commentaires

2006-06-23

JP2008000409A RADIO CONTROL TWO-WHEELER TOY

Moto R/C

2005-06-01

JP2006334059A DIRECTION CONTROLLER FOR TRICYCLE TOY


2002-11-22

JP2004167116A RADIO-CONTROLLED TWO-WHEELED VEHICLE TOY

Moto R/C

2001-05-29

JP2002346240A RACING EQUIPMENT FOR REMOTE CONTROLLED TOY VEHICLE


1994-11-09

JPH08131662A TOY VEHICLE HAVING BULLET LAUNCHING MECHANISM


1994-07-27

JPH0838746A DIRECTION CONTROL DEVICE FOR RADIO CONTROL MOTORCYCLE TOY

Moto R/C

1994-06-20

JPH08838A VEHICLE TOY OF ELECTROMAGNETIC INDUCTION CHARGING SYSTEM


1994-01-25

JPH07213755A ROTARY VEHICLE TOY


1993-06-14

JPH07494U 発電機を用いた玩具

Traduction automatique du titre: "Jouet utilisant un générateur électrique".
Déposant: Taiyo Kogyo Co., Ltd. (大陽工業株式会社).

1992-07-31

JPH0647173A VEHICLE TOY


1992-06-01

JPH05329274A SUSPENSION DEVICE OF VEHICLE TOY


1992-05-28

JP2566184B2 DRIVING DEVICE OF VEHICLE TOY


1992-05-14

JPH05317526A VEHICLE TOY


1991-01-22

EP0496031A1 Caterpillar-type vehicle toy.


1987-02-18

EP0306534A1 DRIVING MOTOR COOLING DEVICE IN RUNNING TOY.


1986-12-29

FR2608936A1 DISPOSITIF DE COMMANDE DE DIRECTION POUR JOUET MOBILE


1978-03-14

JPS54121853A DIRECTION CHANGER FOR RADIOOCONTROLLED AUTOMOBILE TOY

Document Taiyo identifié par le nom de son déposant Shohei Sudo (須藤 昭平).

1976-05-20

JPS52141741A ELECTRIC WAVE CONTROL DEVICE

Document Taiyo identifié par le nom de son déposant Shohei Sudo (須藤 昭平).

1976-03-09

JPS52108228A WHEEL FOR TRAVELLING TOY

Document Taiyo identifié par le nom de son déposant Shohei Sudo (須藤 昭平).

1975-08-31

GB1498775A DIRECTION CHANGING DEVICE IN MOTOR-DRIVEN TOYS

Document Taiyo identifié par le nom de son déposant Shohei Sudo (須藤 昭平), ici orthographié Sudo S.

1975-05-22

US4034504A Direction changing electromagnetic device for wheeled toys

Document Taiyo identifié par le nom de son déposant Shohei Sudo (須藤 昭平), ici orthographié Sudo Shyohei.

1975-05-22

US4034504A Direction changing electromagnetic device for wheeled toys

Document Taiyo identifié par le nom de son déposant Shohei Sudo (須藤 昭平).

Tamiya Model Co., Ltd. / 株式会社田宮模型 / 株式会社タミヤ / タミヤ

Date de priorité

Numéro de publication et titre

Commentaires

2008-02-06

JP2009183456A MODEL TOY AND DRIVE UNIT OF THE SAME

Beaucoup des documents Tamiya concernent les chars radiocommandés

2006-01-27

JP2007198526A BELT TRANSMISSION MECHANISM AND MODEL AUTOMOBILE THEREWITH

Profil de poulies et de courroies

2005-07-22

JP2007029139A MODEL AUTOMOBILE

Au premier coup d'oeil, les dessins font penser à un Tamiya DF-03 quatre roues motrices, mais le moteur est en position rear. Est-ce le fameux proto mystérieux de la marque aux deux étoiles qui faisait tant parler à l'époque?

2004-01-30

JP2005211380A MODEL TANK


2004-01-30

EP1723994A1 STRUCTURE SUSPENSION ET VEHICULE MODELE


2004-01-30

EP1721649A1 POWER TRANSMISSION MECHANISM OF MODEL VEHICLE


2002-01-31

JP2003220282A CONTROL CIRCUIT UNIT FOR MODEL CAR


2001-08-09

EP1286081A1 Power transmission mechanism for use in toy vehicle with engine


2001-04-26

JP2002325289A REMOTE CONTROL DEVICE


2001-04-19

JP2002306860A TURNING CONTROL METHOD FOR REMOTE CONTROL MODEL AND DEVICE THEREFOR


2000-09-19

JP2002085861A COMBAT REMOTE CONTROL MODEL


2000-09-19

JP2002089633A CHAIN LINK


2000-09-19

JP2002085863A INFRARED RAY RECEIVING DEVICE FOR COMBAT MODEL


2000-03-16

JP2001259252A MOTION CONTROL DEVICE OF REMOTE CONTROLLED MODEL


1999-10-05

JP2001104656A TURRET CONTROL METHOD AND DEVICE FOR REMOTE CONTROLLED MODEL


1998-09-29

JP2000102677A METHOD AND DEVICE FOR CONTROLLING TRAVELING OF REMOTE- CONTROL MODEL


1998-06-01

JP3112661B2 TURNING CONTROL METHOD AND ITS DEVICE FOR REMOTE-CONTROL MODEL


1998-05-22

JPH11341877A ELECTRIC MOTOR SPEED CONTROLLER


1994-11-17

JP2834678B2 POWER TRANSMISSION DEVICE

Orthographié "Tamya"

1993-07-23

JP2646465B2 TRAILER TRACTOR TOY CAR

Orthographié "Tamya"

1992-05-11

JP2567366B2 

Orthographié "Tamya"

1992-04-28

JP2567365B2 

Orthographié "Tamya"

1991-08-08

JP2531346Y2 (玩具用オイルダンパ)

Amortisseur hydraulique avec chemisage intérieur pour obtenir une hydraulique variable. Traduction automatique du titre en japonais: Amortisseur à huile pour jouets". Déposant de la demande de brevet: Tamiya Corporation (株式会社田宮模型). 

1989-10-06

JPH0356496U 玩具用ステアリング装置

Traduction automatique du titre: "Dispositif de direction pour jouet".
Déposant: Tamiya Model Co., Ltd. 

1988-03-09

JPH01133997U (玩具車用操舵装置)

Sauve-servo de construction simplifié. Traduction automatique du titre en japonais: "Dispositif de direction pour voiture jouet". Déposant de la demande de brevet: Tamiya Corporation.

1987-04-25

JPS63169196U 考案の名称

Traduction automatique du titre: "Émetteur pour jouets".
L'unique figure montre très probablement la radiocommande Tamya Adspec. L'inventeur mentionné n'est autre que Fumihito Taki (滝 文人), surnommé "Dr. Taki", qui a contribué au développement de nombreux modèles Tamiya, comme le BigWig ou l'Avante, mais aussi un pilote renommé.
Déposant: Tamiya Models Co., Ltd. (株式会社 田宮模型).

1987-04-25

JPS63169197U 玩具用送信機

Traduction automatique du titre: "Émetteur pour jouets (Radiocommande)".
L'unique figure montre très probablement la radiocommande Tamya Adspec. L'inventeur mentionné n'est autre que Fumihito Taki (滝 文人), surnommé "Dr. Taki", qui a contribué au développement de nombreux modèles Tamiya, comme le BigWig ou l'Avante, mais aussi un pilote renommé.
Déposant: Tamiya Models Co., Ltd. (株式会社 田宮模型).

1986-05-16

JPS62183898U  電動ラジオコントロールカー

Traduction automatique du titre en japonais: "Voiture radiocommandée électrique". Déposant de la demande de brevet: Tamiya Corporation.

1986-02-12

JPS62130692U (玩具車用オイルダンパ)

Amortisseur à volume constant. Traduction automatique du titre en japonais: "Amortisseur à huile pour véhicules jouets".
Déposant de la demande de brevet: Tamiya Model Co., Ltd. (株式会社 田宮模型)

1984-05-31

JPS60192893U 玩具用サーボセイバー

Traduction automatique du titre: "Sauve-servo pour jouets".
Ce document concerne le fameux sauve-servo Tamiya basé sur une bague fendue en plastique.
Déposant: Tamiya Models Co., Ltd. (株式会社 田宮模型).

1978-02-04

JPS54118286U 玩具車両用速度制御装置

Traduction automatique du titre en japonais: "Mécanisme de contrôle de vitesse pour véhicules jouets".
Déposant de la demande de brevet: Kabushiki Kaisha Tamiya Mokei (株式会社田宮模型).

1977-07-18

JPS5422887U (Attachment device for electric model car)

Traduction automatique du titre en japonais: "Dispositif de montage de carrosserie pour voiture modèle électrique".
Déposant de la demande de brevet: Tamiya Corporation.

1977-07-18

JPS5422886U (Electric toy chassis, and more particularly, to an electric toy which facilitates mounting of a radio control power supply battery and a switch thereof)

Traduction automatique du titre en japonais: "Châssis pour jouet électrique".
Déposant de la demande de brevet: Tamiya Inc.

1977-04-18

JPS53142891U 電動模型用速度制御装置

Traduction automatique du titre en japonais: "Dispositif de contrôle de vitesse pour modèles électriques".
Déposant de la demande de brevet: Tamiya Model Co., Ltd.

1973-10-31

JPS5072743A ラジコン受信装置

Traduction automatique du titre en japonais: "Dispositif de réception radiocommandé".
Déposant de la demande de brevet: Tamiya Models Co., Ltd. (株式会社 田宮模型).

Taya Engineering Co., Ltd. / 田屋エンジニアリング株式会社)

Date de priorité

Numéro de publication et titre

Commentaires

1996-01-29

JP3819466B2 プロポーショナル方式ラジオコントロール装置用サーボ モータの制御信号生成方式 (SERVO MOTOR CONTROL SIGNAL GENERATION SYSTEM FOR PROPORTIONAL TYPE RADIO CONTROL DEVICE)

Traduction automatique du titre: "Méthode de génération de signaux de commande pour servomoteurs utilisés dans les équipements de radiocommande proportionnelle".
Déposant: Taya Engineering Co., Ltd. (田屋エンジニアリング株式会社)

1993-01-14

JPH0655698U ラジオコントロール用サーボモータ制御回路

Traduction automatique du titre: "Circuit de commande de servomoteur pour radiocommande".
Déposant: Taya Engineering Co., Ltd. (田屋エンジニアリング株式会社)

1991-06-25

JP2577593Y2 (無人自走2輪車)

Vélo R/C. Traduction automatique du titre en japonais: "Véhicule autonome à deux roues". Déposant de la demande de brevet: Taya Engineering Co., Ltd. (田屋エンジニアリング株式会社)

Team Magic Model Ind Co. Ltd.

Date de priorité

Numéro de publication et titre

Commentaires

2001-04-18

TW501495U Improved structure of driving device for starter of model car


2001-04-18

TW492352U Improved structure of start-up base of start-up device for hobby car


Tekin

Date de priorité

Numéro de publication et titre

Commentaires

1998-09-14

US6130513A R/C speed controller with synchronous flyback circuit


1998-09-14

US5925992A R/C model speed controller


1997-02-12

US5744920A Speed controller with improved battery power transfer


1995-02-17

US5577154A Radio controlled model control system with nonlinear trigger-to-controller-output response


1993-08-23

US5324056A High performance automobile suspension

Le kit Tekin de transformation pour le RC10

1991-10-28

US5329213A Method of turning off the receiver of a radio controlled model


1991-10-28

US5216337A Radio controlled speed controller with audible feedback signal


1990-12-05

US5107387A Fuse-protected RC controller


1990-12-05

US5136452A Fuse-protected RC speed controller variations


1990-03-09

US5043640A RC speed controller


1988-09-30

US4914368A RC servo


Tenth Technology

Date de priorité

Numéro de publication et titre

Commentaires

1995-07-27

GB2303591A Tyre for radio controlled model cars

Au nom du fondateur de Tenth Technology et concepteur du tout-terrain 1/10° électrique quatre roues motrices Predator.

1992-07-25

GB2268997A Fluid damper

Amortisseur au comportement différent en compression et en détente

Thunder Tiger

Date de priorité

Numéro de publication et titre

Commentaires

2015-09-25

CN204979512U Structure of waterproof box


2015-09-24

US2017088330A1 WATERPROOF CASE


2015-09-24

TWM513725U Structure of water-proof boxes


2004-05-28

TW200538194A Pin retention mechanism for swing arm of toy vehicle


2003-09-08

TWM247276U Drill for toy model


2003-01-09

US2004134635A1 Mold and method for producing a two-stroke engine casing of a radio control model


2002-12-31

TW564764U Improved joint structure for transmission shaft and bushing of remote control car


2002-12-31

TW569804U Improved structure of shock absorber for remote-control car


2002-12-10

TW547174U Mold for manufacturing two stroke engine model


2002-12-10

TW561912U Engine starter for remote-controlled model


2002-07-30

US6610951B1 Forward/backward switch protective structure for remotely controllable car


2002-07-23

US6582275B1 Structure for quickly turning up car shell of a remotely controllable car


2002-06-28

TW540416U Structure of enclosure for remotely-controlled car capable of being lifted up quickly


2002-06-28

TW542000U Forward/backward switching protective structure for remotely-controlled cart


2002-06-28

TW526782U Chassis of remote-controlled car


2002-06-28

TW547128U Improved structure of fuel tank for remote-control vehicle


2002-04-08

US6572198B1 Structure for connecting a rim with a tire


2002-04-03

TW514033U Coupling structure for wheel hub and tire


2002-04-03

TW543928U Fast battery fixation structure for start station


2001-06-25

US2002196174A1 Remote controller

Radio à volant

2001-06-07

TW500001U Remote controllor


2000-03-28

TW433178U Wheel alignment structure for a model car


2000-03-22

TW492504U Improved structure for carburetor of model engine


2000-02-22

TW459553U Turning mechanism of model motorcycle


Tiny Truck Nutz

Date de priorité

Numéro de publication et titre

Commentaires

2022-01-04

US2023211247A1 METHOD OF MODIFYING A DRIVELINE OF A TOY VEHICLE, MODIFIED TOY VEHICLE DRIVELINE, AND KIT FOR MODIFYING A DRIVELINE OF A TOY VEHICLE


Todoroki Model

Date de priorité

Numéro de publication et titre

Commentaires

1979-09-29

JPS5649178A RADIO CONTROL TYPE MODEL AUTOMOBILE

Piste 1/12° électrique

1979-09-29

JPS5653498U (無藤制御式模型用進心クラッチ)

Embrayage pour moteur thermique. Traduction automatique du titre en japonais: "Embrayage centrifuge pour modèle réduit à commande sans fil". Déposant de la demande de brevet: Totoroki Model Co., Ltd. (株式会社トドロキモデル)

1979-07-20

JPS5619287U (radio controlled model vehicle which elastically suspends front and rear wheels by using the elasticity of the chassis)

Piste 1/8° thermique classique. Traduction automatique du titre en japonais: "Voiture modèle télécommandée sans fil". Déposant de la demande de brevet: Todoroki Model Co., Ltd. (株式会社トドロキモデル).

Toho Denki Seiki KK /東邦電機精器株式会社

Date de priorité

Numéro de publication et titre

Commentaires

1978-03-29

JPS54130260A (無線操縦式走行玩具における方向変換 装置) (DIRECTION CHANGER FOR RADIOOCONTROLLED MOVING TOY)

Traduction automatique du titre en japonais: "Dispositif de changement de direction pour un jouet télécommandé sans fil". Déposant de la demande de brevet: TOHO DENKI SEIKI KK (東邦電機精器株式会社) et Shiei Co., Ltd. (有限会社伸栄).

Tōkō Co., Ltd. / 東光 株式会社

Date de priorité

Numéro de publication et titre

Commentaires

1979-10-04

JPS5652411A COMPARING AND AMPLIFYING CIRCUIT OF DIGITAL PROPORTIONAL TYPE RECEIVER


1979-10-04

JPS5655903U ディジタル プロポーショナル型受信装置

Traduction automatique du titre en japonais: "Appareil récepteur de type proportionnel numérique". Déposant de la demande de brevet: Tōkō Co., Ltd. (東光 株式会社)

1979-07-20

JPS5619296U 玩具用送信機の変調回路

Traduction automatique du titre en japonais: "Circuit de modulation pour émetteur de jouet". Déposant de la demande de brevet: Tōkō Co., Ltd. (東光 株式会社)

1979-06-08

JPS565686A RECEIVER FOR WIRELESS STEERING TOY


1978-09-05

JPS5535659A RECEIVING APPARATUS OF WIRELESS STEERING TOY


1978-07-28

JPS5521711U 無線操縦玩具の受信装置

Traduction automatique du titre en japonais: "Dispositif de réception pour jouets radiocommandés". Déposant de la demande de brevet: Tōkō Co., Ltd. (東光 株式会社)

1978-07-28

JPS5521638U (デジタル プロポーショナル ガタソウシンキ

Traduction automatique du titre en japonais: "Émetteur radio numérique proportionnel". Déposant de la demande de brevet: Tōkō Co., Ltd. (東光 株式会社)

1978-04-03

JPS54147498U (Receiving device for a traveling toy capable of controlling various movements and operations by a carrier wave of one channel)

Traduction automatique du titre en japonais: "Dispositif de réception pour jouet roulant". Déposant de la demande de brevet: Toko Co., Ltd. (東光 株式会社)

Tomy Company, Ltd.Takara Tomy / 株式会社タカラトミー/ Tomiyama Toy Manufacturing Company / 富山玩具製作所 / Takara Co., Ltd.  / 株式会社タカラ

Date de priorité

Numéro de publication et titre

Commentaires

2018-06-14

JP2019213804A CAR TOY

Déposant: Tomy Co. Ltd.

2017-01-17

JP2018114064A BICYCLE TOY

Déposant: Tomy Co. Ltd.

2014-07-08

US2016271507A1 ELECTRICALLY-OPERATED TOY

Déposant: Tomy Co. Ltd.

2012-03-02

WO2013128627A1 JOUET DE TYPE COMMANDE SANS FIL

Déposant: Tomy Co. Ltd.

2011-09-05

JP2011240167A AUTOMOBILE TOY

Déposant: Tomy Co. Ltd.

2010-05-31

US2013072085A1 TOY VEHICLE

Déposant: Tomy Co. Ltd.

2010-01-15

US2011176861A1 JOINT STRUCTURE FOR TOY

Déposant: Tomy Co. Ltd.

2010-01-15

US2011177754A1 AUTOMOBILE TOY

Déposant: Tomy Co. Ltd.

2010-01-15

US2011177755A1 AUTOMOBILE TOY

Déposant: Tomy Co. Ltd.

2007-12-03

US2009142987A1 RADIO CONTROL TOY

Déposant: Tomy Co. Ltd.

2007-10-09

JP2009089898A TOY AUTOMOBILE

Déposant: Tomy Co. Ltd.

2007-06-25

JP2009000441A MOTOR VEHICLE TOY

Déposant: Tomy Co. Ltd.

2007-06-25

JP2009000442A MOTOR VEHICLE TOY

Déposant: Tomy Co. Ltd.

2007-06-25

US2008318491A1 Automobile toy

Déposant: Tomy Co. Ltd.

2007-04-10

JP2008259573A REMOTE CONTROLLER AND TOY

Déposant: Tomy Co. Ltd.

2004-10-13

CN1759912A Running toy

Déposant: Tomy Co. Ltd.

2004-10-13

US2006079152A1 Running toy

Déposant: Tomy Co. Ltd.

2004-10-13

US2006076174A1 Running toy

Déposant: Tomy Co. Ltd.

2004-10-13

JP2006109992A RUNNING TOY

Déposant: Tomy Co. Ltd.

2004-10-13

CN1761144A A motor drive circuit and a running toy

Déposant: Tomy Co. Ltd.

2004-10-13

JP2006136704A RUNNING TOY

Déposant: Tomy Co. Ltd.

2004-10-13

US2006079151A1 Running toy

Déposant: Tomy Co. Ltd.

2004-07-23

JP2004305769A TOY STEERING DEVICE

Déposant: Tomy Co. Ltd.

2003-11-28

JP2005152517A REMOTE-CONTROLLED TOY SET

Déposant(s): Tomy Co. Ltd. & Toytec KK

2003-10-16

CN1496750A Remote control toy

Déposant: Tomy Co. Ltd.

2003-07-10

JP2005027985A TRAVELING TOY

Déposant: Takara Co. Ltd.

2003-06-13

JP2005000504A RADIO-CONTROLLED TOY SYSTEM

Déposant: Takara Co. Ltd.

2003-02-14

US2004162002A1 Toy vehicle

Déposant: Tomy Co. Ltd.

2002-10-16

US2004137847A1 Remote-controlled toy

Déposant: Tomy Co. Ltd.

2000-12-05

US2004198171A1 Suspension for running toy and running toy

Déposant: Tomy Co. Ltd.

2000-12-05

US2003143921A1 Suspension for running toy and running toy

Déposant: Tomy Co. Ltd.

2000-11-28

GB2386082A Electromagnetic steering for a toy vehicle

Déposant: Tomy Co. Ltd.

2000-11-28

US2002094752A1 Steering device for toy and running toy

Déposant: Tomy Co. Ltd.

2000-11-28

US2004198172A1 Steering device for toy

Déposant: Tomy Co. Ltd.

1999-11-16

JP2001137561A RADIO-CONTROLLED TOY

Déposant: Tomy Co. Ltd.

1995-01-31

JP3020661U 遠隔操作式玩具

Traduction automatique du titre: "Jouet télécommandé".
Déposant: Tomy Company, Ltd. (株式会社トミー).

1996-10-17

JP3036987U 走行玩具

Traduction automatique du titre: "Jouet à rouler".
Déposant: Tomy Company, Ltd. (株式会社トミー).

1994-10-12

JP3024793U  ラジコンカー

Traduction automatique du titre: "Voiture télécommandée".
Déposant: Tomy Company, Ltd. (株式会社トミー).

1994-04-01

JP3002676U  遠隔操作式走行玩具

Traduction automatique du titre: "Jouet roulant télécommandé avec modes de conduite variables".
Déposant: Tomy Company, Ltd. (株式会社トミー).

1994-04-01

GB2288987A A remote control toy

Déposant: Tomy Co. Ltd.

1994-02-25

JP3001455U ウインチ機構付き玩具

Traduction automatique du titre: "Jouet avec mécanisme de treuil".
Déposant: Tomy Company, Ltd. (株式会社トミー).

1994-03-04

GB2287115A Radio controlled toy

Déposant: Tomy Co. Ltd.

1994-03-04

JP3001733U 無線操縦玩具

Traduction automatique du titre: "Jouet télécommandé sans fil".
Déposant: Tomy Company, Ltd. (株式会社トミー).

1994-02-24

JP2923863B2 TRAVEL TOY

Déposant: Tomy Company, Ltd. (株式会社トミー).

1993-12-24

JP2509838Y2 遠隔操作式玩具

Traduction automatique du titre: "Jouet télécommandé avec plusieurs modes de fonctionnement".
Déposant: Tomy Company, Ltd. (株式会社トミー).

1993-09-07

JPH0717299U 遠隔操作式自動車玩具

Traduction automatique du titre: "Jouet automobile télécommandé".
Déposant: Tomy Company, Ltd. (株式会社トミー).

1993-03-31

JPH06134146A RUNNING TOY

Déposant: Takara Co. Ltd.

1993-03-31

JPH06285267A CASTER FOR TOY CAR AND TOY CAR

Déposant: Tomy Ltd.

1993-02-04

GB2275206A Toy vehicle.

Déposant: Tomy Ltd.

1993-02-04

GB2275206A Toy vehicle.

Déposant: Tomy Co. Ltd.

1992-12-28

GB2273666A Toy car.

Déposant: Tomy Co. Ltd.

1992-11-05

JPH0639097U 遠隔操縦走行玩具

Traduction automatique du titre: "Jouet de conduite télécommandé".
Déposant: Takara Co., Ltd. (株式会社タカラ).

1992-06-09

JP2516372Y2 自動車玩具装置

Traduction automatique du titre: "Dispositif de jouet automobile".
Déposant: Tomy Company, Ltd. (株式会社トミー).

1992-04-28

JPH056939U  充電機能を備えた遠隔操縦玩具 用送信器

Traduction automatique du titre: "Émetteur pour jouet télécommandé doté d'une fonction de charge".
Déposant: Takara Co., Ltd. (株式会社タカラ).

1992-03-11

JP2518469Y2 ラジコンカー

Traduction automatique du titre: "Voiture télécommandée".
Déposant: Tomy Company, Ltd. (株式会社トミー).

1991-11-25

JPH0515663A RUNNING TOY

Déposant: Tomy Co. Ltd.

1992-11-13

JPH0641796U 遠隔操縦走行玩具  (Remote-controlled traveling toy)

Traduction automatique du titre en japonais: "Jouet de course télécommandé". Déposant de la demande de brevet: Takara Co., Ltd

1991-08-23

US5334075A Remote control car steered upon motor reversal

Déposant: Tomy Co. Ltd.

1988-08-26

JPH0260680A ENGINE TRAVELING TOY

Déposant: Takara Co. Ltd.

1988-08-23

JPH0257286A FORWARD OR REVERSE ROTATION CONVERTER FOR ROTARY DRIVING SHAFT IN TOY

Déposant: Takara Co. Ltd.

1988-05-31

JPH01176500U 組立自在な無線操縦玩具

Traduction automatique du titre en japonais: "Jouet télécommandé assemblable". Déposant de la demande de brevet: Tomy Kogyo Co., Ltd. (株式会社 トミー)

1988-02-12

US4902271A Radio controlled steering device for a two-wheeled vehicle toy

Moto R/C. Déposant: Tomy Kogyo Co.

1988-02-12

JPH01122796U 遠隔制御走行玩具

Moto R/C. Déposant: Tomy Kogyo Co.

1988-01-30

JPH01195885A REMOTE CONTROL TOY

Déposant: Takara Co. Ltd.

1987-10-29

JPH0169595U  遠隔操縦二輪車玩具

Moto R/C. Traduction automatique du titre en japonais: "Jouet de véhicule à deux roues télécommandé". Déposant de la demande de brevet: Takara Co., Ltd.

1987-10-28

JPH0543830Y2 走行玩具

Traduction automatique du titre en japonais: "Jouet roulant". Déposant de la demande de brevet: Takara Co., Ltd.

1987-10-20

JPH01107789A FOUR-WHEELED STEERING MECHANISM OF TRAVELING TOY

Déposant: Takara Co. Ltd.

1987-09-30

JPS6454597U 走行玩具の横転時における起上り構造

Traduction automatique du titre en japonais: "Structure de redressement d'un jouet roulant en cas de renversement". Déposant de la demande de brevet: Takara Co., Ltd.

1987-09-25

JPS6450893U 遠隔制御走行玩具

Traduction automatique du titre en japonais: "Jouet roulant télécommandé". Déposant de la demande de brevet: Takara Co., Ltd.

1987-09-25

JPS6450894U 遠隔制御走行玩具

Voiture R/C avec clavier? Traduction automatique du titre en japonais: "Jouet de course télécommandé". Déposant de la demande de brevet: Takara Co., Ltd.

1987-09-25

JPS6483286A REMOTE-CONTROLLED TOY

Déposant: Takara Co. Ltd.

1987-09-25

JPS6483285A REMOTE-CONTROLLED TOY

Déposant: Takara Co. Ltd.

1987-08-31

JPS6462187A FUEL SUPPLY APPARATUS FOR ENGINE-TRAVELLING TOY

Voiture thermique avec démarrage à tirette, probablement à l'échelle 1/10°, de type tout-terrain avec une carrosserie futuriste.
Déposant: Takara Co., Ltd. (株式会社タカラ).

1987-08-31

JPS6458288A ENGINE-TRAVELLING TOY

Voiture thermique avec démarrage à tirette, probablement à l'échelle 1/10°, de type tout-terrain avec une carrosserie futuriste.
Déposant: Takara Co., Ltd. (株式会社タカラ).

1987-08-31

JPS6458291A FUEL SUPPLY APPARATUS FOR ENGINE-TRAVELLING TOY

Voiture thermique avec démarrage à tirette, probablement à l'échelle 1/10°, de type tout-terrain avec une carrosserie futuriste.
Déposant: Takara Co., Ltd. (株式会社タカラ).

1987-08-31

JPS6458289A ENGINE-TRAVELLING TOY

Voiture thermique avec démarrage à tirette, probablement à l'échelle 1/10°, de type tout-terrain avec une carrosserie futuriste.
Déposant: Takara Co., Ltd. (株式会社タカラ).

1987-08-31

JPS6458290A ENGINE-TRAVELLING TOY

Voiture thermique avec démarrage à tirette, probablement à l'échelle 1/10°, de type tout-terrain avec une carrosserie futuriste.
Déposant: Takara Co., Ltd. (株式会社タカラ).

1987-05-27

JPH0543829Y2 遠隔操縦走行玩具における方向転換構造

Traduction automatique du titre en japonais: "Structure de changement de direction pour jouets roulants télécommandés".
Déposant de la demande de brevet: Takara Co., Ltd. (株式会社タカラ).

1987-01-14

JPS63111197U 

Traduction automatique du titre: "Jouet roulant télécommandé".
Déposant: Takara Co., Ltd. (株式会社タカラ).

1987-01-14

JPH0426151Y2 時計玩具

Déposant: Takara Co. Ltd.

1986-03-31

JPS62231691A RUNNING TOY

Déposant: Takara Co. Ltd.. Avec moteur à combustion interne.

1985-11-26

JPS62270193A RUNNING TOY WITH DEPARTURE DEVICE

Déposant: Takara Co. Ltd.

1985-11-26

JPS62127093A REMOTE DEPARTURE UNIT APPARATUS

Déposant: Takara Co. Ltd.

1985-11-26

JPH0354795Y2走行玩具駆動輪ストッパー構造

Traduction automatique du titre en japonais: "Structure de butée de roue motrice pour jouet roulant".
Déposant de la demande de brevet: Takara Co., Ltd. (株式会社タカラ).

1985-11-26

JPH0354794Y2 走行玩具駆動輪ストツバー構造

Traduction automatique du titre en japonais: "Structure de butée de roue motrice pour jouet roulant".
Déposant de la demande de brevet: Takara Co., Ltd. (株式会社タカラ).

1985-05-27

JPS61194595U 遠隔操縦玩具用受信回路

Traduction automatique du titre: "Circuit de réception pour jouet télécommandé".
Déposant: Takara Co., Ltd. (株式会社 タカラ).

1984-12-03

JPS61135693A RECEIVING CIRCUIT FOR REMOTE STEERING TOY

Déposant: Takara Co. Ltd.

1984-09-13

JPS6171085A REMOTE CONTROL RUNNING TOY

Déposant: Takara Co. Ltd.

1984-07-17

JPS6125588A TRANSMISSION ELEMENT FOR REMOTE CONTROL TOY

Déposant: Takara Co. Ltd.

1984-06-25

JPS6111083A RUNNING TOY

Déposant: Takara Co. Ltd.

1984-06-25

JPS6111084A REMOTE STEERING RUNNING TOY

Déposant: Takara Co. Ltd.

1984-03-30

JPS60207692A REMOTE CONTROL TOY

Déposant: Takara Co. Ltd.

1984-02-29

JPS60182985A CONTROLLER FOR REMOTE OPERATED TOY

Déposant: Takara Co. Ltd.

1984-02-16

JPS60171068A CONTROL TOY

Déposant: Takara Co. Ltd.

1984-02-16

JPS60171067A REMOTE CONTROL TOY

Déposant: Takara Co. Ltd.

1984-01-31

JPS60160987A REMOTE CONTROL TOY

Déposant: Takara Co. Ltd.

1983-11-30

JPS6092587U 走行玩具

Traduction automatique du titre en japonais: "Jouet roulant / Jouet motorisé".
Déposant de la demande de brevet: Takara Co., Ltd. (株式会社タカラ).

1983-11-30

JPS60119979A REMOTE STEERING RUNNING TOY

Déposant: Takara Co. Ltd.

1983-12-29

JPS60142882A REMOTE CONTROL RUNNING TOY

Déposant: Takara Co. Ltd.

1983-12-27

JPH0226557Y2 無線操縦式走行玩具

Traduction automatique du titre en japonais: "Jouet roulant radiocommandé".
Déposant de la demande de brevet: Tomy Kogyo Co., Ltd. 

1983-12-22

JPH0123518Y2 ウイリー走行玩具

Traduction automatique du titre en japonais: "Jouet capable de rouler en faisant des cabrioles (wheely)".
Déposant de la demande de brevet: Takara Co., Ltd. (株式会社タカラ).

1983-12-06

JPH0226556Y2 走行玩具の前輪駆動装置

Déposant: Tomy Corporation (トミー工業株式会社).
Traduction automatique du titre en japonais: "Dispositif d'entraînement des roues avant pour jouets roulants".

1983-12-06

JPS6097195U 走行玩具の前輪駆動装置

Traduction automatique du titre en japonais: "Dispositif de traction avant pour jouet roulant".
Déposant: Tomy Kogyo Co., Ltd. (トミー工業株式会社).

1983-06-03

JPS58185297U 遠隔制御玩具四輪自動車

Traduction automatique du titre en japonais: "Une voiture miniature télécommandée".
Déposant: Takara Co., Ltd. (株式会社タカラ).

1983-03-03

JPS59160485A DIRECTION CONVERTING APPARATUS IN REMOTE STEERING RUNNING TOY

Déposant: Takara Co. Ltd.

1983-02-09

JPS59124598U 遠隔制御走行玩具

Traduction automatique du titre: "Jouet télécommandé à propulsion".
Déposant: Takara Co., Ltd. (株式会社タカラ).

1982-07-16

JPS5911799U 無線操縦玩具の操縦用発信器

Traduction automatique du titre: "Émetteur de commande pour jouet radiocommandé".
Émetteur de radiocommande avec un seul manche.
Déposant:Takara Co., Ltd. (株式会社タカラ).

1982-07-16

JPS5911798U 遠隔制御玩具四輪自動車

Traduction automatique du titre en japonais: "Véhicule jouet à quatre roues télécommandé".
Déposant: Takara Co., Ltd.

1979-12-06

JPS5687097U 無線操縦走行玩具における方向変換装置 (direction converting device for a front wheel drive radio controlled driving toy)

Traduction automatique du titre en japonais: "Dispositif de changement de direction pour un jouet télécommandé". Déposant de la demande de brevet: Takara Kogyo Co., Ltd.

1979-10-25

JPS5666392U 模型車の操向装置 (steering apparatus for a model car, and more particularly to a steering apparatus for a model car such as a radio controlled electric traveling toy)

Traduction automatique du titre en japonais: "Dispositif de direction pour modèle de voiture". Déposant de la demande de brevet: Takada Musen Seisakusho Co., Ltd. (株式会社 高田無線製作所). Mauvaise orthographe de Takara?

1979-06-28

JPS569104U 制御情報受信回路

Traduction automatique du titre en japonais: "Circuit de réception d'informations de contrôle".
Déposant de la demande de brevet: Takada Musen Seisakusho Co., Ltd. (株式会社 高田無線製作所)

1979-04-06

JPS55146197U Running toy that is remotely controlled by radio control

Traduction automatique du titre en japonais: "Jouet de conduite à distance". Déposant de la demande de brevet: Takara Co., Ltd.

1978-11-27

JPS5578394U Driving toy with a driving mechanism and a direction changing mechanism

Traduction automatique du titre en japonais: "Jouet roulant avec un mécanisme de conduite et un mécanisme de changement de direction". Déposant de la demande de brevet: Takara Kogyo Co. Takara Tomy est une entreprise de jouets japonaise formée en 2006 par la fusion de deux sociétés historiques rivales, Tomy (fondée en 1924) et Takara (fondée en 1955).

1978-09-20

JPS5545320U 玩具の無線操縦用受信装置

Traduction automatique du titre en japonais: "Dispositif de réception pour la radiocommande de jouets". Déposant de la demande de brevet: Takara Co., Ltd. (株式会社タカラ).

1978-09-20

JPS5545319U 玩具の無線操縦用発信装置

Traduction automatique du titre en japonais: "Dispositif de transmission pour le radioguidage de jouets". Déposant de la demande de brevet: Takara Co., Ltd. (株式会社タカラ).

1978-06-12

JPS54182079U Direction light control device for a radio controlled car

Traduction automatique du titre en japonais: "Dispositif de contrôle des feux de direction pour voiture radiocommandée". Déposant de la demande de brevet: Tomy Kogyo Co., Ltd.

1978-06-09

JPS54182077U Brake adjusting device for an electric vehicle toy required for a speed race or a slalom race using a remote controller

Variateur mécanique pour châssis piste électrique, probablement au 1/12°. Traduction automatique du titre en japonais: "Dispositif de réglage de frein pour jouet de voiture électrique". Attribué à Tomy en raison du numéro du document.

1978-06-09

JPS54182078U Steering mechanism for a radio controlled car

Traduction automatique du titre en japonais: "Voiture radiocommandée". Déposant de la demande de brevet: Tomy Kogyo Co., Ltd. (aujourd'hui Tomy Company, Ltd.).

1978-06-09

JPS54182090U Radio controlled automobile toy

Traduction automatique du titre en japonais: "Jouet de voiture télécommandé sans fil". Attribué à Tomy en raison du numéro du document.

1978-06-09

JPS54182091U Steering mechanism for a radio controlled car

Traduction automatique du titre en japonais: "Mécanisme de direction pour voiture radiocommandée".
Déposant de la demande de brevet: Tomy Kogyo Co., Ltd. (aujourd'hui Tomy Company, Ltd.).

1978-06-09

JPS54182093U Radio control car

Traduction automatique du titre en japonais: "Voitures télécommandées". Déposant de la demande de brevet: Tomy Kogyo Co., Ltd. (トミー工業株式会社).

1978-06-09

JPS54182094U Sounding mechanism mounted on a radio-controlled car

Traduction automatique du titre en japonais: "Un mécanisme de production de sons pour des appareils tels que les voitures télécommandées".
Déposant de la demande de brevet: Tomy Kogyo Kabushikigaisha (maintenant Takara Tomy).

1978-04-30

JPS54162386U (玩具の遠隔制御装置

Traduction automatique du titre en japonais: "Dispositif de contrôle à distance pour jouets".
Déposant de la demande de brevet: Takara Co., Ltd. (株式会社 タカラ).

1977-12-16

JPS5494595U 走行玩具操肉装置

Traduction automatique du titre en japonais: "Mécanisme de propulsion pour jouet roulant".
Déposant de la demande de brevet: Takara Co., Ltd. (株式会社 タカラ).

1977-12-16

JPS5494595U  走行玩具操肉装置

Traduction automatique du titre en japonais: "Dispositif de mouvement pour jouet mobile".
Déposant de la demande de brevet: Takara Co., Ltd. (株式会社タカラ).

1977-11-05

JPS5475892U 走行玩具

Traduction automatique du titre en japonais: "Jouet roulant".
Le document décrit un voiture jouet doté d'un logement sur son châssis, conçue pour accueillir un conteneur amovible contenant des composants comme un dispositif de télécommande sans fil.
Déposant de la demande de brevet: Takara Co., Ltd. (株式会社タカラ).

1977-09-05

JPS5445700U  無線操縱走行玩具

Traduction automatique du titre en japonais: "Jouet automobile télécommandé".
Déposant de la demande de brevet: Takara Co., Ltd. (株式会社タカラ).

1974-05-29

JPS50152851A 走行玩具の方向

Traduction automatique du titre en japonais: "Dispositif de changement de direction pour jouet mobile".
Déposant de la demande de brevet: Tomy Kogyo Co., Ltd. (トミー工業株式会社).

1967-09-19

JPS4529292Y1 前輪駆動装置

Traduction automatique du titre en japonais: "Dispositif d'entraînement de roue avant".
Déposant de la demande de brevet: Tomy Kogyo Co., Ltd. (トミー工業株式会社).

1967-09-19

JPS4527879Y1 ラジコン玩具の操向装置

Traduction automatique du titre en japonais: "Dispositif de direction automatique".
Déposant de la demande de brevet: Tomy Kogyo Co., Ltd. (トミー工業株式会社).

1966-03-08

JPS4318067Y1 無線操縦等による走行玩具の方向変換装 置

Traduction automatique du titre en japonais: "Dispositif de changement de direction pour jouets roulants télécommandés".
Le document concerne un jouet radiocomandée comportant deux roues motrices configurées pour tourner indépendamment. Des roues dentées sont reliées respectivement aux roues motrices gauche et droite. Un mécanisme moteur rotatif est couplé à ces roues dentées via des pignons capables de s'engrener librement. Une plaque rotative, actionnée par radiocommande, déplace les pignons pour contrôler leur engagement. En modifiant l'état d'engrènement, la rotation du mécanisme moteur peut être transmise à une seule roue motrice pour faire tourner le jouet, ou aux deux roues simultanément pour le faire avancer en ligne droite.
Déposant de la demande de brevet: Tomy Industry Co., Ltd. (トミー工業株式会社).

TopWay Model

Date de priorité

Numéro de publication et titre

Commentaires

2011-03-15

US2012238397A1 LIMITED SLIPPERY DIFFERENTIAL FOR REMOTE CONTROL MODEL VEHICLE


2010-08-30

TW201208751A Impedance adjustment mechanism of remote control car


2008-03-03

CN201170304Y Speed differentiator for model vehicle


2008-02-21

US8079929B2 Differential for model car


2008-02-04

CN201162811Y Differential gear of model vehicle


2008-01-21

TWM336186U Differential mechanism of a model car


2007-03-14

TWM319783U Starter used in start deck of remote control car

Banc de démarrage pour moteur thermique

2007-03-14

TWM317279U Battery positioning structure of starter for remote control car


2007-03-14

CN201079694Y Actuating mechanism for remote control vehicle starting bench

Banc de démarrage pour moteur thermique

2007-03-14

TWM317278U Start structure of starter for remote control car

Banc de démarrage pour moteur thermique

2005-04-01

TWM271611U Model starter

Démarreur pour moteur thermique

Toyan Engine / Baiban Power Tech Shenzhen Co. Ltd. / Changeable Power Tech Shenzhen Limited Company / X-Power Tech Shenzhen Co. Ltd. /百变动力科技(深圳)有限公司

Date de priorité

Numéro de publication et titre

Commentaires

2023-12-15

CN221373769U Micro engine generator

Sous le nom Baiban Power Tech Shenzhen

2023-12-15

CN221942551U Heat dissipation device of engine, engine and model car

Sous le nom Baiban Power Tech Shenzhen

2023-12-06

CN221195199U Engine crankshaft, engine crank connecting rod mechanism, engine and model car

Sous le nom Baiban Power Tech Shenzhen

2023-12-06

CN221195197U Transmission system, miniature in-line six-cylinder engine and model car

Sous le nom Baiban Power Tech Shenzhen

2022-05-18

CN217999732U Sealing assembly of rotor engine and rotor engine

Moteur thermique type Wankel

2022-01-12

CN217177371U Gear shifting mechanism of gearbox, gearbox and model car

Sous le nom Baiban Power Tech Shenzhen

2022-01-12

CN217177294U Gearbox and model car

Sous le nom Baiban Power Tech Shenzhen

2022-01-12

CN217177295U Speed change mechanism of gearbox, gearbox and model car

Sous le nom Baiban Power Tech Shenzhen

2022-01-12

CN114183505A Gearbox and model car

Sous le nom Changeable Power Tech Shenzhen

2021-12-14

CN216588865U Carburetor, micro engine and model car

Sous le nom Changeable Power Tech Shenzhen

2021-12-14

CN216571520U Front axle assembly of toy car and toy car

Sous le nom Changeable Power Tech Shenzhen

2020-07-15

CN213478505U Internal combustion engine and model vehicle

Sous le nom Baiban Power Tech Shenzhen. Figures portant la mention de Toyan Engine.

2020-07-15

CN111878248A Small visible internal combustion engine

Sous le nom X-Power Tech Shenzhen. Figures portant la mention de Toyan Engine.

2020-07-15

CN212615055U Small visual internal combustion engine

Sous le nom Baiban Power Tech Shenzhen. Figures portant la mention de Toyan Engine.

2019-09-17

CN210460897U Carburetor, micro engine and model car

Sous le nom Baiban Power Tech Shenzhen

2019-08-30

CN210460865U Transmission system, micro engine and model car

Sous le nom Baiban Power Tech Shenzhen

2019-08-30

CN210461555U Transmission and model vehicle

Sous le nom Baiban Power Tech Shenzhen

2019-08-30

CN210460830U Water-cooled engine

Sous le nom Baiban Power Tech Shenzhen

Toyo Electronics Ind Corp

Date de priorité

Numéro de publication et titre

Commentaires

1979-09-25

JPS5647807A MOVING DIRECTION INDICATING CIRCUIT OF RADIO CONTROL SYSTEM


1979-09-18

JPS5642812A SHIFT DIRECTION DISPLAY CIRCUIT FOR RADIO CONTROL SYSTEM


Tsukuda Co.

Date de priorité

Numéro de publication et titre

Commentaires

1978-12-28

DE2856478A1 Radio remote controlled toy - has transmitter with short distance range, whose signal is amplified and modulated to actuate DC motor


1978-12-19

GB2038141A Radio-controlled toys


1978-12-15

US4349986A Radio-controlled toys


1978-12-13

CA1120567A JOUETS RADIOCOMMANDES


1978-11-06

JPS5563672A SIMPLE WIRELESS CONTROL TOY


Traxxas / Latrax

Date de priorité

Numéro de publication et titre

Commentaires

2024-07-17

US20260021421A1 MODEL VEHICLE BODY PANEL CONNECTION SYSTEM


2024-07-16

US20260021422A1 MODEL VEHICLE RECEIVER CENTRIC PARAMETER SYSTEM


2023-08-25

US2025065241A1 MODEL VEHICLE VERTICAL DRIVE SYSTEM


2023-06-22

US2024429757A1 MODEL VEHICLE ELECTRONIC BRUSHLESS MOTOR SYSTEM


2022-10-07

US2024115965A1 MODEL VEHICLE WING MOUNTING SYSTEM


2022-10-07

US2024115964A1 MODEL VEHICLE ELECTRONIC COOLING SYSTEM AND METHOD


2022-10-07

US2024207749A1 MODEL VEHICLE SEALED DRIVELINE


2022-01-11

US2023219010A1 BODY MOUNTING SYSTEM FOR A MODEL VEHICLE


2021-06-15

US2022395761A1 DRAG RACING STABILITY MANAGEMENT FOR A MODEL VEHICLE


2021-03-12

US2022288500A1 TRANSBRAKING SYSTEM FOR A MODEL VEHICLE


2020-12-18

US2022193566A1 BODY MOUNTING SYSTEM FOR A MODEL VEHICLE


2020-07-02

US2022001290A1 BODY MOUNTING SYSTEM FOR A MODEL VEHICLE


2020-04-07

US2021313711A1 ELECTRICAL POWER TAP CONNECTOR


2020-03-30

US2021299584A1 TREADED TRACTION DEVICE AND SYSTEM FOR MODEL VEHICLES

Chenilles

2020-03-20

US2021291068A1 MODEL VEHICLE STATE DETECTION AND DETERMINATION METHOD AND SYSTEM


2020-02-28

US2021269011A1 POWER CONTROL SYSTEM AND METHOD FOR MODEL VEHICLES


2020-01-24

US2021228995A1 MODEL VEHICLE TURN SIGNAL METHOD AND SYSTEM


2019-01-31

US2020247179A1 WHEEL ASSEMBLIES FOR MODEL VEHICLES


2018-06-29

US11110873B2 Battery eliminator circuit apparatus, system, and method for a model vehicle


2018-01-17

US2019221801A1 BATTERY RETENTION SYSTEM AND METHOD


2017-01-27

US2020148185A1 DRAG BRAKING ELECTRONIC SPEED CONTROL FOR A MODEL VEHICLE


2017-01-27

US2020001194A1 WHEEL WELL SYSTEM AND METHOD FOR MODEL VEHICLES


2017-01-27

US2019389304A1 PORTAL GEAR FOR MODEL VEHICLES

Pour Crawler

2017-01-27

US2019358556A1 CRUISE CONTROL SYSTEM FOR A MODEL VEHICLE


2017-01-19

US2019381416A1 MULTI-POSITION BODY MOUNT FOR MODEL VEHICLE


2016-10-19

US2019314733A1 ACCESSORY CONNECTION SYSTEM, METHOD AND APPARATUS FOR A MODEL VEHICLE


2015-04-17

US10073448B2 Steering stabilizing system with automatic parameter download for a model vehicle


2015-04-17

US2016303485A1 STEERING STABILIZING APPARATUS FOR A MODEL VEHICLE


2014-11-07

US2016129355A1 SELF-RIGHTING MODEL VEHICLE


2014-07-16

US2016016089A1 ON-BOARD AUDIO SYSTEM FOR A MODEL VEHICLE


2014-10-01

US2016099581A1 BATTERY CHARGER WITH USER INTERFACE


2014-10-01

US2016099580A1 BATTERY CHARGER WITH USER INTERFACE


2014-06-03

US10027146B2 Battery connection method and apparatus


2013-06-28

US2015131241A1 WATERTIGHT SEALING APPARATUS AND METHOD FOR ELECTRONIC ENCLOSURE


2013-02-21

US10010802B2 Hybrid brake system for a model vehicle


2012-04-02

US10525370B1 System for operating a motor vehicle


2011-10-31

US9062820B2 Holder mechanism for a multi-function electronic device


2011-10-31

US9333437B2 Modular transmit controller


2011-10-31

US2015015376A1 MULTI-FUNCTION ELECTRONIC DEVICE-ENABLED TRANSMIT CONTROLLER


2011-10-31

WO2013066892A1 MULTI-FUNCTION ELECTRONIC DEVICE-ENABLED TRANSMIT CONTROLLER


2010-05-05

US9004977B2 Auxiliary user interface for a transmit controller


2009-09-10

US2011057778A1 AUTOMATIC DETERMINATION OF RADIO CONTROL UNIT CONFIGURATION PARAMETER SETTINGS


2009-09-10

US2011063090A1 ESTABLISHING A LINK WITH A RADIO TRANSMIT CONTROLLER


2009-09-10

US8995927B2 Communication between a receiver and a transmit controller


2008-10-13

US2010093482A1 LOCKING DIFFERENTIAL ASSEMBLY FOR A MODEL VEHICLE


2007-10-16

US10300398B2 Protective enclosure for model vehicle


2007-04-17

US7374460B1 Electrical connector assembly


2006-06-20

US2007293125A1 Low power electronic speed control for a model vehicle


2006-02-15

US7578721B1 Wheelie bar apparatus for a model vehicle


2005-04-07

US2006292966A1 Low center-of-gravity chassis for a model vehicle


2005-04-07

US2006266597A1 Braking pad caliper apparatus for a model vehicle


2005-04-07

US2006228986A1 Telescoping drive shaft for a model vehicle


2005-04-07

US2007144609A1 FUEL FILLER CAP FOR A MODEL VEHICLE


2005-04-07

US2006278464A1 Integrated center point steering mechanism for a model vehicle


2005-04-07

US2006226621A1 Bump steer adjustment mechanism for a model vehicle


2005-04-07

US2006264149A1 Mounting apparatus for a servo mechanism for a model vehicle


2005-04-07

US2006261613A1 Bumper mount for a model vehicle


2005-04-07

US2006278315A1 Ball joint for a model vehicle


2005-04-07

US2006260863A1 Stub axle apparatus for a model vehicle


2005-04-07

US2006289702A1 Double looped fuel line for a model vehicle


2005-04-07

US2009036021A1 ROCKER ARM ASSEMBLY FOR A MODEL VEHICLE


2005-04-07

US2007256659A1 Throttle linkage for a model vehicle


2005-04-07

US2007084693A1 Slipper clutch for a model vehicle


2005-04-07

US2006260860A1 Pivoting engine mount for a model vehicle


2005-04-07

US2006264151A1 Vehicle suspension for a model vehicle


2003-04-28

US2003236121A1 Electronic shift lockout for scale model vehicle


1999-10-21

US2002148312A1 Forward/reverse transmission for scale model vehicle

Une marche arrière pour les autos à propulsion thermique

1991-09-27

JPH05108911A UNITARY-BODY TYPE LAP COUNTER FOR RADIO CONTROL MODEL

Ce document n'est pas sous le nom de Traxxas ou de Latrax, mais sous le nom d'un des co-fondateurs de Traxxas

1990-07-16

US5090030A Integral lap counter for radio-controlled models

Ce document n'est pas sous le nom de Traxxas ou de Latrax, mais sous le nom d'un des co-fondateurs de Traxxas

1990-03-05

US5362283A Apparatus and method for adjusting the tractive torque at the driven wheels of a scale model vehicle

Le différentiel à billes et la boîte de transmission du célébrissime Traxxas TRX1

1991-09-27

JPH05108911A (無線制御模型用一体型ラップ計数器) (UNITARY-BODY TYPE LAP COUNTER FOR RADIO CONTROL MODEL)

Système de comptage de tours pour les modèles radiocommandés qui ne nécessite pas de dispositif de génération de signal supplémentaire sur le modèle lui-même. Traduction automatique du titre en japonais: "Compteur de tours intégré pour modèle radiocommandé". Demande de brevet déposé par un des co-fondateurs de Traxxas

Turbo Racing / 广东新石器创新技术有限公司 / Shenzhen NewStone Technology /深圳市新石器创新技术有限公司

Date de priorité

Numéro de publication et titre

Commentaires

2024-12-12

CN223654425U 实景遥控车及模拟驾驶设备


2024-12-12

CN223601994U Chassis structure and model car


2024-12-09

CN119763305A Control method, remote controller, control device, electronic equipment and storage medium


2024-03-11

CN117872936A Method for optimizing energy consumption of remote control model trolley based on driving characteristic dimension


2023-11-07

CN221332736U Model vehicle and miniature remote control trailer


2023-11-07

CN221332737U Model car and model car assembly


2022-08-04

CN115319681A Model car disassembly and assembly jig and disassembly method of model car


2022-08-02

CN115317928A Model car front wheel suspension structure and model car


2022-04-26

CN114768270A Shock absorption device and model car


2022-04-26

CN217472695U Chassis assembly and model car


2022-04-26

CN217472696U Shock absorption device and model car


2022-04-22

CN217472700U Remote controller and remote control car assembly


2022-04-22

CN217833428U Model car rear wheel assembling jig


2022-04-21

CN217475844U Pressing device


2022-04-21

CN217345190U Jig


2021-03-29

CN215310190U Model car

Auto R/C au 1/76°?

2021-03-29

CN215310189U Model car

Auto R/C au 1/76°?

2021-03-29

CN113144631A Model car

Auto R/C au 1/76°?

2021-03-29

CN215025961U 模型车

Auto R/C au 1/76°?

2021-03-29

CN215310188U Model car

Auto R/C au 1/76°?

2021-03-25

CN215310196U Remote controller and remote control assembly

Radiocommande et auto R/C au 1/76°?

2020-11-19

CN213210772U Miniature proportion remote control model control system


2020-05-27

CN212267623U Novel proportional remote control model miniature steering system


2019-10-10

CN210666494U Electronic speed regulator with built-in super-large BEC


2019-10-10

CN211132999U Model remote controller with sound group

Radiocommande

2019-09-19

CN210606075U Novel remote controller


2019-06-26

CN210583657U Novel gun type remote controller with expansion accessory

Radiocommande

2019-06-10

CN210083115U Multifunctional integrated model receiver

Radiocommande

2019-06-10

CN210078845U A governor and receiver integrated model receiver

Radiocommande

2019-06-10

CN209137972U Gun type remote controller with detachable handle

Radiocommande

Twister

Date de priorité

Numéro de publication et titre

Commentaires

1990-11-21

US5203243A Commutator truing lathe

Tour à collecteur

Tyco Industries, Inc.

Date de priorité

Numéro de publication et titre

Commentaires

1996-01-04

EP0782874A2 Véhicule jouet dont les roues sont positionnées de façon ajustable


1994-11-09

EP0700703A2 Mécanisme de lancement de projectiles monté sur véhicule jouet


1994-07-27

US5709583A Steering system for radio-controlled wheeled vehicle toy

Moto R/C

1994-07-27

A2154616C SYSTEME DE DIRECTION POUR VEHICULES JOUETS (SUR ROUES) RADIO-GUIDES


1994-01-25

US5667420A Rotating vehicle toy


1993-12-02

US5474486A Remotely controlled, transformable, water squirting toy vehicles


1992-07-31

US5429543A Vehicle toy


1992-07-31

US5322469A Vehicle toy with elevating body


1991-01-22

US5135427A Caterpillar-type vehicle toy


Unix Co., Ltd. / 株式会社 ユニックス

Date de priorité

Numéro de publication et titre

Commentaires

1986-04-30

JPS62177796U ラジオコントロール走行玩具のスピード コントローラ

Traduction automatique du titre: "Contrôleur de vitesse pour jouet de course radiocommandé".
Le document concerne un mécanisme de commutation comprenant une base cylindrique, plusieurs points de contact fixes disposés à l'intérieur, et un corps rotatif coaxial muni de contacts mobiles pour sélectionner la connexion.
Déposant: Unix Co., Ltd. (株式会社 ユニックス).

1986-04-28 JPS62254791A ラジオコントロール玩具の加熱防止装 置 (HEATING PREVENTING APPARATUS OF RADIO CONTROL TOY) Traduction automatique du titre: "Dispositif de prévention de la surchauffe pour jouets radiocommandés".
Déposant: Unix Co., Ltd. (株式会社 ユニックス).

1985-05-29

GB2175656A Change-speed gearing

Déposant: Unix Co.

Vanquish Products

Date de priorité

Numéro de publication et titre

Commentaires

2009-03-10

US2010231030A1 Adjustable Weighted Wheel Assembly

Pour crawler

2009-02-24

US2010212797A1 Adjustable Foam Inserts for Vehicle Tires

Pour crawler

Vertical Partners West LLC

Date de priorité

Numéro de publication et titre

Commentaires

2009-07-01

WO2011002529A1 Universal battery connector


VKAR Racing / Dongguan Weika Ind Co. Ltd. / 东莞市维卡实业有限公司

Date de priorité

Numéro de publication et titre

Commentaires

2020-11-26

CN213724830U Head-up wheel structure of model car


2020-11-26

CN213724829U Adjustable cantilever structure


2020-11-26

CN213724828U Shell protection structure for model car


2020-11-26

CN213744733U Double-speed gearbox structure


2020-11-26

CN213724827U Model car shell fixing structure


2018-08-17

CN208626616U Model door bridge device


2018-07-23

CN208626614U Differential lock of telecontrolled model car central authorities ends device


Volz Modellbau / Volz Servos

Date de priorité

Numéro de publication et titre

Commentaires

2008-07-01

DE202008008644U1 Raumsparender Servomotor


1999-12-21

DE19961729A1 Mounting frame for holding servomotor in opening, has ramps which cooperate with recesses or placing surfaces on housing of servomotor


1999-11-12

US6461213B1 Casing for a model vehicle rudder machine


1998-02-04

US6292653B1 Servo case


1997-02-25

DE19707437A1 Plastic housing for servo equipment of radio-control system for model vehicles


1994-07-13

DE4424623A1 Pivot arm operating drive for model vehicle or satellite receiver


1993-09-23

US5522575A Servo case and mounting fixture therefor


VRX Racing - River Hobby Tech (Shenzhen) / 深圳市瑞之浩科技有限公司

Date de priorité

Numéro de publication et titre

Commentaires

2023-05-09

CN220142608U Model car chassis structure convenient to disassemble


2021-07-15

CN215232095U Remote control four-wheel drive high-speed vehicle


2021-07-06

CN215244140U Hub mounting structure for remote control model car


2021-07-06

CN215232096U Anti-rollover structure of remote control four-wheel drive


2021-06-18

CN215741791U Independent swing arm structure of remote control model car


2021-06-18

CN215741790U Impedance adjusting mechanism of remote control model car


2021-06-10

CN215741788U Efficient damping type remote control four-wheel-drive vehicle


2021-06-10

CN215232097U Remote control car capable of controlling overturning


2018-10-30

CN208978558U Remote-control four-wheel-drive large-foot vehicle. Wheel assemblies are convenient to replace


2018-10-30

CN209076032U Rotatable remote control model axle body


2018-10-30

CN209076035U Device for conveniently replacing battery of remote-control four-wheel-drive cart


2018-10-30

CN208931459U Oil-driven remote control car with rear straight bridge type structure


2018-10-29

CN209076034U Anti-collision remote control car convenient to find


2018-10-29

CN209076031U Front face anti-collision mechanism of remote control four-wheel drive vehicle


2018-10-29

CN209333200U Deformable remote control model car


Xiaomi / Beijing Xiaomi Mobile Software Co. Ltd. /北京小米移动软件有限公司

Date de priorité

Numéro de publication et titre

Commentaires

2017-08-01

CN206995854U Electronic telecontrolled model car and battery

Autre demandeur: GUANGZHOU CHEMI INFORMATION TECH Co. Ltd. /广州车米信息科技有限公司

2017-01-22

CN206414759U Telecontrolled model axle body and telecontrolled model car

Crawler, autre demandeur: GUANGZHOU CHEMI INFORMATION TECH Co. Ltd. /广州车米信息科技有限公司

Team XRay

Date de priorité

Numéro de publication et titre

Commentaires

?

?


Yinhui Toy Product

Date de priorité

Numéro de publication et titre

Commentaires

2007-04-18

CN101288811A Counterbalance system for long-range control of toy and turning mechanism

Moto R/C

Yokomo / 株式会社ヨコモ

Date de priorité

Numéro de publication et titre

Commentaires

2013-09-24

JP2015062488A AXLE STRUCTURE OF RADIO-CONTROLLED MODEL CAR

Différentiel à billes pour piste 1/12° électrique

2004-07-08

CN1718269A Drift tire and remote control car having tire attached thereto

Pneus de drift, probablement pour Yokomo

2003-10-10

JP2005132339A DRIFT TIRE, AND REMOTE CONTROL CAR MOUNTING THE TIRE

Pneus de drift

1980-07-05

JPS5717681A (走行玩具用走行装置) (TRAVELLING DEVICE FOR TRAVELLING TOY)

Différentiel à billes pour Pan-Car. Traduction automatique du titre en japonais: "Dispositif de conduite pour jouet roulant". Déposant de la demande de brevet: Yokobori Shiyouten KK (株式会社横堀商店), soit Yokobori Mokei, l'ancien nom de Yokomo. Yokomo est un mot-valise basé sur Yokobori Mokei, Tomoaki Yokobori, le fondateur et président de Yokomo.

Yonezawa Toys Co., Ltd. / 米澤玩具株式会社

Date de priorité

Numéro de publication et titre

Commentaires

1991-03-11

JPH04111399U (ラジオコントロール模型玩具の充電装 置)

Circuit de charge composé d'un circuit de temporisation de charge et d'un circuit de commutation, qui est conçu pour empêcher la surcharge des batteries secondaires rechargeables intégrées dans les jouets radiocommandés. . Traduction automatique du titre en japonais: "Dispositif de charge pour jouet radiocommandé". Déposant de la demande de brevet: Yonezawa Co., Ltd. (株式会社ヨネザワ).

1991-04-09

JPH04120798U (ラジオコントロール模型玩具における 充電装置)

Emetteur de radiocommande à volant. Traduction automatique du titre en japonais: "Dispositif de chargement pour jouets modèles radiocommandés". Déposant de la demande de brevet: Yonezawa Co., Ltd. (株式会社ヨネザワ).

1990-02-06

US5158495A Remotely-controlled vehicle and controller

Déposant: Yonezawa Corp.

1990-02-06

EP0440900A2 Remotely-controlled toy.


1990-02-06

JPH03101997U 遠隔操作玩具における発振器の着脱装置

Traduction automatique du titre: "Dispositif de fixation/détachement d'un oscillateur pour jouet télécommandé".
Déposant: Yonezawa Co., Ltd. (株式会社ヨネザワ).

1990-02-06

JPH03101997U 遠隔操作玩具における発振器の着脱装置

Traduction automatique du titre: "Dispositif de fixation/détachement d'un oscillateur pour jouet télécommandé".
Déposant: Yonezawa Co., Ltd. (株式会社ヨネザワ).

1989-07-31

JPH0330740U 充電装置

Traduction automatique du titre: "Appareil de charge / Chargeur".
Le document concerne un chargeur spécifiquement conçu pour les batteries nickel-cadmium (Ni-Cd) intégrées dans des modèles radiocommandés.
Déposant: Yonezawa Co., Ltd. (株式会社ヨネザワ).

1989-07-31

JPH0329197U 模型自動車

Traduction automatique du titre: "Modèle réduit d'automobile".
Déposant:  Yonezawa Co., Ltd. (株式会社ヨネザワ)

1987-05-30

JPS63193098U (走行玩具の前輪懸架装置)

Tout-terrain quatre roue motrices électrique. Traduction automatique du titre en japonais: "Dispositif de suspension de roue avant pour jouet roulant". Déposant de la demande de brevet: Kabushiki Kaisha Yonezawa (株式会社ヨネザワ).

1986-11-13

JPH0453840Y2 無線操縦玩具用送信機

Traduction automatique du titre en japonais: "Émetteur pour jouet radiocommandé sans fil".

1986-10-30

JPS6371098U カメラ内蔵無線操縦玩具

Traduction automatique du titre en japonais: "Jouet radiocommandé avec caméra intégrée".

1981-06-12

JPS57197998U (二輪車電動カーの方向変換装置)

Moto R/C. Traduction automatique du titre en japonais: "Dispositif de changement de direction pour un véhicule électrique à deux roues". Déposant de la demande de brevet: Yonezawa Toys Co., Ltd., mais ressemble fortement au document JPS5839297U déposé par Nikko Co., Ltd. et portant le même titre.

1979-08-25

JPS5633707A DRIVING UNIT FOR RADIO CONTROL DEVICE


1979-08-25

JPS5631781A REVOLUTION LIMITING DEVICE FOR SERVOOMOTOR IN RADIOOCONTROLLED TOY


1979-08-25

JPS5631782A DISCRIMINATING CIRCUIT FOR TONE SIGNAL IN RECEIVER OF RADIOOCONTROLLED TOY


1979-08-25

JPS5633707A DRIVING UNIT FOR RADIO CONTROL DEVICE


1979-04-11

JPS55148800U無 線操縦玩具の作動装置

Semi-remorque R/C. Traduction automatique du titre en japonais: "Dispositif de commande pour jouet radiocommandé". A noter un document similaire déposé par Nikko Co., Ltd. (株式会社 ニッコ一), JPS5494495U.
Déposant: Yonezawa Toys Co., Ltd. (米澤玩具株式会社).

1977-06-25

JPS5412597U (Radio-controlled traveling toy having a direction change device)

Traduction automatique du titre en japonais: "Canon lourd blindé télécommandé / Dispositif de changement de direction pour jouet télécommandé". Déposant de la demande de brevet: Yonezawa Toys Co., Ltd. Cette société a fusionnée avec Sega Enterprises, Ltd. en 1994 pour former Sega Yonezawa, Inc. (セガヨネザワ) était l'ancêtre de Sega Toys qui deviendra Sega Fave Corporation.

1977-06-21

JPS5411796U (Radio-controlled traveling toy having a direction change device)

Traduction automatique du titre en japonais: "Dispositif de changement de direction pour un jouet de course télécommandé sans fil". Déposant de la demande de brevet: Yonezawa Toys Co., Ltd.

Yonex Toy Co., Ltd. / 米澤玩具株式会社

Date de priorité

Numéro de publication et titre

Commentaires

1977-06-21

JPS5411796U  無線操縦走行玩具における方向変換

Traduction automatique du titre: "".
Déposant: Yonex Toy Co., Ltd. (米澤玩具株式会社).

Z-Car Technology / SH Engines

Date de priorité

Numéro de publication et titre

Commentaires

2008-05-30

TWM344993U Strengthened shock absorbing structure for engine foundation and differential gear of the model car


Zhejiang Feishen Vehicule / 浙江飞神车业有限公司 / FS Racing

Date de priorité

Numéro de publication et titre

Commentaires

2023-11-30

CN221130957U Receiver module of remote control model


2023-11-23

CN221102574U Magnetic type connecting line structure on car model


2023-11-23

CN117375641A Three-in-one remote control model transmitter


2023-08-14

CN116966610A Racing type remote control car model

Moto R/C

2023-05-16

CN116495089A Remote control model motorcycle

Moto R/C

2023-05-15

CN116474383A Remote control model car


2022-12-06

CN115738304A Automatic stabilizing structure of remote control motorcycle

Moto R/C

2022-12-02

CN115957523A Autonomous stabilization system of remote control model car


2022-12-02

CN218996158U Remote controller channel precision tester


2022-11-17

CN115888131A Remote control model car


2022-11-02

CN218882883U Damping system of model car

Speed Basher au 1/7°?

2022-11-02

CN219050307U Front axle damping mechanism of model car

Speed Basher au 1/7°?

2022-10-25

CN218589658U Heat dissipation structure of remote control model car

Speed Basher au 1/7°?

2022-10-12

CN218421005U Composite assembly type chassis of model car

Speed Basher au 1/7°?

2022-10-12

CN218421006U Flow guide structure of chassis of model car

Speed Basher au 1/7°?

2022-09-07

CN218383765U Trigger adjusting structure of remote controller

Emetteur de radiocommande

2022-09-07

CCN218383764U Steering gear adjusting structure of remote controller

Emetteur de radiocommande

2022-08-31

CN218357342U Model car for simulating cannonball launching


2021-12-03

CN114130041A Model car


2021-11-25

CN216472212U Refueling device for differential mechanism of model car


2021-11-25

CN216306683U Conveying switching structure on refueling device


2021-11-03

CN217092061U Car model remote controller


2021-11-03

CN216459775U Wheel machining equipment of model car


2021-08-23

CN113648666A Remote control model car and automatic obstacle avoidance mechanism thereof


2020-03-16

CN211935573U Model car with double-speed mechanism


2020-01-15

CN211836295U Remote control model car for football competition


2020-01-15

CN211659259U Model car with automatic car body locking mechanism


2019-06-18

CN210125172U Remote control model car


2019-06-05

CN210114818U Intelligent unmanned model vehicle

Drone roulant

2019-06-05

CN209912926U Battery replacement structure of model car


2019-06-05

CN210114822U Motor replacement adjusting mechanism of model car


2019-06-04

CN210114821U Adjustable battery compartment of model car


2019-06-04

CN110215721A Racing model car

Speed Basher au 1/7°?

2019-06-04

CN210229136U Racing remote control model car

Speed Basher au 1/7°?

2019-06-04

CN210114820U Model vehicle

Speed Basher au 1/7°?

2019-06-04

CN210063112U Stable model vehicle frame

Speed Basher au 1/7°?

2019-06-04

CN210062648U Motor mounting mechanism of model car

Speed Basher au 1/7°?

2018-09-30

CN208927592U Remote control model car capable of turning over automatically


2018-09-30

CN109011630A Shock absorbing chassis of vehicle model

Formule 1

2018-09-30

CN208785757U Turning mold's shock attenuation chassis

Formule 1

2018-09-20

CN208756961U Last adjustable gap's of turning mold gearbox


2018-09-20

CN208975155U Amphibious car model


2018-09-20

CN208809461U Remote control model car facilitating ditch crossing


2018-09-20

CN208809456U Remote control model car facilitating ditch crossing


2018-09-20

CN108786139A Remote-control model car convenient for moving across ditch


2018-09-20

CN108786140A Remote-control model car convenient for moving across ditch


2016-02-04

CN205340136U Electronic turning mold


2016-02-04

CN205323222U Electronic turning mold's drive mechanism


2016-02-04

CN205323223U Motor seat device with adjustable electronic turning mold


2016-02-04

CN205516475U Electronic turning mold


2016-02-04

CN205340139U Turning mold remote controller


2015-02-10

CN104667541A Electric vehicle model


ZTW Technology / Shenzhen ZTW Model Science & Technology /深圳市中特威科技有限公司

Date de priorité

Numéro de publication et titre

Commentaires

2022-05-18

CN217421622U Novel fan air duct heat dissipation structure


2018-10-22

CN209390581U Double-fan speed regulator for toy car


2018-10-22

CN209390579U Efficient heat dissipation type speed regulator for toy car


2018-10-22

CN209390578U Efficient heat dissipation device for speed regulator

Contrôleur brushless

2018-10-22

CN209390580U Multilayer car model speed regulator

Contrôleur brushless

2018-10-22

CN209390581U Double-fan speed regulator for toy car

Contrôleur brushless

2018-10-22

CN209046558U Speed regulator with stable structure

Contrôleur brushless

2018-10-22

CN209390579U Efficient heat dissipation type speed regulator for toy car

Contrôleur brushless

2015-08-05

CN106445568A Electronic speed control parameter setting method, setting system and programming card

Contrôleur brushless

2015-08-05

CN205139950U Wireless programming card

Contrôleur brushless

___________________________________________________________________________________________________________________________________________
___________________________________________________________________________________________________________________________________________
___________________________________________________________________________________________________________________________________________

Déposants non classés, Particuliers, ou Sociétés non-identifiées

2025

Date de priorité

Numéro de publication et titre

Commentaires

2025-03-17

CN224009022U 一种小型遥控车的车体底盘结构

Voiture R/C probablement au 1/28°. Demande de brevet déposée par un ou des particuliers?

2025-03-14

CN223944968U 一种玩具车遥控器

Voiture R/C probablement au 1/64°, pouvant se loger dans l'émetteur de la radiocommande. Demande de brevet déposée par un ou des particuliers? Du même déposant que le document CN223392873U.

2024

Date de priorité

Numéro de publication et titre

Commentaires

2024-10-25

CN223392873U Hall sensing steering mechanism toy car

Voiture R/C probablement au 1/28°. Demande de brevet déposée par un ou des particuliers? Du même déposant que le document CN223944968U.

2024-09-22

CZ38221U1 A joystick with an external adjustment for RC transmitters

Manche de radiocommande. Demande de brevet déposée par un ou des particuliers?

2024-07-18

CN223055079U Magnetic attraction charging remote control toy car

Déposant: SHANGHAI MERIT TECH CORPORATION (上海美利达电子科技有限公司).

2024-07-08

CN223026695U Remote controller

Déposant: SHANTOU XINGFENG ZHIZAO TOYS Co. Ltd. (汕头市星烽智造玩具有限公司).

2024-05-31

CN222482610U Control circuit structure of remote control toy car

Déposant: CHANGRONG TOYS DONGGUAN Co. Ltd. (长荣玩具(东莞)有限公司).

2024-04-29

CN222067491U Toy transmission speed change gear shifting mechanism

Demande de brevet déposée par un ou des particuliers?

2024-04-10

CN222238768U Novel dual-mode switching single-handle remote controller

Radiocommande à un seul manche. Demande de brevet déposée par un ou des particuliers?

2024-03-18

CN222092511U GPS tracking intelligent vehicle provided with brushless motor

Déposant: Jiangsu University of Technology / 江苏理工学院

2024-01-31

CN117815678A Steering engine arm, steering engine assembly, remote control model, control method of remote control model and second arm

Palonnier de servo. Demande de brevet déposée par un ou des particuliers?

2024-01-29

CN222488872U Ice surface antiskid wheel, wheel device and remote control model car

Roues dentées pour rouler sur la glace. Demande de brevet déposée par un ou des particuliers?

2024-01-16

US2025229190A1 TOY CAR

Voiture R/C probablement au 1/28°. Demande de brevet déposée par un ou des particuliers?

2023

Date de priorité

Numéro de publication et titre

Commentaires

2023-12-13

WO2025123073A1 SHOCK ABSORBER ASSEMBLY FOR RADIO-CONTROLLED SCALE MODEL VEHICLES

Amortisseurs pour voitures R/C comportant une chambre de compression principale et un canal de dérivation latéral, fluidiquement connectés par une série d'orifices le long de leurs longueurs. Lorsque le piston se déplace à l'intérieur de la chambre de compression principale, l'huile s'écoule à travers les orifices et le canal de dérivation. L'ensemble offre un amortissement variable en fonction de la position du piston dans la chambre.
Demande de brevet déposée par un ou des particuliers?

2023-11-10

CN117325592A Sponge rubber tire

Demande de brevet déposée par un ou des particuliers?

2023-05-04

CN219681667U Pull rod structure of RC remote control car

Chape. Déposant: Dongguan Huirui Plastic Products Co., Ltd. (东莞辉瑞塑胶制品有限公司).

2023-04-25

JP2024157145A TIRE COMPONENT

Déposant: NOK CORP.

2023-01-16

KR20240114059A RC RC car racing competition system capable of fusion of automatic driving and user-controlled

Demande de brevet déposée par un ou des particuliers?

2022

Date de priorité

Numéro de publication et titre

Commentaires

2022-12-27

CN115891509A Tire body structure of tire and tire for model car

Déposant: Cheng Shin Tire (Xiamen)

2022-12-07

CN116583334A Remote control RC vehicle and control method, system, device and equipment of RC vehicle

Déposant: Guangzhou Kugou Computer Technology Company Limited et Guangzhou Fanxing Entertainment Information Technology Co., Ltd.

2022-11-22

CN218728765U Foldable rocker structure

Manche de radiocommande. Déposant: Shenzhen Aier Mu Innovation Technology Co., Ltd. (深圳阿尔木创新科技有限公司).

2022-10-21

US2024131444A1 SYSTEM AND METHOD TO IMPROVE RADIO CONTROL VEHICLE TIRE PERFORMANCE

Demande de brevet déposée par un ou des particuliers?

2022-08-12

KR20240022681A Remote Controller for Radio Controlled Car

Demande de brevet déposée par un ou des particuliers?

2022-07-12

CN217745717U Remote control toy

Radiocommande.

2022-06-24

CN217612889U Model car and base thereof

Châssis modulable. Demande de brevet déposée par un ou des particuliers?

2022-04-18

US11707692B1 Deployable portable ramp and methods

Demande de brevet déposée par un ou des particuliers?

2022-02-04

KR20230118394A RC CODING EDUCATION SYSTEM USING RC CAR

Déposant: DONG SEOUL COLLEGE INDUSTRY-ACADEMY COOPERATION GROUP (동서울대학교 산학협력단).

2022-01-13

CN217311910U Toy car and kit thereof

Demande de brevet déposée par un ou des particuliers?

2021

Date de priorité

Numéro de publication et titre

Commentaires

2001-12-29

CN2520920Y Chassis for electric remote control model vehicle

Châssis probablement au 1/28°. Crawler. Demande de brevet déposée par un ou des particuliers?

2021-11-08

CN216934697U Chassis frame, frame and toy car

Châssis probablement au 1/28°. Crawler. Demande de brevet déposée par un ou des particuliers?

2021-11-02

CN216951498U Gearbox

Demande de brevet déposée par un ou des particuliers?

2021-11-02

CN216478860U Transfer case

Demande de brevet déposée par un ou des particuliers?

2021-11-02

TW202319103A Multi-purpose brake system

Demande de brevet déposée par un ou des particuliers?

2021-10-11

CN216169912U Toy car

Crawler. Demande de brevet déposée par un ou des particuliers?

2021-10-11

CN216078191U Central differential mechanism

Différentiel central. Demande de brevet déposée par un ou des particuliers? Demande du même déposant:

2021-09-23

CN215939009U Chassis structure of toy car and toy car

Crawler. Demande de brevet déposée par un ou des particuliers?

2021-09-03

CN113559524A Remote control model car and console

Demande de brevet déposée par un ou des particuliers?

2021-04-21

JP3237893U ラジコンカー通信器及びこれを使用するラジ コンカー通信モジュール (Remote control car communicator and remote control car communication module using the same)

Demande de brevet déposée par un ou des particuliers?

2021-04-19

IT202100009878A1 Dispositivo di simulazione di guida

Déposant: ARCARDREAM S R L.

2021-02-04

CN214551154U High-speed model toy car

Stadium Truck électrique. Demande de brevet déposée par un ou des particuliers?

2020

Date de priorité

Numéro de publication et titre

Commentaires

2020-12-18

EP4016492A1 SYSTEM AND METHOD FOR REMOTE CONTROLLED OBJECTS

Déposant: AUGMENTED ROBOTICS UG.

2020-11-25

US2022161148A1 RADIO CONTROLLED CAR OBSTACLE COURSE ASSEMBLY AND KIT

Demande de brevet déposée par un ou des particuliers?

2020-11-13

KR20220065253A RC RC CAR CONTROLLER SYSTEM AMD ITS METHOD

Demande de brevet déposée par un ou des particuliers?

2020-10-24

US11311815B1 Suspension shock absorber

Demande de brevet déposée par un ou des particuliers?

2020-09-04

CN212998381U Toy racing car remote controller

Demande de brevet déposée par un ou des particuliers?

2020-05-14

DE202020102716U1 Modellfahrzeug zum Betrieb an Land und im Wasser

Demande de brevet déposée par un ou des particuliers?

2020-05-14

EP3909657A1 MODEL VEHICLE FOR LAND AND WATER OPERATION

Demande de brevet déposée par un ou des particuliers?

2020-04-26

JP2021175488A REMOTE OPERATION ENTERTAINMENT SYSTEM

Déposant: Suwa University of Science (公立大学法人公立諏訪東京理科大学).

2020-04-21

JP2021171600A HC RADIO-CONTROLLED CAR

Châssis quatre roues motrices et directrices à moteur en position longitudinale. Demande de brevet déposée par un ou des particuliers?

2020-01-10

US11148065B2 Manual transmission emulator module for radio controlled electric vehicles

Demande de brevet déposée par un ou des particuliers?

2019

Date de priorité

Numéro de publication et titre

Commentaires

2019-12-16

CN211752469U Waterproof remote control cross-country toy car

Demande de brevet déposée par un ou des particuliers?

2019-11-22

CN212187794U Car model remote controller with thumb steering gear

Demande de brevet déposée par un ou des particuliers?

2019-11-12

US10987602B1 Weight device for model car

Roue lestée pour Crawler. Demande de brevet déposée par un ou des particuliers?

2019-09-17

CN210751264U Model car double-ball-joint front suspension structure

Demande de brevet déposée par un ou des particuliers?

2019-10-07

IT201900018044A1 DISPOSITIVO DI ALLOGGIAMENTO ANTI-DISCONNESSIONE PER CONNETTORI DI TIPO FUTABA O JST-RCY CON MECCANISMO ELASTICO DI RITENUTA CON PROTEZIONE ANTI-ROTTURA

Traduction automatique du titre: "Dispositif de logement anti-déconnexion pour connecteurs de type Futaba ou JST-RCY avec mécanisme élastique de retenue du connecteur avec protection anti-rupture".
Demande de brevet déposée par un ou des particuliers?

2019-07-16

CN210302395U Chassis of four-wheel drive high-speed remote control car

Châssis Truggy. Demande de brevet déposée par un ou des particuliers?

2019-05-07

JP2020182619A RADIO CONTROL MODEL OPERATED BY DRIVER DOLL

Déposant: Asai Engineering Co. Ltd. (株式会社アサイ・エンジニアリング).

2019-03-27

CN210251203U Assembly for model car and model car

Demande de brevet déposée par un ou des particuliers?

2018

Date de priorité

Numéro de publication et titre

Commentaires

2018-12-20

JP2020099453A STEERING MECHANISM OF RADIO CONTROL-TYPE VEHICLE MODEL AND STEERING MECHANISM ASSEMBLY STRUCTURE

Déposant: HAPPINET KK (株式会社ハピネット).

2018-12-17

CN109589615A Vehicle remote control method and system based on touch handle

Déposant: SENSETHINK TECHNOLOGY (SHENZHEN) CO., LTD. (感悟科技(深圳)有限公司).

2018-11-21

US2020368629A1 REMOTE CONTROL VEHICLE


2018-05-28

JP2019205813A U4 WR RADIO CONTROL CAR


2018-05-17

CN208493231U Universal toy remote control car of 4 wheel driven with transmission shaft

Crawler. Demande de brevet déposée par un ou des particuliers?

2018-04-17

DE202018102081U1 Chassis-Konstruktion für ferngesteuerte Kletterautos

Crawler.

2018-01-16

US11025132B2 Case for a servomotor

Déposant: 2576150 ONTARIO CORP.

2017

Date de priorité

Numéro de publication et titre

Commentaires

2017-12-12

CN207545827U Novel toy chassis

Châssis quatre roues motrices à deux moteurs et à transmission par cardan central.

2017-11-30

WO2019106339A1 REMOTE CONTROL VEHICLE


2017-07-19

US10413838B2 Chassis structure of remote control crawler vehicle

Crawler.

2017-07-12

JP2019017477A VEHICLE TOY, AND REAR WHEEL SIDE SUPPORT EQUIPMENT FOR VEHICLE TOY


2017-07-07

GB2564513A Chassis structure of remote control crawler vehicle

Crawler.

2017-03-16

CN206715307U Independent swing arm structure of telecontrolled model car


2017-01-16

JP3209719U スーパーギヤデフ (rear differential having a ring spur gear, a bevel gear and a gear at one end of a differential gear of a radio control car)


2016

Date de priorité

Numéro de publication et titre

Commentaires

2016-12-28

CN106600433A Radio controlled car APP platform race system


2016-12-20

US2018169533A1 Grille for a radio controlled vechicle


2016-12-02

KR101975565B1 RC car racing system of first person view


2016-11-11

KR101848685B1 Remote Control Toy Car Having Magnetic Levitation Function


2016-10-19

KR20180043457A THE APPARATUS OF SMART DIFFERENTIAL GEAR IN VEHICLE

Déposant: Korea University Research and Business Foundation (서울과학기술대학교 산학협력단)

2020-09-04

CN212998381U Toy racing car remote controller

Demande de brevet déposée par un ou des particuliers?

2016-08-31

CN206549160U Novel model car turn to structure


2016-08-31

CN206045406U Remotely controlled's first visual angle model cycle racing control loop

Déposant: InnoEco Beijing Technology Co., Ltd. (英诺爱科(北京)科技有限公司).

2016-08-31

CN106215427A Remotely controllable model racing vehicle driving system with first visual angles

Déposant: InnoEco Beijing Technology Co., Ltd. (英诺爱科(北京)科技有限公司).

2016-08-07

US2018041053A1 Device for Exchanging and Charging Batteries on Remote Controlled Hobby Vehicles


2016-03-25

KR20170111120A MOTOR COOLING DEVICE FOR RADIO CONTROL CAR


2016-03-04

CN105771258A Toy racing car competition system


2016-03-04

CN105749561A Toy racing car competition system


2016-01-25

CH712058A2 Train avant pour voiture modèle réduit radiocommandée.

Train avant de Formule 1 1/10° électrique.

2016-01-25

CH712059A2 Dispositif de suspension pour train arrière de voiture modèle réduit radiocommandée sans suspension arrière indépendante.

Train arrière de Formule 1 1/10° électrique.

2016-01-20

CN205323229U Double mode remote -control toy car

Déposant: Shifeng Cultural Development Co., Ltd. (实丰文化发展股份有限公司) / Sun Fun Toys.

2015

Date de priorité

Numéro de publication et titre

Commentaires

2015-12-29

JP2016041382A RADIO RECEPTION DRIVING DEVICE


2015-12-27

US2017184171A1 SHOCK ABSORBER SPRING RETENTION STRUCTURE OF REMOTE CONTROL CAR


2015-12-22

US2017173479A1 MODULAR CHASSIS ADAPTER FOR RC VEHICLES


2015-12-08

CN205460988U Novel toy car remote controller

Déposant: Kidztech Intelligent Tech Co. Ltd.

2015-07-14

WO2017009406A1 HAPTIC REMOTE CONTROLLER


2015-04-14

CN104784938A Toy car double-mode inductive control system

Déposants: Guangdong Alpha Animation and Culture Co., Ltd. (广东奥飞动漫文化股份有限公司), Guangdong Audi Animation & Toy Co., Ltd. (广东奥迪动漫玩具有限公司), Guangzhou Alpha Culture Communication Co., Ltd. (广州奥飞文化传播有限公司).

2015-02-25

US2016243917A1 VARIABLE DAMPENING SPEED PISTON HEAD ASSEMBLY FOR RADIO CONTROLLED CARS SHOCK ABSORBER AND METHOD


2015-02-25

US10041560B2 Piston head assembly for radio controlled cars shock absorber and method


2015-02-16

US2016236108A1 TORQUE DISTRIBUTION SYSTEM AND METHOD FOR TORQUE DISTRIBUTION IN MODEL RACING CARS


2014

Date de priorité

Numéro de publication et titre

Commentaires

2014-11-14

CN204319758U Chassis structure of toy car


2014-09-30

US10039990B2 Remotely controllable vehicles


2014-08-01

CN203989851U Amphibious model car


2014-08-01

CN105311834A Amphibious model car


2014-07-31

CN203989856U Car wheel inclination angle adjusting device of remote control model car


2014-04-28

US2015309508A1 Gyroscope Based Radio Transmitter for Model Vehicles


2013

Date de priorité

Numéro de publication et titre

Commentaires

2013-12-31

CN203677933U Remote-control electric racing car based on super-capacitor

Déposant: China University of Mining and Technology (中国矿业大学).

2013-12-18

KR101409379B1 INDEPENDENT DRIVE AND STEERING MODULE AND ELECTRIC DRIVE MODEL CAR WITH THE SAME

Déposant: RSF Tech Co., Ltd. (주식회사 알에스에프테크).

2013-11-21

US2015137497A1 Universal Vehicle Self-Right Apparatus


2013-11-07

CN203634820U Double-speed device for remote control racing car


2013-11-01

KR101577379B1 let the battery charge with the development of eco-friendly without the need for radio controlled toys


2013-09-27

TW201511809A Car racing game set with auxiliary car-overtaking wireless early warning feedback remote control

Déposant: Medici Creativity Co., Ltd. (梅迪奇創意股份有限公司).

2013-09-18

CN104454284A Hand-operating starting device with clutch structure

Moteur thermique avec démarreur à tirette.

2013-09-18

US2015204296A1 Hand-Operating Starting Device With Clutch Structure

Moteur thermique avec démarreur à tirette.

2013-09-06

JP3187255U ラジコン模型自動車用の外部物質侵入防止装 置

Traduction automatique du titre: "Dispositif de prévention des intrusions de substances externes pour voitures miniatures radiocommandées".
Demande de brevet déposée par un ou des particuliers?

2013-09-05

JP2015051046A EXTERNAL MATTER INTRUSION PREVENTION DEVICE FOR RADIO CONTROL MODEL AUTOMOBILE


2013-08-07

JP3186893U (pressurizing structure for a diaphragm used for a damper for a radio controlled vehicle)


2013-06-03

CN203355279U Power device of remote control car


2013-05-02

CN203281031U Site type full-simulation remote control drifting model vehicle

Demande de brevet déposée par un ou des particuliers?

2013-04-04

KR20140120692A ELECTIRC-POWERED RIDING TOY AND CONTROL METHOD FOR THE SAME


2013-03-29

EP2979738A1 WHEEL FOR TRAVELING TOY

Jantes avec off-set réglables; déposant: K I T Co. Ltd.

2013-03-25

CN203139622U Remote-control toy car based on 2.4G radio frequency communication

Demande de brevet déposée par un ou des particuliers?

2012-03-21

CN202526905U Inflatable type remote control toy car

Demande de brevet déposée par un ou des particuliers?

2013-02-13

JP3183165U (rotation restraining structure for a radio controlled drift vehicle)


2013-02-08

TWM470023U Shock absorber of model car

Une fixation inférieure d'amortisseur

2013-02-08

US2014227941A1 SWING BUGGY TOY MODEL


2012

Date de priorité

Numéro de publication et titre

Commentaires

2012-11-16

JP2014097268A CONTROL DEVICE FOR RADIO-CONTROLLED CAR


2012-09-07

TWM450408U Transmission mechanism of remote controlled toy car


2012-08-24

CN202777786U Toy motorcycle capable of freely inclining

Moto R/C.
Déposant: Jinjiang Hengsheng Toys Co., Ltd. (晋江恒盛玩具有限公司).

2012-08-01

JP3179266U (damper shaft structure for a radio controlled vehicle)


2012-07-31

KR20140016759A REMOTE CONTROL DEVICE USING WIND AND SOUND


2012-07-31

KR20140017244A DRIVING WHEEL SYSTEM OF A MODEL CAR


2012-06-18

BR102012014830A2 SISTEMA DE ENCAIXE E FIXAÇÃO DE PEÇAS EM VEÍCULO DE BRINQUEDO RÁDIO CONTROLADO

Traduction automatique du titre: "Système d'emboîtement et de fixation de pièces dans un véhicule jouet télécommandé".
Déposant: Roma Jensen Comércio e Indústria Ltda.

2012-06-16

US2012253554A1 RC Car Anti-Flip System and Methods


2012-05-26

JP3177538U (wheel used for an automobile toy such as a radio-controlled car, a minicar, and an electric car model)


2012-04-30

WO2013164585A1 A SERVOMECHANISM

Déposant: University of Greenwitch.

2012-03-23

US2013252510A1 SELF-RIGHTING MECHANISM FOR A RADIO-CONTROLLED CAR


2012-01-18

JP2013146323A RADIO CONTROL SYSTEM


2012-01-06

CN202410156U Remote-control variable-speed car

Demande de brevet déposée par un ou des particuliers?

2011

Date de priorité

Numéro de publication et titre

Commentaires

2011-12-07

KR101329899B1 Remote controlling toy and Communication control method thereof


2011-12-07

KR20130063793A REMOTE CONTROL RIDING TOY AND CONTROLLING METHOD THEREOF


2011-11-30

JP3175150U (wheel structure for a radio controlled drift vehicle)


2011-11-01

US2012137760A1 RIDE HEIGHT GAUGE FOR RC CARS


2011-08-24

JP3171504U 液晶ディスプレイ付き自動車設置用模型自動 車 (a model car for installing a liquid crystal display)


2011-07-15

CN202169093U Device for remotely controlling model vehicle

Demande de brevet déposée par un ou des particuliers?

2011-06-14

US2012319540A1 Servo Device And Remote Control Device Having The Same


2011-05-17

JP2012239547A RADIO-CONTROLLED CAR DEVICE


2011-05-16

US2012295752A1 STABILIZING STRUCTURE OF MODEL CAR


2011-04-25

JP3168973U ラジコンカー用タイヤおよびラジコンカー (tire of a radio control car)


2011-04-15

EP2726167A1 SYSTEM FOR WIRELESSLY CONTROLLING AN RC MODEL, TRANSMITTING DEVICE, RECEIVING DEVICE AND METHOD


2011-03-25

KR20120006829U radio controlled model car dynamo

Banc pour voiture R/C.

2011-02-07

JP3167499U ラジコン車用ボディ装着治具 (jig for attaching a body or the like of a radio controlled vehicle to a chassis)


2011-02-02

CA2730647A1 REMOTE CONTROL TOY CAR UNDERBODY OVERBODY


2011-01-17

WO2012098348A2 GLOW PLUG


2010

Date de priorité

Numéro de publication et titre

Commentaires

2010-12-31

US2012172162A1 CVT of radio-controlled car


2010-11-02

CN201978498U Multifunctional experiential remote control system

Demande de brevet déposée par un ou des particuliers?

2010-10-26

CN102451559A Control device for wireless remote control vehicle

Demande de brevet déposée par un ou des particuliers?

2010-10-22

EP2444622A1 Two-stroke gasoline engine equipped with a self-powering generator


2010-10-19

US2012091926A1 ELECTRONIC SPEED CONTROLLER APPARATUS WITH SIGNAL DIVIDING PORT DEVICE AND CONTROL METHOD THEREOF


2010-10-07

WO2012045230A1 SIMULATION TRANSMITTER FOR REMOTE OPERATED VEHICLES

Demande de brevet déposée par un ou des particuliers?

2010-08-10

US2012038095A1 Articulated Work Holder for a Remote Controlled Vehicle and the Like


2010-07-16

JP2012020058A RADIO CONTROL SYSTEM


2010-06-15

DE202010009053U1 V-Dämpfungssystem

Suspension pour pan-car. Demande de brevet déposée par un ou des particuliers?

2010-04-30

BRPI1001792A2 Dispositivo de sonorização para modelos em escala reduzida (modelismo)


2010-02-24

CH702746A2 Telescopic shock damper for radio-controlled models comprises piston cylinder with charging valve for forcing gas into the compression chamber


2010-01-08

CN201629713U Dual-mode electronic speed governor

Déposant: YONGXING TECHNOLOGY ELECTRONICS Co. Ltd.

2009

Date de priorité

Numéro de publication et titre

Commentaires

2009-12-01

TW201120305A Piston of remotely-controlled model speed-racing engine and manufacturing method thereof.

Déposant: METAL IND RES & DEV CT [TW] / METAL INDUSTRIES RESEARCH & DEVELOPMENT CENTER.

2009-08-20

DE202009005159U1 Lenkpuffer für ferngesteuerte Autos


2009-08-04

JP2011030893A RC CAR SUPPORT BASE


2009-07-28

JP2011024985A RUBBER TIRE PERFORMANCE IMPROVER FOR AUTOMOBILE

Traitement pour pneus.

2009-07-23

US8480106B1 Dual suspension system

Déposant: George Washington University.

2009-07-14

WO2011007460A1 RADIO CONTROL CAR


2009-07-13

TW201102140A Passive rear wheel steering mechanism for remote-controlled model racing vehicle


2009-06-22

US8302728B1 Four-wheel steering system for radio-controlled cars


2009-06-19

TWM369792U Structural improvement of damping set for remote control car


2009-06-12

DE202009004915U1 Schwenkbügel für den Fahrzeugrahmen eines ferngesteuerten Fahrzeugs


2009-03-25

JP3151020U ラジコンカーの操舵機構及びラジコンカー (steering mechanism for a radio controlled car and a radio controlled car provided with the steering mechanism)

Traduction automatique du titre: "Mécanisme de direction pour voitures radiocommandées".
Demande de brevet déposée par un ou des particuliers?

2009-03-20

US2010240276A1 SYSTEM FOR POWER MANAGEMENT AND PREVENTING UNEXPECTED ACCELERATION OF REMOTE-CONTROLLED TOY CAR


2009-03-13

TWM361371U Suspension arm structure improvement of in remote control car frame


2009-03-12

CN201366244Y Plate-assembled remote-control toy car model used for teaching function

Demande de brevet déposée par un ou des particuliers?

2009-02-17

US8162791B1 Transmission for model electric vehicles


2009-01-20

AT507807A1 KAROSSERIEAUFHÄNGUNG FÜR EIN MODELLFAHRZEUG


2009-01-08

JP3149668U ナットを兼ねたラジコンカー用ホイルキャッ プ (wheel cap used for a radio controlled car)


2008

Date de priorité

Numéro de publication et titre

Commentaires

2008-12-30

KR20100078841A A POWER TRANSMISSION DEVICE APPLIED SECONDARY CELL AND EDLC HYBRID SYSTEM FOR RADIO CONTROL CAR

Application de EDLC (electric double layer capacitor) sur voitures R/C électriques hybridés avec des batteries

2008-10-31

US2009115153A1 Upper Link Mount for Truck Axle

Pour Crawler

2008-10-23

ITFR20080018U1 TELAIO IN MATERIALE COMPOSITO PER AUTOMODELLI DA COMPETIZIONE IN SCALA 1 A 8


2008-10-21

JP2010099113A LIGHTING CONTROL DEVICE AND MOVING MODEL HAVING THE SAME


2008-09-24

CN201271504Y Remote control steering control system of toy car


2008-08-18

US2010041309A1 PLUSH REMOTE CONTROLLED TOY VEHICLE


2008-07-21

DE102008033995A1 Dreiradfahrzeug mit Neigetechnik zur Verbesserung der Kurvenstabilität bei schmaler aerodynamischer Bauart


2008-06-18

JP3144435U 玩具オートバイ

Moto R/C. Traduction automatique du titre: "Moto jouet".
Demande de brevet déposée par un ou des particuliers?

2008-05-12

CN201192576Y Drive mechanism for remote-control racing car


2008-03-11

TWM341540U Ignition-overheating proof protector for radio control model car


2007

Date de priorité

Numéro de publication et titre

Commentaires

2007-12-22

US2009163113A1 Hybrid Twin Vertical Plate (TVP) Tube/Wire Frame

Pour Crawler

2007-12-05

CN201120160Y Spark wheel


2007-11-14

WO2009063971A1 EXHAUST ENGINE-SOUND GENERATING DEVICE


2007-11-13

WO2009064645A1 A VEHICLE AXLE JOINT FOR A TOY VEHICLE


2007-11-12

JP2009118878A AUTOMATICALLY MEASURING RECORDER FOR SPEED OR LAP COUNTS IN RADIO CONTROLLED CIRCUIT OF MODEL

Système de comptage

2007-09-13

US2009017714A1 Custom Remote Controlled Vehicle Kit


2007-09-02

DE102007041563A1 System zur Fernbedienung von Geräten und Komponenten in einem Spielzeug, insbesondere in Miniatur Spielzeugmodellen


2007-08-22

DE202007011755U1 Chassis für Modellrennwagen


2007-08-15

DE102007038666A1 2,4Ghz Miniatur Bluetooth/WLAN Telemetrie Empfängerbaustein


2007-07-30

ITAP20070011A1 DIFFERENZIALE SU CUSCINETTI PER AUTOMODELLI SCALA 1/8 OFF-ROAD


2007-07-23

CN201064668Y Remote-controlled scale model racing car


2007-07-11

US2011031057A1 Structure for stabilizing a center of gravity of a remote car body


2007-07-05

DE202007009428U1 Ein Aufbau zum Stabilisieren eines Schwerpunktes einer Karosserie eines ferngesteuerten Autos


2007-06-11

US2008303227A1 MODEL VEHICLE CHASSIS


2007-06-06

US2009017714A1 Custom Remote Controlled Vehicle Kit


2007-05-08

TWM320920U Drill knife structure for shell of remote control car

Alésoir à carrosserie

2007-05-08

TWM320917U Improved structure for starter base of remote control car


2007-04-18

CN101288811A Counterbalance system for long-range control of toy and turning mechanism

Moto R/C

2007-04-17

US2008261488A1 WHEEL RIM AND WHEEL HUB MOUNT ASSEMBLY


2007-03-27

US2008242194A1 FOUR-WHEEL DRIVE MODEL CAR


2006

Date de priorité

Numéro de publication et titre

Commentaires

2006-12-25

US2010097198A1 HAPTIC FEEDBACK CONTROLLER

Déposant: PRO TECH DESIGN CORP [JP].

2006-12-18

DE202006019090U1 Conversion kit for radio-controlled model truck comprises electric motor on motor holder fitted on chassis plate made up of two to seven parts to replace combustion engine design

Kit de conversion thermique - électrique.

2006-12-13

US2007178803A1 Thru-axle differential for scale model vehicles


2006-12-12

ITCH20060013U1 1/8 OFF-ROADMACCHINA RADIOCOMANDATA A PROPULSIONE ELETTRICA

Buggy 1/8° électrique.

2006-08-16

DE102006038215A1 Brake system for e.g. remote controlled model-race car, has wheel that brakes in intended direction by bypass valve, stronger than that of other wheel, where coarse adjustment of braking effect takes place by dimensioning of system


2006-07-20

JP2008023011A TOY APPARATUS

Déposant: Iwaya Co., Ltd. (イワヤ株式会社).

2006-07-03

FR2903024A1 DISPOSITIF DE PILOTAGE DE VEHICULES A RADIOCOMMANDE APTE A PLACER LE CONDUCTEUR DANS LES CONDITIONS REELLES DE CONDUITE

Demande de brevet déposée par un ou des particuliers?

2006-06-30

TWM304368U Crash-proof structure of remote-controlled car


2006-06-02

US2007295118A1 Remote control car starter with engaging and disengaging structure


2006-05-21

CN2907805Y Radio remote controlled racing car model

Les figures montrent un Tout-Terrain 1/5° ou 1/6° thermique.
Déposant: Taizhou Xinrui Electromechanical Co., Ltd. (台州市鑫瑞机电有限公司).

2006-05-12

US7402964B1 Race car system


2006-05-05

TWM299021U Improvement of clutch device for reversing of remote control car


2006-04-12

JP2010065709A CONTINUOUSLY VARIABLE AUTOMATIC TRANSMISSION MECHANISM AND SELF-ADVANCING MODEL VEHICLE HAVING THE SAME


2006-03-06

WO2007101288A1 STARTING DEVICE FOR ENGINES WITH GLOW PLUG


2006-02-17

US2008011533A1 Anti-deflection structure for a chassis of a remote-controlled car


2006-01-27

JP4743212B2 二輪車の転倒防止制御装置

Vélo R/C.

2005

Date de priorité

Numéro de publication et titre

Commentaires

2005-12-30

DE202005020497U1 Universal engine retainer for radio-remote controlled model car, has engine retaining plates from aluminum, and forwardly and backwardly protecting engine, where engine is secured upwards by threaded rod that consists of round aluminum


2005-12-28

TWM293790U Steering wheel base structure used in steering front wheels of a remote control model car


2005-12-19

JP2007167145A DRAWING SET, AND ITS USE METHOD

Déposant: NPO Penguin (NPO法人ぺんぎん).

2005-12-13

US2007178803A1 Thru-axle differential for scale model vehicles


2005-08-19

JP2007050646A HOLLOW TIRE


2005-08-16

DE102005038946A1 Modellfahrzeug mit einem Sensor und einer Lenkeinrichtung


2005-07-21

TWM281685U Improved structure of clutch for model engine


2005-07-01

US2007000739A1 Brake system


2005-06-23

US2006288807A1 Engine starter for a radio control model


2005-06-10

TWM279394U Mobile toy wireless controlling kit having hand-held game machine function

Demande de brevet déposée par un ou des particuliers?

2005-05-12

US2006254839A1 Remote/occupant controlled toy vehicle


2005-05-06

DE202005007150U1 Conversion kit for various radio-controlled model cars (1:8 scale and greater) converts internal combustion engine drive to electric motor drive

Kit de conversion thermique - électrique

2005-03-15

DE202006003152U1 Drive device for e.g. four-wheel, all-terrain, remote controlled model car, has power transmission unit operating between front and rear wheel drive shafts, designed as chain, and force-guided in closed housing by guiding device


2005-03-11

JP2006247211A CHASSIS FOR AUTOMOBILE TOY AND RADIO-CONTROLLED AUTOMOBILE TOY HAVING THE SAME

Châssis Touring 1/10° électrique de type Mid-Pulley à double platines verticales, avec des supensions partiellement sur rotules. Fait penser à certaines productions de K-Factory (Kaï Models).

2005-02-04

US2006178085A1 Remotely controlled vehicle


2005-02-18

DE202005002939U1 Radio controlled model off-road car, in a scale of 1:6 to 1:4, has a wholly enclosed gearbox and chain transmission to front and rear differentials and with dampened steering


2005-02-16

DE102005006930A1 Rims for RC-model vehicles is made of different standards from materials such as non-ferrous metal, steel, high grade steel, non-ferrous metal casting, cast steel, plastic as well as all alloys


2005-02-12

KR20050032535A AUDIO EFFECT SYSTEM OF THE RADIO CONTROL RACING CAR


2005-01-31

US7438148B1 Child motorized riding toy with remote control


2005-01-25

CN2759534Y Steering device for toy car


2005-01-28

CN2762851Y Toy car having instantaneous acceleration

Demande de brevet déposée par un ou des particuliers?

2005-01-24

EP1683558A1 Self-powered lighting for wheeled arrangements


2005-01-20

JP2006198166A MOVING DEVICE DETECTING SYSTEM

Système de comptage.

2004

Date de priorité

Numéro de publication et titre

Commentaires

2004-12-23

US2006137664A1 Supercharger

"Electrically powered supercharger having a battery powered motor driving a fan that forces air from an air inlet to an air outlet and hence to an air-fuel intake (such as a carburetor) of an internal combustion engine"

2004-12-13

JP2006167386A REMOTE-CONTROLLED TRAVELING TOY

Déposant: Toyco Co., Ltd. (株式会社トイコー).

2004-11-30

US2007267934A1 Miniature Brushless Motor Structure

Déposant: NAMIKI PRECISION JEWEL Co. Ltd.

2004-09-17

JP2006081814A TOY MOTORCYCLE

Moto R/C.

2004-07-21

DE202004011572U1 Failsafe autopilot, for remote controlled model aircraft or boats or cars, activates a servo to stop the motor and apply any brakes on a control fault and low batteries


2004-07-07

JP2006022797A CRANKSHAFT OF ENGINE FOR MODEL


2004-06-23

US2005287922A1 LAND SAIL VEHICLE

Char à voile R/C.

2004-06-08

CN1706535A Steering system for toy vehicle


2004-06-01

US2005266769A1 Roll-on roll-off remote control truck


2004-05-28

US2005287920A1 Inflatable remote control vehicle


2004-05-21

US7749045B1 Glitch-free system in miniature racing car systems, and method of use

Système de comptage.

2004-04-28

US6945843B1 Toy lowrider model vehicle


2004-03-09

DE102004011495A1 Remote control, for a model car layout, has a cockpit as the control station with a full-size steering wheel and foot pedals to give the feel of a full-size vehicle


2004-01-20

US2005156399A1 Front suspending and stabilizing structure for remote control car


2003

Date de priorité

Numéro de publication et titre

Commentaires

2003-12-26

JP2005192621A ELECTROMAGNETIC DRIVING DEVICE AND STEERING DEVICE OF RADIO CONTROL CAR


2003-12-22

FR2863905A1 DISPOSITIF PERMETTANT LE FONCTIONNEMENT DE VEHICULES RADIOCOMMANDES ROULANTS SUR PISTES RAINUREES RIGIDES OU SOUPLES AVEC SYSTEME DE CHANGEMENT DE VOIE


2003-12-15

FR2863508A1 VEHICULE INCLINABLE RADIO-COMMANDE

Véhicules radio-commandés à au moins trois roues, basés sur le déplacement latéral du centre de gravité et la mise en inclinaison du véhicule.

2003-12-12

TWM247262U Improved front suspension and stabilization structure for remote-control cart


2003-12-08

JP2005168556A TIRE MOLDING METHOD FOR RADIO-CONTROLLED CAR

Procédé de moulage de pneus.

2003-12-03

TWM248783U Fuel filler bottle structure for model toy


2003-11-26

US2005112986A1 Body mounting system for model vehicles


2003-09-29

US2005066757A1 Auxiliary actuator for the engine of remote control car


2003-09-29

CN2691670Y Remote control toy having feedback signal

Déposant: Haiou Technology Co., Ltd. (海欧科技股份有限公司)

2003-09-19

US2005064786A1 Model conversion kit and method


2003-09-16

US2005064786A1 Model conversion kit and method


2003-08-15

GB2404879A Remote controlled motorcycle.

Moto R/C.

2003-08-07

ITTO20030127U1 MECCANISMO DI CONTROLLO CENTRALE DELLA VELOCITA' PER AUTOMOBILI COMANDATE A DISTANZA


2003-08-04

US6821184B1 Steering alignment system for a toy car


2003-08-01

US2005042505A1 Method and apparatus for battery reconfiguration for radio control application


2003-07-30

TWM243840U Charger structure for model


2003-07-15

US2005014448A1 Central speed control mechanism for remote control cars


2003-07-01

CN2690008Y Remote control model car

Châssis probablement au 1/24°. Déposant. WEILONG WORK STADIO Co. Ltd..

2003-05-28

JP2004333300A ELECTRONIC DEVICE EQUIPPED WITH VIBRATION SENSOR

Déposant: ALPS ELECTRIC Co. Ltd.

2003-05-28

US2004259639A1 Steering wheel adapted for connection to finger dial of RC control unit


2003-04-28

US6908108B1 Roll cage


2003-04-22

JP2004321728A RADIO-CONTROLLED RACING TOY AND RACE USING THE SAME

Demande de brevet déposée par un ou des particuliers?

2003-04-03

JP2004351158A RADIO-CONTROLLED TWO WHEELED TOY

Moto R/C.
Déposant: UHA Mikakuto Co., Ltd.  (ユーハ味覚糖株式会社).

2003-04-01

JP2004298538A REMOTE-CONTROLLED TOY CAR

Demande de brevet déposée par un ou des particuliers?

2003-03-27

US2004187302A1 Tire-rimming device for toy cars

Boite pour collage de pneus

2003-03-10

CN1530157A Remote-control toy vehicle set

Demande de brevet déposée par un ou des particuliers?

2003-03-03

US6758719B1 Radio controlled vehicle with a system for selectively lifting portions of the vehicle frame


2003-02-24

JP2004255475A SERVO APPARATUS

Déposant: OKI ELECTRIC IND Co. Ltd.

2003-02-17

US2004160133A1 Servo device for radio control


2003-01-17

JP2004216064A LAP TIME MEASURING INSTRUMENT AND DATA COLLECTOR

Système de comptage

2002

Date de priorité

Numéro de publication et titre

Commentaires

2002-12-27

WO2004060518A1 DEVICE INTENDED FOR A REMOTE-CONTROLLED MODEL CAR


2002-12-24

WO2004059444A2 SYSTEM TO COMPILE RACE COURSE DATA


2002-12-18

WO2004054677A1 ROLL ANGLE CONTROLLER FOR REMOTE-CONTROLLED TRAVELING BODY, AND ROLL ANGLE CONTROLLER FOR REMOTE-CONTROLLED MOTOR CYCLE

Moto R/C

2002-11-19

KR100497436B1 (리모트 컨트롤 카의 엔진보호장치 및 방법) (DEVICE AND METHOD FOR PROTECTING ENGINE OF REMOTE CONTROL CAR)

Traduction automatique du titre: "Dispositif et méthode de protection du moteur d'une voiture télécommandée". Déposant de la demande de brevet: Insung Electronics Co., Ltd. (주식회사 인성전자).

2002-11-12

JP2004164954A (【発明の名称】 燃料電池システムおよび燃料電池システムを備える機器、発電ユニット、移動体、玩具) (FUEL CELL SYSTEM, AND EQUIPMENT, POWER GENERATION UNIT, MOBILE UNIT AND TOY EQUIPPED WITH FUEL CELL SYSTEM)

Pile à combustible, notamment pour modélisme. Traduction automatique du titre en japonais: "Système de pile à combustible et équipement comprenant un système de pile à combustible, une unité de production d'énergie, un mobile et un jouet". Déposant de la demande de brevet: Seiko Epson Corporation (セイコーエプソン株式会社), qui est une multinationale japonaise d'électronique, spécialisée dans la fabrication d'imprimantes, d'équipements d'imagerie et d'autres produits technologiques et est réputée pour son histoire dans l'horlogerie.

2002-10-28

US2004079182A1 Reversing device for a remote-controlled vehicle


2002-10-23

WO2004037367A1 MINIATURE REMOTE CONTROL TOY VEHICLE

Déposant: Orient Joy Asia Limited (華悅亞洲有限公司).

2002-10-07

US2004065161A1 Structure of an engine starter of a remote-controlled car


2002-09-06

US2004045385A1 DUAL-GEARSHIFT FORWARD BACKWARD CONTROL MECHANISM FOR REMOTE CONTROL TOY CAR


2002-08-12

US2004026885A1 Wheel securing structure for a remote-controlled model car


2002-07-23

US6641457B1 Chassis of remotely controllable car


2002-05-30

US6620022B1 Drive mechanism for toy racing car

Dragster

2002-05-22

US6855088B1 Speed control mechanism for model cars


2002-05-20

JP2003334390A TOY VEHICLE

Déposant: Asahi Soft Drinks Co., Ltd. (アサヒ飲料株式会社). A ne pas confondre avec Asahi Sangyo Co., Ltd. (朝日産業工業株式会社).

2002-05-14

FR2839695A1 CHASSIS TYPE CAISSON A FOND, PLEIN EN MATERIAUX COMPOSITES POUR VOITURE RADIOCOMMANDEE A MOTEUR THERMIQUE

Piste 1/8° thermique avec châssis en carbone.

2002-05-10

US2003211832A1 Radio-controlled device


2002-04-23

US2005181702A1 Gun grip controller


2002-04-18

US2005140109A1 Car model


2002-04-09

JP2003302454A (無線送受信システムならびに無線受 信機および無線送信機) (RADIO TRANSMISSION/RECEPTION SYSTEM, RADIO RECEIVER AND RADIO TRANSMITTER)

Traduction automatique du titre en japonais: "Système d'émetteur-récepteur radio, récepteur radio et émetteur radio". Déposant de la demande de brevet: Natsume Co., Ltd. (ナツメ株式会社), appelée aujourd'hui Natsume-Atari et qui est une société de jeux vidéo japonaise.

2002-04-09

JP2003299888A (模型自動車のディファレンシャル装 置) (DIFFERENTIAL UNIT OF MODEL CAR)

Différentiel à billes pour Pan-Car. Traduction automatique du titre en japonais: "Dispositif de différentiel pour voiture modèle". Demande de brevet déposée par un ou des particuliers?

2002-04-02

EP1350548A1 Toy track coated with a high adherence aggregate

Piste pour voiture R/C

2002-03-22

US6725814B1 Supplemental model car engine cooling system


2002-02-21

JP2003247471A (模型用エンジンの燃料供給装 置) (FUEL FEED SYSTEM OF ENGINE FOR MODEL)

Traduction automatique du titre en japonais: "Dispositif d'alimentation en carburant pour moteur modèle". Demande de brevet déposée par un ou des particuliers?

2002-02-12

JP2003230771A TRAVELING TOY

Déposant: Staff Co., Ltd. (株式会社スタッフ).

2001

Date de priorité

Numéro de publication et titre

Commentaires

2001-12-28

JP2003203261A (移動体計測システム)  (MOVING BODY MEASURING SYSTEM)

Système de comptage. Traduction automatique du titre en japonais: "Système de mesure de corps en mouvement". Déposant de la demande de brevet: Marushin Denshi Co., Ltd.  (株式会社丸真帽子)

2001-12-17

JP2006020652A (【発明の名称】 ラジコン模型のロール角制御装置及びラジコン模型二輪車) (ROLL ANGLE CONTROLLING DEVICE FOR RADIO CONTROLLED MODEL, AND RADIO CONTROLLED MODEL BICYCLE)

Moto R/C. Traduction automatique du titre en japonais: "Dispositif de contrôle de l'angle de roulis pour modèle radiocommandé et véhicule radiocommandé à deux roues". Demande de brevet déposée par un ou des particuliers?

2001-12-08

WO03051085A1 METHOD AND APPARATUS FOR SETTING RADIO FREQUENCY FOR USE IN REMOTE CONTROLLER


2001-10-25

US2003079706A1 Model engine axle end start converter

Moteur thermique à tirette

2001-10-25

US2003079558A1 Model engine interlock end start converter

Moteur thermique à tirette

2001-10-09

EP1434632A1 AN AUTOMOTIVE TOY COMPRISING FLEXIBLE ELEMENTS

Demande de brevet déposée par un ou des particuliers?

2001-09-19

CN2507530Y (遥控车的进退动力接合器改 进) (Improvement on advance and retreat power adapter of remote-controlled vehicle)

Traduction automatique du titre en chinois: "Amélioration de l'adaptateur de puissance d'avance et de recul d'un véhicule télécommandé". Demande de brevet déposée par un ou des particuliers?

2001-09-10

JP3084608U リモコン玩具車の制御機構

Traduction automatique du titre: "Mécanisme de contrôle de voiture jouet télécommandée".
Demande de brevet déposée par un ou des particuliers?

2001-09-03

JP2003071148A PILLOW BALL BUSH FOR REMOTE CONTROL MODEL

Demande de brevet déposée par un ou des particuliers?

2001-08-31

US2003043053A1 Spread spectrum radio control system for models


2001-08-09

ES1050748U Template tuning car radio

Planche de réglages

2001-06-25

US2002196174A1 Remote controller

Emetteur de radiocommande

2001-06-14

JP2002369976A (ラジコン移動体ラップタイム計測シ ステム、計測方法、および計測コンピュータプログラム)  (RADIO CONTROLLED MOVING BODY LAP TIME MEASURING SYSTEM, MEASURING METHOD AND MEASURING COMPUTER PROGRAM)

Système de comptage. Traduction automatique du titre en japonais: "Système, méthode et programme informatique de mesure du temps au tour pour véhicules mobiles radiocommandés". Demande de brevet déposée par un ou des particuliers?

2001-04-04

CN2474204Y Remote controlled toy car with accelerating mechanism

Demande de brevet déposée par un ou des particuliers?

2001-03-30

US2002142701A1 Haptic remote control for toys

Radiocommande avec retour haptique.
Demande de brevet déposée par un ou des particuliers?

2001-03-09

CN1374143A Remote controlled toy vehicle with video camera and rear view mirror

Déposant: Xinbao Technology Co., Ltd. (新宝科技股份有限公司).

2001-10-09

EP1434632A1 AN AUTOMOTIVE TOY COMPRISING FLEXIBLE ELEMENTS

Demande de brevet déposée par un ou des particuliers?

2001-02-09

US6497608B2 Toy car camera system and rear vision mirrors

Déposant: Sampo Technology Corp.

2001-02-09

JP3079519U ラジコン玩具

Traduction automatique du titre: "Jouet télécommandé".
Déposant: Yodel Co., Ltd. (株式会社ヨーデル).

2001-02-05

JP2002224462A RUNNING TOY

Déposant:  Senté Creations KK (株式会社センテクリエイションズ).

2001-01-18

DE20100944U1 Ferngelenktes Spielzeugauto

Demande de brevet déposée par un ou des particuliers?

2000

Date de priorité

Numéro de publication et titre

Commentaires

2000-12-29

US2002086611A1 RADIO CONTROLLED VEHICLE WITH A SYSTEM FOR SELECTIVELY LIFTING PORTIONS OF THE VEHICLE FRAME


2000-12-29

CN2491083Y Remote controlled toy car having electronic speed changed and frout wheel kicked

Déposant: Xinhui Renren Electronic Toys Co., Ltd. (新会人人电子玩具有限公司).

2000-12-27

US2002081941A1 REMOTE CONTROL MODEL VEHICLE WITH AUDIO OUTPUT SYSTEM


2000-12-20

US2002077025A1 Rear suspension mechanism for remote control model car


2000-12-29

US2002086611A1 RADIO CONTROLLED VEHICLE WITH A SYSTEM FOR SELECTIVELY LIFTING PORTIONS OF THE VEHICLE FRAME


2000-11-27

US6482069B1 Radio controlled bicycle

Vélo R/C avec figurine. Déposant: Leynian Ltd. Co.

2000-10-16

WO0232699A1 TIRE SYSTEM USING AIR PRESSURE OF RADIO CONTROL MODEL CAR


2000-07-26

KR20020009366A Electrical Steering System for toy car

Demande de brevet déposée par un ou des particuliers?

2000-06-29

JP2002017066A (小型円筒コアレスモータの放熱構 造) (RADIATING STRUCTURE FOR SMALL CYLINDRICAL CORELESS MOTOR)

Traduction automatique du titre en japonais: "Structure de dissipation thermique pour petit moteur cylindrique sans noyau". Déposant de la demande de brevet: Namiki Precision Jewel Co., Ltd. (並木精密宝石株式会社).

2000-04-12

US2001045978A1 Portable personal wireless interactive video device and method of using the same


2000-04-04

JP2001289975A (移動体計測装資)  (MOVING BODY MEASURING DEVICE)

Traduction automatique du titre en japonais: "Appareil de mesure de mouvement". Déposant de la demande de brevet: Nakanishi Seisakusho Co., Ltd.

Déposant: NAKANISHI SEISAKUSHO KK (株式会社中西製作所).

2000-03-10

KR20010088152A (평면 바닥으로 통하는 전기를 이용한 무선 원격조종보형물(자동차) 동력 전달 장치)

Voitures R/C alimentées par la piste. Traduction automatique du titre: "Dispositif de transmission de puissance pour un modèle télécommandé sans fil (voiture) utilisant l'électricité transmise à travers un plancher plat". Demande de brevet déposée par un ou des particuliers?

1999

Date de priorité

Numéro de publication et titre

Commentaires

1999-12-13

JP2001165711A (遠隔操縦用フィードバック装 置) (FEEDBACK DEVICE FOR REMOTE MANIPULATION)

Traduction automatique du titre en japonais: "Dispositif de retour d'information pour manipulation à distance". Demande de brevet déposée par un ou des particuliers?

1999-12-08

US2002123296A1 Magnetic steering assembly for a toy vehicle


1999-12-08

US6350173B1 Magnetic steering assembly for a toy vehicle


1999-11-10

WO0135375A1 SYSTEM AND METHOD FOR AN RC CONTROLLER AND SOFTWARE

Déposant: Deo Product Dev Inc.

1999-09-07

CN2394679Y Remote control four drive race car

Demande de brevet déposée par un ou des particuliers?

1999-06-24

WO0100293A1 WIRELESS REMOTE CONTROLLER FOR TOY CAR

Demande de brevet déposée par un ou des particuliers?

1999-05-27

JP2000334178A (模型車用操舵装 置) (STEERING DEVICE MODEL CAR)

Traduction automatique du titre en japonais: "Dispositif de direction pour voiture modèle". Demande de brevet déposée par un ou des particuliers?

1999-05-12

FR2778718A3 MAQUETTE DE VEHICULE ET LIGNE DE TRANSMISSION CORRESPONDANTES

Truck 1/10° thermique ou électrique.

1998

Date de priorité

Numéro de publication et titre

Commentaires

1998-12-22

US6804511B1 Radio controlling apparatus

Déposant: VERTEX STANDARD CO LTD.

1998-09-28

BE1012209A6 CIRCUIT DE MODELES REDUITS DE VEHICULES PILOTES A DISTANCE PAR RADIO-COMMANDES ET TELEVISION.


1998-05-12

DE29908665U1 Vorwärts-/Rückwärtsgetriebe für ein maßstabgetreues Modellfahrzeug


1998-03-17

JP3052337U 金属ボディーをアンテナにした遠隔操縦玩具

Traduction automatique du titre: "Jouet télécommandé utilisant un corps métallique comme antenne".
Demande de brevet déposée par un ou des particuliers?

1998-02-23

JPH11235475A (ラジオコントロール 車の走行時間測定装置) (MEASURING DEVICE FOR TRAVEL TIME OF RADIO CONTROL CAR)

Système de comptage. Traduction automatique du titre en japonais: "Dispositif de mesure du temps de parcours pour voiture radiocommandée". Déposant de la demande de brevet: Systec Co., Ltd. (株式会社システック), société spécialisée dans la mesure du temps électronique, par exemple dans les sports automobiles.

1998-02-10

JPH11226268A (自動車おもちゃの ショック吸収機構) (SHOCK ABSORBING MECHANISM OF AUTOMOBILE TOY)

Traduction automatique du titre en japonais: "Mécanisme d'absorption des chocs pour un jouet automobile". Demande de brevet déposée par un ou des particuliers?

1998-01-23

JPH11207044A (模型自動車用オイル ダンパーのエア抜き装置) (BLEEDER FOR OIL DAMPER FOR MODEL VEHICLE)

Traduction automatique du titre en japonais: "Dispositif de purge pour amortisseur à huile de véhicule miniature". Déposant de la demande de brevet: Kemic Co., Ltd. (株式会社ケミック).

1998-01-07

DE29800844U1 Funkferngesteuertes Modellfahrzeug

Demande de brevet déposée par un ou des particuliers?

1997

Date de priorité

Numéro de publication et titre

Commentaires

1997-12-09

JPH11207049A (車輪付きモデルカーなどのアクス ル端部差動機構装置) (AXLE TIP PART DIFFERENTIAL MECHANISM OF MODEL CAR WITH WHEEL OR THE LIKE)

Traduction automatique du titre en japonais: "Dispositif de mécanisme différentiel pour extrémité d’essieu de voiture modèle à roues (ou similaires)". Demande de brevet déposée par un ou des particuliers?

1997-11-06

DE19851357A1 Radio remote control load vehicle

Demande de brevet déposée par un ou des particuliers?

1997-09-29

WO9917460A1 RECEIVING ANTENNA DEVICE

Déposant: WELLPINE COMMUNICATIONS CO LTD.

1997-08-26

JPH1157235A (小型模型自動車)  (SMALL MODEL AUTOMOBILE)

Traduction automatique du titre en japonais: "Petite automobile modèle". Déposant de la demande de brevet: Seiko Epson Corporation (Seiko Epson Corporation).

1997-07-08

DE29711930U1 Steuereinheit zur Bewegung der Bedienelemente einer Funkfernsteuerung


1997-01-28

JPH10211366A RADIO CONTROL DEVICE OF MODEL

Déposant: Touno KK

1997-01-28

US5820439A Gyro stabilized remote controlled toy motorcycle

Moto R/C. Déposant: Shoot The Moon Products Inc.

1997-01-22

US5851134A Directional control device for a model vehicle


1996

Date de priorité

Numéro de publication et titre

Commentaires

1996-12-23

US5785576A Radio controlled vehicle with selectable vehicle suspension system

Déposant: Sports Wheels Inc

1996-10-30

US5816888A Remote controlled three-in-one vehicle


1996-10-29

JP3615881B2 (自動車タイヤ用内装材及び自動車タイ ヤ) (INTERIOR TRIM MATERIAL FOR AUTOMOBILE TIRE, AND AUTOMOBILE TIRE)

Insert pour pneu en caoutchouc. Traduction automatique du titre en japonais: "Matériau intérieur pour pneu de voiture et pneu de voiture". Demande de brevet déposée par un ou des particuliers?

1996-08-29

US5816352A Remote control toy


1996-08-23

US5762554A Closed-loop steering control mechanism


1996-08-05

JPH1043439A (運転席の部分に小型カメラを備えたラジ コン・カー) (RADIO CONTROL CAR PROVIDED WITH COMPACT CAMERA IN PART OF DRIVER'S SEAT)

Traduction automatique du titre en japonais: "Voiture radiocommandée équipée d'une petite caméra dans la cabine du conducteur". Demande de brevet déposée par un ou des particuliers?

1996-08-01

US5775972A Toy vehicle with an improved steering mechanism


1996-05-23

JPH09308773A (ラジコンカーのタイヤ成形方 法) (TIRE FORMING METHOD FOR RADIO CONTROLLED CAR)

Procédé de fabrication de pneus. Traduction automatique du titre en japonais: "Méthode de moulage de pneus de voiture radiocommandée". Déposant de la demande de brevet: Shinmei Sangyo Co., Ltd

1996-05-16

US5722872A Counter balanced lift assembly for low-rider model vehicles


1996-01-17

US5597165A Game device for a radio controlled vehicle


1996-01-10

FI101682B Remote-controlled two-wheel vehicle and method for controlling it

Moto R/C

1995

Date de priorité

Numéro de publication et titre

Commentaires

1995-10-17

JP2772472B2 RADIO CONTROL AUTOMOBILE

Suspension arrière pour voitures de piste électrique de type Pan-Car à biellette autodirectionnel. Traduction automatique du titre en japonais: "Voiture radiocommandée". Demande de brevet déposée par un ou des particuliers?

1995-09-22

JP3023005U (三層構造板からなる無線操縦玩具の車体部 品) (Improvement of a body part material used for a toy such as a radio controlled car, a helicopter, a ship and an airplane)

Traduction automatique du titre en japonais: "Pièce de carrosserie pour un jouet télécommandé, composée d'une plaque à trois couches". Demande de brevet déposée par un ou des particuliers?

1995-08-30

BE1009559A6 MODELES REDUITS DE VEHICULES PILOTE A DISTANCE PAR RADIO-COMMANDES ET TELEVISION.


1990-05-10

JPH0425458U ラジオコントロール模型用DCモータ装置

Traduction automatique du titre: Dispositif de moteur à courant continu (DC) pour modèles radiocommandés"".
Le document concerne un variateur de vitesse électronique connectable directement à la tête d'un moteur à charbons.
Déposant: Tadaya Engineering Co., Ltd. (田屋エンジニアリング株式会社).

    1995-03-30

    JPH08273706A 二次電池の放熱用アダプター (ADAPTOR FOR HEAT RADIATION OF SECONDARY BATTERY)

    Traduction automatique du titre: "Adaptateur de dissipation thermique pour batteries rechargeables".
    Déposant: Clover Engineering Co., Ltd. (クローバーエンジニアリング株式会社).

      1995-01-04

      US5833514A Reactionary force utilization


      1994

      Date de priorité

      Numéro de publication et titre

      Commentaires

      1994-12-06

      US5527059A Adjustable vehicle suspension


      1994-09-30

      ITRE940082A1 IMPIANTO DI ATTRAZIONE PER CENTRI DI PUBBLICO DIVERTIMENTO

      Piste

      1994-09-02

      DE9414290U1 Vorrichtung zur Meßwertübertragung bei funkferngesteuerten Modellen

      Télémétrie. Demande de brevet déposée par un ou des particuliers?

      1994-09-02

      DE19502713A1 Measurement value transmission device for radio controlled model e.g. aeroplane

      Télémétrie. Demande de brevet déposée par un ou des particuliers?

      1994-07-15

      US5601159A Brake assembly for model vehicles and method


      1994-06-30

      JP2710017B2 (走行速度2段切替ラジオコントロール カー玩具) (DUAL-SPEED RADIO-CONTROLLER CAR)

      Traduction automatique du titre en japonais: "Jouet de voiture radiocommandée avec changement de vitesse à deux niveaux pour la vitesse de déplacement". Déposant de la demande de brevet: Hashimoto Co., Ltd. (株式会社ハシモト)

      1994-05-25

      US5609510A Toy vehicle with a chassis-bending mechanism

      Déposant: Fertig Stubenfol Design Group, Inc.

      1994-05-04

      US5435768A Remote controlled model trash truck

      Demande de brevet déposée par un ou des particuliers?

      1994-04-28

      JPH07299255A 超小型遠隔操縦走行玩具 (EXTREMELY SMALL REMOTELY STEERED TRAVELING TOY)

      Traduction automatique du titre: "Jouet roulant radiocommandé ultra-petit".
      Déposant: Kabushiki-gaisha P.I. (株式会社ピーアイ).

      1994-03-18

      JPH07255954A INSTALLING MEMBER OF WHEEL SUSPENSION MECHANISM FOR MODEL AUTOMOBILE

      Les figures semblent représenter une piste 1/8° thermique BMT(Blitz Model Tecnica) 891.
      Demande de brevet déposée par un ou des particuliers?

      1994-02-09

      CA2159918A1 Model Machine Toys


      1993

      Date de priorité

      Numéro de publication et titre

      Commentaires

      1993-12-21

      JPH07178235A コントロール装置 (CONTROL DEVICE)

      Traduction automatique du titre: "Dispositif de contrôle".
      Déposant: Casio Computer Co., Ltd. (カシオ計算機株式会社).

      1993-10-21

      EP0724471A1 RADIO CONTROLLED TWO-WHEELED TOY MOTORCYCLE

      Moto R/C.

      1993-09-07

      JPH0718794U (自動式追従型玩具)

      Jouet qui suit automatiquement un émetteur. Traduction automatique du titre en japonais: "Jouet suiveur automatique". Demande de brevet déposée par un ou des particuliers?

      1993-07-28

      JPH0739652A (ドリフト走行装置) (DRIFT RUNNING MACHINE)

      Voiture R/C de Drift avec batterie mobile. Traduction automatique du titre en japonais: "Dispositif de conduite en dérapage". Demande de brevet déposée par un ou des particuliers?

      1993-07-24

      DE4324774A1 Model motor-cycle

      Moto R/C.

      1993-07-02

      JPH0716357A ラジコンカー

      Traduction automatique du titre: "Voiture télécommandée".
      Déposant: Sawara Co., Ltd. (株式会社サワラ).

      1993-06-05

      DE4318774A1 Remote control for a model vehicle


      1993-03-06

      CN2160444Y Remote-controlled toy vehicle with eight actions

      Demande de brevet déposée par un ou des particuliers?

      1993-01-19

      US5295890A Remotely controlled toy vehicle with water ejection capabilities


      1992

      Date de priorité

      Numéro de publication et titre

      Commentaires

      1992-11-22

      JPH0728598U 直観的な操舵性を維持する遠隔操縦装置

      Traduction automatique du titre: "Dispositif de télécommande maintenant la direction intuitive". Demande de brevet déposée par un ou des particuliers?

      1992-10-30

      US5338247A Battery powered model car

      Piste 1/10° et 1/12° électrique de 1992 non identifiée.

      1992-10-19

      US5306038A Model car suspension lift and lowering apparatus


      1992-10-07

      US5367995A Starting mechanism of an engine for a model


      1992-08-24

      JPH0663250A (ラジコン用計測装置) (MEASURING APPARATUS FOR RADIO CONTROL)

      Système de comptage. Traduction automatique du titre en japonais: "Appareil de mesure pour radiocommande". Déposant de la demande de brevet: Micro-Data Co., Ltd. (マイクロ・データ株式会社).

      1992-08-19

      US5269718A Toy racing car with improved propulsion means

      Voiture R/C propulsé par hélice.

      1992-07-17

      JPH0613211U ラジオコントロール用アンテナ

      Traduction automatique du titre: "Antenne pour radiocommande".
      Déposants: Shinmei Sangyo Co., Ltd. (株式会社信明産業) et Chuo Musen Co., Ltd. (中央無線株式会社).

      1992-05-21

      DE9207705U1  Abtriebsfreie mechanische Bremse


      1992-05-21

      DE4216838A1 Abtriebsfreie mechanische Bremse


      1992-05-11

      JPH0631797U (driver figure of a toy which is operated operated by radio control, on the radio-controlled car)

      Voiture radiocommandée de type Formule 1 avec une tête de la figurine pouvant pivoter dans la direction du virage. Traduction automatique du titre en japonais: "Voiture radiocommandée". Demande de brevet déposée par un ou des particuliers?

      1992-04-08

      US5281184A Steering device for automotive vehicle toy


      1991

      Date de priorité

      Numéro de publication et titre

      Commentaires

      1991-12-24

      DE9116072U1 Elektrischer Antrieb für ferngesteuerte oder freischwimmende /freifahrende /freifliegende Modelle (Auto-, Schiffs- oder andere, insbesondere aber Flugmodelle).


      1991-11-13

      JPH0541593U (hydraulic type continuously variable transmission for radio-controlled model)

      Traduction automatique du titre en japonais: 

      1991-04-17

      US5186676A Model racing car tire and wheel assembly

      Structure de pneus; déposant: TOTAL RACING CONNECTION INC

      1991-04-11

      JPH04338479A SPEED-CHANGING DEVICE FOR TOY VEHICLE REMOTELY CONTROLLED

      Tout-Terrain 1/10° électrique représenté. Demande de brevet déposée par un ou des particuliers?

      1991-04-10

      KR920019387A SPEED VARIABLE TRANSMISSION SYSTEM

      Tout-Terrain 1/10° électrique représenté. Demande de brevet déposée par un ou des particuliers?

      1991-03-28

      CN1024516C Speed variable transmission system of telecontrol vehicle

      Traduction automatique du titre en chinois: "Système de transmission à vitesse variable pour véhicule télécommandé". Demande de brevet déposée par un ou des particuliers?

      1990

      Date de priorité

      Numéro de publication et titre

      Commentaires

      1990-09-17

      US5108126A Wheel suspension assembly


      1990-07-16

      US5090030A Integral lap counter for radio-controlled models

      Système de comptage.

      1990-06-12

      JPH0444792A (タイヤ ) (TOY AUTOMOBILE TIRE)

      Pneus pour tout-terrain. Traduction automatique du titre en japonais: "Pneu pour voiture jouet". Déposant de la demande de brevet: Auto Model Co., Ltd. / Ooto Moderu KK (株式会社オートモデル).

      1990-06-05

      JPH0418594U 電動の模型自動車

      Traduction automatique du titre: "Voiture miniature électrique".
      Le document décrit une voiture solaire radiocommandée comportant un supercondensateur monté en parallèle avec les cellules photovoltaïques et le moteur. Ce document est-il relié au Tamiya Solar Eagle SRC-6000 référence 56101 de 1992?
      Déposant: Saitomusen Co., Ltd. (株式会社サイトームセン).

      1990-04-23

      JPH043792U 移動玩具

      Traduction automatique du titre: "Jouet mobile".
      Demande de brevet déposée par un ou des particuliers?

      1990-03-31

      JPH03126195U 遠隔操縦装置

      Traduction automatique du titre: "Dispositif de télécommande / Dispositif de contrôle à distance".
      Demande de brevet déposée par un ou des particuliers?

      1989

      Date de priorité

      Numéro de publication et titre

      Commentaires

      1989-12-11

      JPH0380793U 送信機の耐候性ケース

      Traduction automatique du titre: "Boîtier résistant aux intempéries pour émetteur".
      Demande de brevet déposée par un ou des particuliers?

      1989-11-13

      US5061007A Torsionally adjustable vehicle wing for uneven application of negative lift to the wheels


      1989-11-02

      FR2653676A1 MONTEUSE-ENCOLLEUSE POUR PNEUS DE VOITURES RADIO-COMMANDEES.

      Montage et collage de pneu sur jante.

      1989-10-20

      JPH0360995U 玩具用リモートコントロールカー

      Traduction automatique du titre: "Voiture télécommandée pour jouet".
      Déposant: Tokyo Screw Service Co., Ltd. (株式会社東京スクリュウサービス)

      1989-10-05

      JPH0356495U 自動車玩具の操舵装置

      Traduction automatique du titre: "Dispositif de direction pour jouet automobile".
      Demande de brevet déposée par un ou des particuliers?

      1989-09-27

      US4940445A Tire and process for making a tire

      Procédé de fabrication de pneus.

      1989-08-28

      JPH0339100U ラジコン模型用受信機の短縮型アンテナ

      Traduction automatique du titre: "Antenne de type raccourci pour récepteur de modèle réduit radiocommandé".
      Déposant: Shinri Kogyo Co., Ltd. (株式会社新理研工業所).

      1989-08-25

      JPH0339098U 無線操縦自動車玩具

      Traduction automatique du titre: "Jouet automobile télécommandé".
      Déposant: Hashimoto Co., Ltd. (株式会社ハシモト)

      1989-06-28

      IT1234159B Auto arranged support for remote controlled car rear spoilers.


      1989-05-31

      JPH034891A ラジコン用バンド監視器およびラジコン操縦装置 (BAND MONITOR FOR RADIO CONTROLLER AND CONTROLLER FOR RADIO CONTROLLER)

      Traduction automatique du titre: "Moniteur de bande pour radiocommande et dispositif de pilotage par radiocommande".
      Demande de brevet déposée par un ou des particuliers?

      1989-03-28

      JPH02252484A (電動ラジコン模型車両)  (RADIO-CONTROLLED ELECTRIC MODEL CAR)

      Modèle qui émet des sons synthétiques d'échappement de moteur à combustion interne. Traduction automatique du titre en japonais: "Véhicule modèle radiocommandé électrique". Demande de brevet déposée par un ou des particuliers?

      1989-02-16

      US5195920A Radio controlled model vehicle having coordinated sound effects system


      1989-02-16

      US4964837A Radio controlled model vehicle having coordinated sound effects system


      1988

      Date de priorité

      Numéro de publication et titre

      Commentaires

      1988-12-14

      JPH0282395U コードレス模型用エンジンスターター

      Traduction automatique du titre: "Démarreur de moteur sans fil pour modèles réduits".
      Demande de brevet déposée par un ou des particuliers?

      1988-11-16

      JPH0268896U 玩具用方向変換装置

      Traduction automatique du titre en japonais: "Dispositif de changement de direction pour jouets". Demande de brevet déposée par un ou des particuliers?

      1988-11-10

      JPH0265992U 2輪玩具走行装置

      Moto R/C - Traduction automatique du titre en japonais: "Dispositif de changement de direction pour jouets". Déposant: Landmac Co., Ltd. (株式会社ランドマツク).

      1988-09-19

      US4886478A Wind propelled sail toy vehicle

      Char à voile R/C. Demande de brevet déposée par un ou des particuliers?

      1988-07-13

      DE8808960U1 Fahrschalter für ein Modellfahrzeug

      Banc de démarrage

      1988-06-13

      US4882942A Steering wheel attachment for radio control devices

      Pour transformer une radio à manches en radio à volant

      1988-05-27

      JPH01172893U 伸縮式ドライブシャフト

      Traduction automatique du titre: "Arbre de transmission télescopique".
      Le document décrit un cardan de roue pouvant s'allonger et se raccourcir pour s'adapter aux mouvements de la suspension et aux angles des roues. Les figures montrent un tout-terrain 1/10° électrique avec un mono-shock à l'avant.
      Déposant: Joy Plaza, Ltd. (有限会社ジョイプラザ).

      1987

      Date de priorité

      Numéro de publication et titre

      Commentaires

      1987-12-30

      US4881917A Remote control steering mechanism

      Déposant: Itla Corp.

      1987-12-04

      US4799915A Radio-controlled robot operator for battery-powered toys


      1987-11-25

      US4880279A Model automobile rim construction


      1987-10-29

      JPH0169595U 遠隔操縦二輪車玩具

      Moto R/C. Traduction automatique du titre en japonais: "Jouet de moto télécommandé". Demande de brevet déposée par un ou des particuliers?

      1987-09-09

      JPS6442099U  玩具の停止回路

      Traduction automatique du titre: "Circuit d'arrêt pour jouet".
      Déposant: Nobuo Oda (小田 展生), dont le nom se retrouve fréquemment également sur des documents brevets de Takara Co., Ltd. (株式会社タカラ).

      1987-09-03

      JPH01117395U 無線送信機

      Traduction automatique du titre: "Émetteur radio".
      Le document concerne un émetteur de radiocommande simplifié destiné aux voitures radiocommandées utilisant des boutons en caoutchouc.
      Déposant: Mitsuboshi Belting Ltd. (三ツ星ベルト株式会社)et Axon Data Machine Co., Ltd. (アクソンデータマシン株式会社).

      1987-08-05

      JPS6440082A  走行玩具

      Traduction automatique du titre en japonais: "Jouet roulant".
      Le document concerne une voiture-jouet radiocommandée comportant mécanisme de levage de cadre pour une roue centrale, permettant de contrôler précisément les mouvements de wheelies sur les roues arrière.
      Déposant de la demande de brevet: Apollo Co., Ltd. (株式会社 アポロ).

      1987-07-24

      JPS6420897U ラジコン模型と操縦装置

      Traduction automatique du titre en japonais: "Modèles radiocommandés et équipements de contrôle".
      Déposant de la demande de brevet: Kaho Musen Co., Ltd. (嘉 穂無線株式会社 ).

      1987-07-08

      JPS649698U ラジコンカーのタイマーによる自動変速機構

      Traduction automatique du titre: "Mécanisme de changement de vitesse automatique par minuterie pour voiture radiocommandée".
      Demande de brevet déposée par un ou des particuliers?

      1987-06-12

      JPS63309293A 模型自動車 (MODEL CAR)

      Parachute de freinage. Traduction automatique du titre en japonais: "Modèle de voiture". Demande de brevet déposée par un ou des particuliers?

      1987-06-08

      JPS63197595U 組立ブロックの取付装置を有する遠隔操縦の電動走行 車両玩具

      Traduction automatique du titre: "Jouet de véhicule motorisé radiocommandé avec dispositif de fixation par blocs d'assemblage".
      Le document décrit une voiture télécommandé électrique comportant des sections de fixation pour des blocs de construction (comme des Lego) sur la carrosserie, les roues et le pare-chocs du véhicule. Ces sections permettent d'attacher et de détacher facilement des blocs de construction pour personnaliser la voiture.
      Déposant: Société Senock Co., Ltd. (株式会社セノック).

      1987-05-12

      JPS63180393U 無線操縦二輪オートバイの操舵装置

      Moto R/C. Traduction automatique du titre en japonais: "Dispositif de direction pour une moto télécommandée à deux roues". Demande de brevet déposée par un ou des particuliers?

      1987-04-17

      JPH0426150Y2  ラジコンカー

      Traduction automatique du titre en japonais: "Voiture télécommandée".
      La figure représente un tout-terrain 1/10° électrique avec un monoshock à l'avant.
      Demande de brevet déposée par un ou des particuliers?

      1987-03-15

      US5481257A Remotely controlled vehicle containing a television camera

      Demande de brevet déposée par un ou des particuliers?

      1987-02-23

      GB2201549A Electromagnetic actuators for steering mechanisms of toys


      1986

      Date de priorité

      Numéro de publication et titre

      Commentaires

      1986-10-20

      US4740013A Shock unit

      Cellule avant et double corps d'amortisseurs laydown monobloc

      1986-05-21

      JPS62275488A DAMPER APPARATUS FOR ELECTROMOTIVE RADIO CONTROL CAR

      Combinaison d'amortisseurs. Traduction automatique du titre en japonais: "Dispositif d'amortisseur pour voiture radiocommandée électrique". Demande de brevet déposée par un ou des particuliers? Demande du même déposant: JPS62133991A.

      1986-04-03

      JPS62233194A (過電流防止装置付無線操縦式電動模型 車) (RADIO WAVE OPERATION TYPE ELECTROMOTIVE MODEL CAR WITH EDDY CURRENT PREVENTING APPARATUS)

      Traduction automatique du titre en japonais: "Véhicule modèle électrique télécommandé avec dispositif de prévention des surintensités". Déposant de la demande de brevet: Matsushita Electric Industrial Co., Ltd.

      1986-04-03

      JPS62233193A (過電流防止装置付無線操縦式電動模型 車) (RADIO WAVE OPERATION TYPE ELECTROMOTIVE MODEL CAR WITH EDDY CURRENT PREVENTING APPARATUS)

      Traduction automatique du titre en japonais: "Véhicule modèle électrique télécommandé avec dispositif de prévention des surintensités". Déposant de la demande de brevet: Matsushita Electric Industrial Co., Ltd.

      1986-02-07

      GB2187650A Remote controller for toy vehicle


      1986-02-07

      JPS62128596U 走行玩具

      Traduction automatique du titre en japonais: "Jouet roulant".
      Le document concerne un jouet roulant de type radiocommandé présentant une conception modulaire où l'unité de commande, l'unité de direction, l'unité motrice et le compartiment à piles sont des blocs séparés connectables par un système de prise sur la carrosserie.
      Déposant de la demande de brevet: Uchino Shoten Co., Ltd. (株式会社内野商店).

      1985

      Date de priorité

      Numéro de publication et titre

      Commentaires

      1985-12-11

      JPS6299295U 走行玩具装置

      Traduction automatique du titre: "Dispositif de jouet roulant".
      Déposant: Nobuo Oda (小田 展生), dont le nom se retrouve fréquemment également sur des documents brevets de Takara Co., Ltd. (株式会社タカラ).

      1985-12-02

      JPS62133991A DAMPER APPARATUS FOR ELECTROMOTIVE RADIO CONTROL CAR

      Combinaison d'amortisseurs. Traduction automatique du titre en japonais: "Dispositif d'amortisseur pour voiture radiocommandée électrique". Demande de brevet déposée par un ou des particuliers? Demande du même déposant: JPS62275488A.

      1985-03-19

      JPS61154999U 無線操縦玩具自動車

      Traduction automatique du titre: "Voiture-jouet radiocommandée".
      Le document décrit une voiture télécommandée capable de fonctionner en deux modes : haute vitesse sur route et tout-terrain à basse vitesse. Pour se faire, la voiture elle-même peut être montée dans un sous-châssis roulant séparé comportant des roues de plus grand diamètre.
      Déposant: Nomura Toy Co., Ltd. ( 株式会社 野村トーイ).

      1984

      Date de priorité

      Numéro de publication et titre

      Commentaires

      1984-10-01

      JPS6185977A 発明の名称 (GAME MACHINE).

      Traduction automatique du titre: "Machine de jeu".
      Le document décrit un système complexe comprenant un circuit, une voiture radiocommandé équipé d'une caméra vidéo, un dispositif de commande permettant de diriger le voiture à distance tout en recevant l'image de la caméra sur une télévision, la caméra étant contrôlée pour toujours faire face à la direction donnée à la voiture.
      Déposant: Taito Corporation (株式会社 タイトー).

      1984-09-29

      JPS6163296U 玩具の停止装置

      Traduction automatique du titre: "Dispositif d'arrêt pour jouet".
      Le document décrit un jouet électrique équipé d'un récepteur contrôlé par télécommande. Il présente un mécanisme automatique qui coupe l'alimentation du jouet si aucun signal n'est reçu pendant une durée déterminée. Le jouet se rallume automatiquement dès qu'il reçoit à nouveau un signal de la télécommande.
      Demande de brevet déposée par un ou des particuliers?

      1984-07-10

      JPS6118199U 模型用送受信機の周波数切替装置

      Traduction automatique du titre: "Dispositif de commutation de fréquence pour émetteurs et récepteurs de modèles réduits".
      Demande de brevet déposée par un ou des particuliers?

      1984-06-16

      JPS612884A (多位置制御装置) (MULTI-POSITION CONTROL APPARATUS)

      Traduction automatique du titre en japonais: "Dispositif de contrôle multiposition". Demande de brevet déposée par un ou des particuliers?

      1984-05-10

      US4584504A Integrated circuit for driving a D.C. motor having operational modes

      Déposant: SAMSUNG SEMICONDUCTOR

      1984-04-13

      EP0159437A2 A remote-controllable toy vehicle with a winch mechanism.


      1984-03-26

      US4568306A Unicycle toy

      Monocycle R/C

      1984-01-14

      JPS60116398U  遠隔操縦走行玩具の方向変換装置

      Traduction automatique du titre en japonais: "Dispositif de changement de direction pour jouets télécommandés".
      Déposant: Towa Toys Co., Ltd. (株式会社東和玩具), ou Towa Chiki Co., Ltd. était une entreprise japonaise de jouets qui n'existe plus, entrée sur le marché des jeux vidéo domestiques en 1986.

      1983

      Date de priorité

      Numéro de publication et titre

      Commentaires

      1983-09-06

      US4817948A Reduced-scale racing system


      1983-02-22

      JPS59130798U 方向操作機構

      Traduction automatique du titre en japonais: "Mécanisme de fonctionnement directionnel". Demande de brevet déposée par un ou des particuliers?

      1983-02-17

      JPS59127700U 方向操作機構

      Traduction automatique du titre en japonais: "Mécanisme de fonctionnement directionnel". Demande de brevet déposée par un ou des particuliers?

      1983-01-21

      GB2134049A Model vehicle tyre


      1982

      Date de priorité

      Numéro de publication et titre

      Commentaires

      1982-09-11

      JPS5941495U 模型小型エンジンのハンドスターターとデ スククラッチによるブレーキー不用の走行及停止装置^

      Voiture thermique R/C avec transmission à vis sans fin. Traduction automatique du titre en japonais: "Dispositif de fonctionnement et d'arrêt sans freinage par démarreur manuel et embrayage à disque pour moteur modèle". Demande de brevet déposée par un ou des particuliers?

      1982-06-09 DE3221741A1 Motorcycle, in particular model-sized, with a remote-controllable steering device Moto R/C.

      1982-02-02

      DE3203404A1 Toy vehicle with remote radio control


      1981

      Date de priorité

      Numéro de publication et titre

      Commentaires

      1981-12-28

      US4411100A Steering mechanism for running toy


      1981-12-24

      GB2112655A Toy vehicle steering arrangement


      1981-10-26

      US4426806A Model landsailer

      Char à voile R/C. Demande de brevet déposée par un ou des particuliers?

      1981-08-25

      JPS5836581A (リモート・コントロール可能な模型二輪 自動車) (REMOTE CONTROLLABLE MODEL TWO-WHEELED VEHICLE)

      Traduction automatique du titre en japonais: "Modèle de moto télécommandé". Déposant de la demande de brevet: Noba KK ou Nova KK (株式会社ノバ)

      1981-05-08

      FR2505200A1 MODELE DE PNEUS POUR VOITURE AUTOMOBILE MODELE REDUIT RADIOCOMMANDEE DESTINES A ROULER EN CAS DE PLUIE APPELE COMMUNEMENT " PNEU PLUIE "

      Pneus pluie. A noter que la composition chimique de la gomme est donnée.

      1981-05-01

      JPS57178266U  ジオコントロール模型用操縦練習装置

      Traduction automatique du titre en japonais: "Dispositif d'entraînement au pilotage pour modèles réduits radiocommandés".
      Dispositif d'entraînement au pilotage pour modèles radiocommandés, tels que des avions, des bateaux, des voitures ou des chars, comportant un émetteur pour élève installé sur une base, parallèlement à des leviers de commande pour instructeur correspondant à chaque manche de l'émetteur de l'élève
      Demande de brevet déposée par un ou des particuliers?

      1981-01-14

      ES255568U Directional mechanism for motorcycle radiodirigida 

      Moto R/C.

      1980

      Date de priorité

      Numéro de publication et titre

      Commentaires

      1980-10-17

      JPS5770396U 玩具用遠隔操作装置

      Traduction automatique du titre en japonais: "Dispositif de commande à distance pour jouets". Déposant de la demande de brevet: A-One Co., Ltd. (株式会社エーワン).

      1980-09-17

      JPS5754497U (steering device)

      Traduction automatique du titre en japonais: "Dispositif de direction assistée pour jouet radiocommandé

      1980-09-11

      JPS5751597U (ラジコン玩具のサーボモーター付双动装 置) (driving device with a servo sweater of a radio controlled toy)

      Traduction automatique du titre en japonais: "Dispositif d'entraînement avec servomoteur pour jouets radiocommandés". Déposant de la demande de brevet: Barashima Kogyo Co., Ltd. (薔薇洲工業株式会社).

      1980-09-11

      JPS5751594U (ラジコン玩具のサーボモーター付操向装 置) (steering apparatus with a servomotor in a racco toy)

      Traduction automatique du titre en japonais: "Dispositif de direction avec servomoteur pour jouet radiocommandé". Déposant de la demande de brevet: Barashima Kogyo Co., Ltd. (薔薇洲工業株式会社).

      1980-08-06

      JPS5734289U 二輪車玩具の方向操作機構

      Traduction automatique du titre: "Mécanisme de direction pour jouet à deux roues".
      Le document décrit le système de direction d'une moto R/C.
      Demande de brevet déposée par un ou des particuliers?

      1980-07-18

      JPS5723396U (玩具もしくは模型自動車) (a toy, a model car, and more specifically to a steering mechanism thereof)

      Traduction automatique du titre en japonais: "Jouet ou modèle de voiture". Demande de brevet déposée par un ou des particuliers?

      1980-06-09

      JPS575292U 方向操舵機構

      Traduction automatique du titre en japonais: "Mécanisme de direction". Demande de brevet déposée par un ou des particuliers?

      1980-05-13

      JPS56166092U 玩具もしくは模型自動車

      Traduction automatique du titre en japonais: "Jouet ou automobile miniature". Demande de brevet déposée par un ou des particuliers?

      1980-05-10

      DE3018057A1 Stencil for painting model vehicles - is made from flat or curved material as cover sections marked for cutting out and made from self-adhesive material with covering foil

      Caches pour peinture de carrosserie

      1980-05-10

      DE8012806U1 SCHABLONE FUER MODELLFAHRZEUGE ZUM LACKIEREN

      Caches pour peinture de carrosserie.

      1980-04-14

      JPS56152697U 考案の名称 :模型用ラジオコントロール保護装置

      Traduction automatique du titre: "Dispositif de protection pour radiocommande de modèle réduit".
      Déposant:Cosmo System Co., Ltd.
      (氏名/名称 : 株式会社 コスモシステム).

      1980-03-15

      JPS56130174A ("ラジコンカー") (RADIO-CONTROLLED CAR)

      Voiture radiocommandée conçue pour améliorer la stabilité lors de la prise de virages à grande vitesse grâce à l'utilisation d'ailerons de stabilisation montés sur la carrosserie qui s'inclinent pour contrer la force centrifuge et empêcher la voiture de basculer. Traduction automatique du titre en japonais: "Voiture télécommandée". Demande de brevet déposée par un ou des particuliers?

      1980-03-08

      DE3009040A1 Radio controlled model vehicle - has electric drive and remote control system with loudspeaker on chassis for relaying recorded or direct sound transmitted from panel


      1980-03-08

      DE8006442U1 UEBER EINEN SENDER FUNKFERNSTEUERBARES SPIELFAHRZEUG


      1980-03-06

      DE3008604A1 Radio and manual control for mobile electric toy - provides override for preselected stored programme operations or combination of manual and stored programme


      1980-02-13

      US4290228A Toy vehicles with automatic banking


      1980-02-13

      JPS56118700U 走行がん具ドラッグスター

      Traduction automatique du titre en japonais: "Jouet de course dragster". Demande de brevet déposée par un ou des particuliers?

      1980-01-30

      US4366374A Lap counter for radio controlled vehicles


      1980-01-30

      DE8002282U1 RUNDENZAEHLER FUER FUNKFERNGESTEUERTE FAHRZEUGE


      1980-01-28

      JPS56109799U (無線操縦玩具用方向変換装值)

      Traduction automatique du titre en japonais: "Dispositif de changement de direction pour jouets télécommandés". Déposant de la demande de brevet: King Co., Ltd. (キング株式会社)

      1980-01-25

      US4272917A Steering assembly rendering car unstable in a turn

      Déposant: Smith Engineering

      1980-01-25

      US4360808A Radio control apparatus with voice transmission capability

      Déposant: Smith Engineering

      1979

      Date de priorité

      Numéro de publication et titre

      Commentaires

      1979-11-30

      JPS5681796U (操舵用モータ・サーボ機構の作動制御装 置)

      Traduction automatique du titre en japonais: "Dispositif de commande de fonctionnement pour un mécanisme de servomoteur de direction". Déposant de la demande de brevet: Horikiri Seisakusho Co., Ltd. (株式会社 堀切製作所).

      1979-11-14

      JPS5673898U 考案の名称:電動玩具用可変抵抗装置

      Traduction automatique du titre: "Dispositif à résistance variable pour jouets électriques".
      La demande concerne un variateur de vitesse mécanique avec une résistance à spires.
      Demande de brevet déposée par un ou des particuliers?

      1979-10-25

      JPS5666392U (模型車の操向装置) (steering apparatus for a model car, and more particularly to a steering apparatus for a model car such as a radio controlled electric traveling toy)

      Traduction automatique du titre en japonais: "Dispositif de direction pour modèle de voiture". Déposant de la demande de brevet: Takada Musen Seisakusho Co., Ltd. (株式会社 高田無線製作所). Mauvaise orthographe de Takara?

      1979-10-25

      US4267663A Radio-controlled steering device for toy motorcycles

      Moto R/C.

      1979-10-17

      JPS5664105U ラジコン用の送信機

      Traduction automatique du titre en japonais: "Émetteur pour radiocommande".
      Demande de brevet déposée par un ou des particuliers?

      1979-10-17

      JPS5661293U 玩具等の遠隔制御システム

      Traduction automatique du titre: "Système de commande à distance pour jouets et objets similaires".
      Demande de brevet déposée par un ou des particuliers?

      1979-09-14

      JPS5643980A REMOTE CONTROLLING METHOD FOR TOY* ETC

      Demande de brevet déposée par un ou des particuliers?

      1979-08-19

      JPS5630997U (遠隔操縦モデルカーに設けるステアリン グシステム)

      Train avant de châssis piste. Traduction automatique du titre en japonais: "Système de direction pour une voiture modèle télécommandée". Demande de brevet déposée par un ou des particuliers?

      1979-07-13

      JPS5613971A MODEL TWOOWHEELED AUTOMOBILE WHICH IS CAPABLE OF REMOTEECONTROL

      Moto R/C. Traduction automatique du titre en japonais: "Moto miniature télécommandée à deux roues". Demande de brevet déposée par un ou des particuliers?

      1979-07-12

      JPS5614397U (ラジコンカーにおけるクラッチ装 置) (clutch device in a radio control car)

      Traduction automatique du titre en japonais: "Dispositif d'embrayage pour voiture radiocommandée".
      Les figures montrent un châssis quatre roues motrices à propulsion électrique.
      Demande de brevet déposée par un ou des particuliers?

      1979-06-20

      JPS561698U (ラジコンカーにおけるクラッチ装 置) (clutch device in a radio control car)

      Traduction automatique du titre en japonais: "Dispositif d'embrayage pour voiture radiocommandée".
      Les figures montrent un châssis quatre roues motrices à propulsion électrique.
      Demande de brevet déposée par un ou des particuliers?

      1979-05-24

      JPS55171086U 考案の名称

      Traduction automatique du titre en japonais: "Dispositif de suspension de roue avant pour voiture miniature".
      Train avant avec chasse réglable pour piste 1/12° électrique.
      Demande de brevet déposée par un ou des particuliers?

      1979-05-14

      EP0019448A1 Method and apparatus for controlling the speed and direction of a vehicle.


      1979-04-27

      JPS55156799U (二輪車玩具における無線操舵装置)

      Moto R/C. Traduction automatique du titre en japonais: "Dispositif de direction sans fil pour jouet à deux roues". Demande de brevet déposée par un ou des particuliers?

      1979-04-20

      JPS55154095U 電動ラジオコントロールカー用リレー式 スピードコントロールスイッチ

      Traduction automatique du titre en japonais: "Interrupteur de contrôle de vitesse à relais pour voitures radiocommandées électriques".
      Le document décrit un commutateur de contrôle de vitesse à relais conçu spécifiquement pour les voitures télécommandées électriques.
      Déposant:  Rajikon Pla Co. Ltd (有限会社 ラジコン・プラ).

      1979-03-13

      JPS55131789U (バイパスリレー回路を有する電動模型 自動車等) (controller of an electric model car or the like)

      Variateur électronique. Traduction automatique du titre en japonais: "Véhicule automobile modèle électrique, etc., avec un circuit de relais de dérivation". Demande de brevet déposée par un ou des particuliers?

      1979-02-24

      DE2907306A1 Multichannel IR remote control for model toys - has first code number identifying channel group and second number describing channel within group


      1979-02-22

      JPS55113483A (玩具の動作制御方法)  (METHOD OF CONTROLLING OPERATION OF TOY)

      Traduction automatique du titre en japonais: "Méthode de contrôle du fonctionnement des jouets". Demande de brevet déposée par un ou des particuliers?

      1979-02-17

      JPS55110577A (ラジコンカーにおける前後ランプ点滅 作動回) (BEFOREE AND DBEHIND LAMP FLASH OPERATING CIRCUIT IN RADIOCONTROLLED CAR)

      Traduction automatique du titre en japonais: "Circuit de fonctionnement de feux clignotants avant et arrière pour une voiture radiocommandée". Déposant de la demande de brevet: Nakahara Case Co., Ltd. (有限会社ナカハラケース).

      1978

      Date de priorité

      Numéro de publication et titre

      Commentaires

      1978-12-07

      JPS5585099U 無線操縦玩具の微調整装置

      Traduction automatique du titre en japonais: "Dispositif de réglage fin pour jouets radiocommandés".
      Déposant: Ohkuma Seisakusho Co., Ltd. (株式会社大熊製作所).

      1978-12-04

      DE2852322A1 Nut on screw spindle in model vehicle control - is moved in opposite direction when motor direction reversed, and under pressure from discs on spindle


      1978-10-17

      JPS5559698U  (Control device which allows a plurality of models to be steered by using the frequency band of the radio control model)

      Traduction automatique du titre en japonais: "Dispositif de contrôle radio à fréquence unique pour plusieurs modèles". Demande de brevet déposée par un ou des particuliers?

      1978-10-04

      JPS5555939A FUEL STORAGE TANK FOR RADIOOCONTROLLED ENGINE

      Traduction automatique du titre en japonais: "Réservoir de stockage de carburant pour moteur de voiture télécommandée". Demande de brevet déposée par un ou des particuliers?

      1978-09-26

      US4248011A Self-operative steering for radio-controlled model car


      1978-09-08

      JPS5540805U (Radio control car)

      Boîte de vitesse pour motorisation électrique avec variation de la garde au sol. Traduction automatique du titre en japonais: "Voiture radiocommandée". Nom du déposant illisible. S'agit-il d'un document relatif au Buggy 1/10° électrique Big Thunder Off-Road Special référence 4900 de la marque japonaise Pro-Cision, qui était fabriqué par Nikko et également distribué sous sa propre marque sous le nom Big Thunder G3?

      1978-09-02

      JPS5537630U (Radio control device having a running sound reproducing device)

      Traduction automatique du titre en japonais: "Machine télécommandée avec dispositif de reproduction du son de marche". Demande de brevet déposée par un ou des particuliers?

      1978-08-07

      US4213270A Radio controlled wheel toy


      1978-07-05

      JPS558748A TRAVELLING MODEL TOY

      Traduction automatique du titre en japonais: "Jouet de modèle de course". Demande de brevet déposée par un ou des particuliers?

      1978-06-22

      US4183174A Toy stunt vehicle

      Déposant: Azrak-Hamway International Inc.

      1978-06-20

      JPS552301U  (A wing for stabilizing the body)

      Ailerons mobiles pilotés par un servo. Les figures montrent une Formule 1 Tyrell P34 à six roues, probablement le modèle Tamiya 58003 sorti le 5 novembre 1977. Traduction automatique du titre en japonais: "Dispositif de freinage pour jouet à moteur". Demande de brevet déposée par un ou des particuliers?

      1978-06-09

      JPS54182090U  無線操縦自動車おもちゃ

      Traduction automatique du titre en japonais: "Jouet de voiture radiocommandée".
      Voiture de piste électrique, probablement à l'échelle 1/12°, comportant deux moteurs sur l'essieu arrière.
      Demande de brevet déposée par un ou des particuliers?

      1978-06-09

      JPS54182077U (Brake adjusting device for an electric vehicle toy required for a speed race or a slalom race using a remote controller)

      Variateur mécanique pour châssis piste électrique, probablement au 1/12°. Traduction automatique du titre en japonais: "Dispositif de réglage de frein pour jouet de voiture électrique". Attribué à Tomy en raison du numéro du document.

      1978-06-09

      JPS53166998U 走行玩具における方向変換装置

      Traduction automatique du titre en japonais: "Dispositif de changement de direction pour jouet mobile". Demande de brevet déposée par un ou des particuliers?

      1978-05-11

      JPS54164685U 無線操縦玩具

      Traduction automatique du titre en japonais: "Jouet télécommandé".
      Déposant: King Co., Ltd. (キング株式会社).

      1978-05-02

      US4224762A Radio controlled toy vehicle


      1978-04-30

      JPS54162385U 二系統遠隔制御玩具

      Traduction automatique du titre en japonais: "Un jouet à commande à distance à deux systèmes". Demande de brevet déposée par un ou des particuliers?

      1978-04-25

      JPS54157684U リモートコントロール

      Traduction automatique du titre en japonais: "Télécommande".
      Déposant:Denki Onkyo Co., Ltd. (電気音響株式会社).

      1978-04-15

      JPS54154093U (Radio control servo)

      Variateur mécanique pour châssis électrique. Traduction automatique du titre en japonais: "Un servo pour radiocommande". Demande de brevet déposée par un ou des particuliers?

      1978-03-22

      JPS54140894U (Model vehicle suspension)

      Suspension pilotée pour voiture R/C similaire à JPS54126794U. Traduction automatique du titre en japonais: "Suspension pour modèle de voiture". Demande de brevet déposée par un ou des particuliers?

      1978-03-14

      JPS54121853A DIRECTION CHANGER FOR RADIOOCONTROLLED AUTOMOBILE TOY

      Traduction automatique du titre en japonais: "Dispositif de changement de direction pour jouet automobile radiocommandé". Demande de brevet déposée par un ou des particuliers?

      1978-03-03

      JPS54130598U 玩具用リモートコントロールスイッチ

      Traduction automatique du titre en japonais: "Interrupteur de télécommande pour jouets".
      Döpsant de la demande de brevet: Mitsubishi Pencil Co., Ltd. (三菱鉛筆株式会社).

      1978-03-01

      JPS54117249A BRAKE FOR TOY CAR

      Traduction automatique du titre en japonais: "Dispositif de frein pour voiture miniature". Demande de brevet déposée par un ou des particuliers?

      1978-02-25

      JPS54114026A 無線誘導の強弱制御方法

      Traduction automatique du titre en japonais: "Méthode de contrôle de l'intensité du guidage sans fil". Demande de brevet déposée par un ou des particuliers?

      1978-02-23

      JPS54126794U (Model vehicle suspension)

      Suspension pilotée pour voiture R/C similaire à JPS54140894U. Traduction automatique du titre en japonais: "Suspension pour modèle de voiture". Demande de brevet déposée par un ou des particuliers?

      1978-02-18

      JPS54124695U  (ラジオ・コントロール競走自動車のゼンリンセイドウソウチ)

      Freins avant à disques. Traduction automatique du titre en japonais: "Dispositif de freinage des roues avant pour une voiture de course radiocommandée". Demande de brevet déposée par un ou des particuliers?

      1977

      Date de priorité

      Numéro de publication et titre

      Commentaires

      1977-12-30

      JPS54105690U 無線操縦装置

      Traduction automatique du titre en japonais: "Dispositif de radiocommande pour petits véhicules". Demande de brevet déposée par un ou des particuliers?

      1977-12-22

      FR2453661A1 Precise adjustment for servo-controlled electromechanical equipment - utilises monostable and gating circuits to adjust signal duration


      1977-12-21

      JPS5498142U 模型用無線操縦機におけるアンテナ取付装置

      Traduction automatique du titre en japonais: "Dispositif de montage d'antenne pour modèles réduits radiocommandés". Demande de brevet déposée par un ou des particuliers?

      1977-11-14

      US4159126A Model racing car having an improved rear wheel suspension


      1977-10-27

      GB1565590A TOY VEHICLE


      1977-10-26

      JPS5468993U 走行玩具の操縦装置

      Traduction automatique du titre en japonais: "Dispositif de commande pour jouet mobile". Demande de brevet déposée par un ou des particuliers?

      1977-10-14

      GB2007513A Body for Model Racing Car

      Carrosserie pour piste 1/8° thermique

      1977-10-12

      JPS5462493U Control device for a running toy for remotely controlling traveling direction by radio frequency or sound wave

      Traduction automatique du titre en japonais: "Un dispositif de commande pour jouet roulant ". Demande de brevet déposée par un ou des particuliers?

      1977-10-04

      JPS5460588U エンジン模型における正、逆回転伝導装置

      Traduction automatique du titre en japonais: "Dispositif de transmission de rotation avant/arrière pour modèles de moteurs".
      Demande de brevet déposée par un ou des particuliers?

      1977-10-04

      JPS5460587U エ ンジン模型における正逆回転伝導装置

      Traduction automatique du titre en japonais: "Dispositif de transmission à rotation directe et inverse pour modèles réduits de moteurs".
      Demande de brevet déposée par un ou des particuliers?

      1977-09-09

      GB1587724A MODEL VEHICLES


      1977-07-22

      US4143307A MOTOR SPEED CONTROL CIRCUIT APPARATUS


      1977-07-18

      US4171592A Toy moving car operated by a wireless electric device


      1977-06-21

      DE2727783A1 Radio control appts. for models - has demountable function control board coupled to analogue switches and time division multiplexers


      1977-02-11

      FR2380048A1 Remote control unit for models - has microprocessors in transmitter and receiver to provide control impulses in form of binary code


      1977-02-01

      US4126312A Radio-controlled surface target having a pliable cover

      Déposant: Brunswick Corporation

      1976

      Date de priorité

      Numéro de publication et titre

      Commentaires

      1976-12-27

      JPS5391791U 玩具自動車用簡易ラジコン受信機の

      Traduction automatique du titre en japonais: "Circuit de relais de réception simple pour voiture jouet".
      Déposant: Kubota Meteorological Instruments Co., Ltd. ("久保田工業株式会社").

      1976-12-27

      JPS5391790U 玩具自動車用簡易ラジコン送信機のマルチバイブ レータ回路

      Traduction automatique du titre en japonais: "Circuit multivibrateur pour l'émetteur radio-commandé simplifié d'une voiture miniature (jouet)".
      Déposant: Kubota Meteorological Instruments Co., Ltd. ("久保田工業株式会社").

      1976-12-25

      JPS5391797U タイマー付ラジコン送信機

      Traduction automatique du titre en japonais: "Émetteur de radiocommande avec minuterie".
      Demande de brevet déposée par un ou des particuliers?

      1976-10-27

      GB1592097A REMOTELY CONTROLLED TOY VEHICLE

      Le déposant de cette demande est Theodore Walter "Tobin" Wolf ( - ), concepteur de jouets américain et dessinateur surtout connu pour avoir créé le dessin animé Cosmocats (Thundercats en version originale).

      1976-10-27

      GB1592098A STEERING MECHANISM FOR A TOY VEHICLE

      Le déposant de cette demande est Theodore Walter "Tobin" Wolf ( - ), concepteur de jouets américain et dessinateur surtout connu pour avoir créé le dessin animé Cosmocats (Thundercats en version originale).

      1976-10-27

      US4165581A Sound controlled vehicle

      Le déposant de cette demande est Theodore Walter "Tobin" Wolf ( - ), concepteur de jouets américain et dessinateur surtout connu pour avoir créé le dessin animé Cosmocats (Thundercats en version originale).

      1976-10-27

      CA1086946A VEHICLE CONTROLLING MEANS

      Le déposant de cette demande est Theodore Walter "Tobin" Wolf ( - ), concepteur de jouets américain et dessinateur surtout connu pour avoir créé le dessin animé Cosmocats (Thundercats en version originale).

      1976-10-27

      CA1092818A VEHICLE CONTROLLING MEANS

      Le déposant de cette demande est Theodore Walter "Tobin" Wolf ( - ), concepteur de jouets américain et dessinateur surtout connu pour avoir créé le dessin animé Cosmocats (Thundercats en version originale).

      1976-10-21

      JPS5358688U ラジコン用電源電流制御装置

      Traduction automatique du titre en japonais: "Dispositif de contrôle du courant d'alimentation pour radiocommande". Demande de brevet déposée par un ou des particuliers?

      1976-09-17

      JPS5344096U (current collector for a model car such as a car that is wirelessly operated)

      Traduction automatique du titre en japonais: "Dispositif de captation de courant pour voiture miniature". Demande de brevet déposée par un ou des particuliers?

      1976-09-15

      FR2364677A1 SYSTEME DE RADIO-COMMANDE PROPORTIONNELLE A DEUX VOIES ANALOGIQUES SIMULTANEES


      1976-07-07

      US4309645A DC Motor speed controller

      Variateur électronique pour moteur.

      1976-07-07

      US4153853A DC motor speed controller

      Variateur électronique pour moteur.

      1976-06-29

      JPS535092U 模型用無線操帶迷信様における

      Traduction automatique du titre en japonais: "Dispositif de retour automatique pour levier de commande dans un émetteur de radiocommande pour modèles réduits". Demande de brevet déposée par un ou des particuliers?

      1976-06-29

      JPS535091U 模型用無線操縱送信持における

      Traduction automatique du titre en japonais: "Dispositif de commande par levier de manipulation pour la télétransmission radio de modèles réduits". Demande de brevet déposée par un ou des particuliers?

      1976-06-08

      JPS52150144A MEMORY RECEIVER FOR RADIO CONTROL

      Demande de brevet déposée par un ou des particuliers?

      1976-05-26

      JPS52158688U ラジオコントロールの操縦角調整装置

      Traduction automatique du titre en japonais: "Dispositif de réglage de l'angle de commande pour radiocommande".
      Demande de brevet déposée par un ou des particuliers?

      1976-05-20

      JPS52141741A ELECTRIC WAVE CONTROL DEVICE

      Demande de brevet déposée par un ou des particuliers?

      1976-05-18

      JPS52153491U 無線操縦装置

      Traduction automatique du titre en japonais: "Appareil de radiocommande".
      Demande de brevet déposée par un ou des particuliers?

      1976-04-30

      JPS52146390U タイマー付無線操縦装置

      Traduction automatique du titre en japonais: "Dispositif de radiocommande avec minuterie".
      Demande de brevet déposée par un ou des particuliers?

      1976-03-08

      JPS52108227A METHOD OF CONNECTING COMPENSATION DETECTOR FOR DIGITAL PROPORTIONAL RADIO CONTROL DEVICE

      Traduction automatique du titre en japonais: "Méthode de connexion de la sortie du détecteur de compensation dans un dispositif de radiocommande numérique proportionnelle". Déposant: 関東航空計器株式会社 (Kantō Kōkū Keiki Kabushiki Kaisha, qui peut se traduire par "Société par actions d'instruments aéronautiques de Kantō")

      1976-01-19

      JPS5288429A SERVOMECHANISM FOR RADIO CONTROLLED DEVICE

      Demande de brevet déposée par un ou des particuliers?

      1975

      Date de priorité

      Numéro de publication et titre

      Commentaires

      1975-08-01

      JPS5222103U 模型無線操縦サーボモータ用電

      Traduction automatique du titre en japonais: "Batterie pour servomoteurs de radiocommande de modèles réduits". Demande de brevet déposée par un ou des particuliers?

      1975-05-22

      JPS51137537A A DIRECTION CHANGING DEVICE IN THE TRAVELLING TOY

      Traduction automatique du titre en japonais: "Dispositif de changement de direction pour jouet roulant". Demande de brevet déposée par un ou des particuliers?

      1975-03-29

      JPS51122579U 模型用燃料切れ警報装置

      Traduction automatique du titre en japonais: "Dispositif d'alarme de fin de carburant pour moteurs de modèles réduits radiocommandés". Demande de brevet déposée par un ou des particuliers?

      1975-03-24

      JPS51119006U (A fuel tank for a model car and a ship)

      Voiture R/C thermique. Traduction automatique du titre en japonais: "Réservoir de carburant pour voiture modèle". Demande de brevet déposée par un ou des particuliers?

      1975-02-25

      SE400183B MANOVERANORDNING FOR FJERREGLERING AV ETT ELLER FLERA MANOVEROBJEKT, EXV MODELLFORDON


      1975-02-21

      DE2507464A1 Simultaneous remote control of small model vehicles - with low loss of speed and steering while avoiding HF interference


      1975-01-28

      JPS5194795U 玩具用ステアリングロッド

      Sauve-servo intégré dans une biellette de direction.

      1974

      Date de priorité

      Numéro de publication et titre

      Commentaires

      1974-12-04

      JPS5173191U  無線操縦用走行車玩具

      Traduction automatique du titre en japonais: "Jouet de véhicule roulant télécommandé par radio". Demande de brevet déposée par un ou des particuliers?

      1974-11-20

      JPS5167098U  (radio-controlled traveling vehicle toy)

      Demande de brevet déposée par un ou des particuliers?

      1974-04-15

      JPS50132196U 無線遠隔制御玩具用警報器

      Traduction automatique du titre en japonais: "Alarme pour jouets télécommandés sans fil". Demande de brevet déposée par un ou des particuliers?

      1974-03-25

      JPS50123489U 模型用無線操縦装置

      Traduction automatique du titre en japonais: "Circuit d'amplification à fréquence intermédiaire dans un dispositif de commande radio pour modèles réduits". Demande de brevet déposée par un ou des particuliers?

      1974-03-20

      JPS50120586U 無線操縦用送信機の支持具

      Traduction automatique du titre en japonais: "Support pour émetteur de radiocommande". Demande de brevet déposée par un ou des particuliers?

      1974-01-06

      JPS5097586U 無線操縱用送信機の改良

      Traduction automatique du titre en japonais: "Amélioration d'un émetteur de radiocommande". Demande de brevet déposée par un ou des particuliers?

      1973

      Date de priorité

      Numéro de publication et titre

      Commentaires

      1973-10-13

      JPS5063473U 模型用無線操縦装置における電源電圧検知装置

      Traduction automatique du titre en japonais: "Dispositif de détection de tension d'alimentation pour un appareil de radiocommande de modèle".
      Demande de brevet déposée par un ou des particuliers?

      1973-10-05

      JPS5060184U ラジコン送信器の電源回路

      Traduction automatique du titre en japonais: "Circuit d'alimentation d'un émetteur de radiocommande".
      Demande de brevet déposée par un ou des particuliers?

      1973-06-28

      JPS5020839A (illisible)

      Procédé de commande et dispositif pour équipement de radiocommande de modèles réduits.
      Demande de brevet déposée par un ou des particuliers?

      1973-06-20

      JPS5019546A 遠隔操縦可能なラジコンビヒクルのオートパイロッ ト装置

      Traduction automatique du titre en japonais: "Dispositif de pilotage automatique pour véhicule radiocommandé pouvant être commandé à distance".
      Déposant: Yokohama Iwao Kogyo Co., Ltd (横山産業株式会社).

      1973-06-20

      US3832691A ELECTRIC MODEL MOTOR CONTROL


      1973-06-19

      JPS5015639A 擁有福画のミスデコードを防止する商品

      Traduction automatique du titre en japonais: "Circuit pour empêcher les codes erronés d'un récepteur pour télécommande sans fil". Le document concerne une configuration de circuit pour empêcher un décodage erronnée dû à l'atténuation du signal d'entrée dans le circuit dédiée de la partie réceptrice d'un dispositif de radiocommande proportionnel.
      Demande de brevet déposée par un ou des particuliers?

      1973-05-29

      JPS5011694U 模型用プロポーショナル発信材に

      Traduction automatique du titre en japonais: "Dispositif de commande pour émetteurs proportionnels de modélisme".
      Demande de brevet déposée par un ou des particuliers? (noms illisibles)

      1973-05-04

      JPS501096U ラジコン電波監視装置

      Traduction automatique du titre en japonais: "Dispositif de surveillance des ondes radio pour radiocommande".
      Le dispositif revendiqué affiche automatiquement l'état d'utilisation de chacune des 8 bandes de fréquences radio actuellement autorisées pour les modèles réduits radiocommandés, au moyen de 8 mécanismes d'affichage distincts.
      Demande de brevet déposée par un ou des particuliers?

      1973-04-27

      DE7316113U  Steuerung von Radpaaren von Spielzeugfahrzeugen

      Déposant: H. Köhler Elektrik GmbH

      1973-04-27

      DE7316114U  Steuerung von Radpaaren von Spielzeugfahrzeugen

      Déposant: H. Köhler Elektrik GmbH

      1973-04-26

      JPS49134292A  Radio control system for remotely controlling a radio control toy

      Demande de brevet déposée par un ou des particuliers?

      1972

      Date de priorité

      Numéro de publication et titre

      Commentaires

      1972-12-13

      US3826038A BICYCLE TOY WHICH CAN BE EITHER MANUALLY OPERATED OR REMOTE CONTROLLED BY MEANS OF A WIRE CONTROL OR BY RADIO CONTROL

      Vélo R/C

      1972-11-28

      DE2258232A1 VERFAHREN UND VORRICHTUNG ZUR FERNSTEUERUNG VON MODELLEN UND/ODER SPIELZEUGEN


      1972-10-13

      JPS4973600U Motorcycle toy

      Moto R/C thermique. Demande de brevet déposée par un ou des particuliers?

      1972-08-14

      JPS4937082A 記憶式ラジオコントロール装置

      Traduction automatique du titre en japonais: "Appareil de radiocommande à mémoire".
      Demande de brevet déposée par un ou des particuliers?

      1972-05-26

      JPS4919892U  無線操縦車

      Traduction automatique du titre en japonais: "Véhicule radiocommandé". Le texte décrit la structure du châssis en aluminium, le placement des composants (récepteur, moteur, servomoteurs) et le mécanisme de direction et d'accélération, ainsi que la transmission.
      Demande de brevet déposée par un ou des particuliers?

      1971

      Date de priorité

      Numéro de publication et titre

      Commentaires

      1971-03-04

      JPS4710688U  模型自動車等の疾走安定装置

      Traduction automatique du titre en japonais: "Dispositif de stabilité latérale pour voitures miniatures et autres véhicules similaires."
      Déposant: Isao Matsui (松井 巌).

      1970

      Date de priorité

      Numéro de publication et titre

      Commentaires

      1970-11-19

      DE2056848A1  Hydraulische Steuerung für ferngesteuerte Flugmodelle.


      1970-08-24

      FR2105937A5 Récepteur de signaux pour jouets.


      1970-08-24

      DE2142392A1  Signalempfänger für Spielzeuge


      1970-08-08

      JPS4735913Y1 ラジオコントロール自動車

      Voiture miniature radiocommandée.

      1969

      Date de priorité

      Numéro de publication et titre

      Commentaires

      1969-12-09

      FR2069933A1 Télécommande pour jouets.


      1969-10-28

      DE1954108A1 Ferngesteuertes Bewegungsspielzeug


      1969-09-17

      JPS4933594Y1 無線操縦送信機における操縦レバー装置

      Traduction automatique du titre: "Dispositif de levier de commande pour émetteur de radiocommande".
      Déposant: Oki Yuji (沖裕二).

      1969-04-11

      GB1275463A CONTROL SYSTEM ENCODER

      Déposant: Staveley Industries Limited.

      1969-03-11

      GB1307519A REMOTE CONTROL SYSTEMS

      Déposant: Modular Engineering Products Ltd.

      1969-02-24

      US3546814A ROBOT DRIVER OF A TWO-WHEEL MOTORCYCLE


      1969-02-07

      DE6904768U ELEKTROMAGNETISCHE LENKSTEUERUNG, INSBESONDERE FUER SPIELZEUGFAHRZEUGE


      1968

      Date de priorité

      Numéro de publication et titre

      Commentaires

      1968-11-16

      DE1809302A1 Modellspielzeugsystem mit elektrisch ferngesteuerten Fahrzeugmodellen


      1968-07-04

      FR1581021A  Procédé et un dispositif d'inhibition de parasites pour radio-commande de mobiles.

      Mobiles du type modèles réduits.

      1968-04-03

      US3553886A CLUTCH AND DRIVE ASSEMBLY FOR MODEL VEHICLES


      1967

      Date de priorité

      Numéro de publication et titre

      Commentaires

      1967-09-19
      JPS4614174Y1 

      1967-09-05

      FR1538108A Perfectionnements dans des mécanismes de commande à distance pour jouets


      1967-06-03

      GB1207809A REMOTE CONTROL MECHANISM FOR TOYS


      1967-05-27

      DE1588239A1 Verfahren und Schaltungsanordnung zur Mehrkanal-Proportionalsteuerung von Fernlenk-Modellen


      1967-05-02

      JPS443661Y1 無線操 縦荷下し玩具

      Traduction automatique du titre: "Un jouet de déchargement télécommandé".
      Camion-benne radiocommandé avec benne manoeuvrable.
      Demande de brevet déposée par un ou des particuliers? Mais déposé le même jour et juste après chronologiquement que JPS443660Y1 déposée par Gakken Co., Ltd. (株式会社学習研究社).

      1967-01-18

      US3456753A STEERING CONTROL FOR REMOTE CONTROL TOYS

      Déposant: Unipak Inc

      1966

      Date de priorité

      Numéro de publication et titre

      Commentaires

      1966-11-08

      JPS4511304Y1 走行 玩具の操向装置

      Traduction automatique du titre: "Mécanisme de direction pour jouets automobiles".
      Le document concerne un dispositif de direction pour jouets roulants, par exemple, un mécanisme de fonctionnement des roues directrices d'un jouet automobile radiocommandé, dans lequel la voiture de direction peut être tournée via une tige de liaison par un arbre fileté tourné par un moteur principal pour changer automatiquement de direction. 
      Déposant: Masayoshi Kishi (岸義弘).

      1966-08-23

      JPS4318611Y1 モー ターの逆転を利用した自動車玩具の駆動裝置

      Déposant: Kenji Hisayoshi (久芳謙二).
      Traduction automatique du titre: "Dispositif d'entraînement pour jouet automobile utilisant l'inversion du moteur".
      Dispositif d'entraînement pour un jouet automobile radiocommandé, dans lequel un petit moteur réversible est prévu pour chaque paire de mouvements (avant et arrière, virage à gauche et à droite), et ces petits moteurs peuvent être contrôlés par les ondes radio reçues via des lames vibrantes de résonance et des transistors de commutation.

      1966-08-08

      JPS4318614Y1 電波 操縱自動車玩具の前車輪方向変換装置

      Déposant: Kenji Hisayoshi (久芳謙二).
      Traduction automatique du titre: "Dispositif de changement de direction des roues avant pour jouet automobile radiocommandé".

      1966-07-09

      JPS4618327Y1 無線 遠隔制御玩具

      Traduction automatique du titre: "Jouet télécommandé sans fil".
      Déposant: Yoshikichi Iwatani (岩谷慶吉).

      1966-05-13

      JPS4325304Y1 ラジ オコントロール式操舵および走行制御装

      Déposant: Marusho Tsushin Seiki Co., Ltd." (丸正通信精器株式会社).
      Traduction automatique du titre: "Système de commande de direction et de conduite radiocommandé"

      1966-05-02

      US3299381A Magnetic actuator device with coupled rotors


      1966-03-31

      DE1538510A1 Fernsteuereinrichtung fuer drahtlose Fernsteuerung, insbesondere von Flug- oder Schiffsmodellen


      1966-03-23

      JPS4521809Y1 電動 機を使用した玩具の無線操縦装置

      Déposant: Masao Furusawa (古沢盛男):
      Traduction automatique du titre: "Dispositif de télécommande pour jouets utilisant des moteurs électriques".

      1965

      Date de priorité

      Numéro de publication et titre

      Commentaires

      1965-12-28

      JPS4710974Y1 玩具 用無線操縦装置

      Traduction automatique du titre: "Appareil de télécommande pour jouets". Le document divulgue l'utilisation d'un élément piézoélectrique pour générer un signal radio contrôlant le moteur et la direction du jouet.
      Déposant: Terai Kageaki (寺井影明).

      1965-05-21

      JPS4214629Y1 遠隔 操作装置

      Traduction automatique du titre: "Dispositif de commande à distance".
      Le document concerne un dispositif de commande à distance capable d'effectuer une commutation de circuits multiples par la réception sélective d'une onde porteuse modulée ou d'une onde porteuse non modulée, transmises de manière intermittente via un commutateur à relais.
      Déposant: Trio Co., Ltd. (トリオ株式会社 , aujourd'hui JVCKenwood)

      1965-05-03

      US3304526A Proportional magnetic actuator device


      1964

      Date de priorité

      Numéro de publication et titre

      Commentaires

      1964-12-29

      DE1478697A1 Fernlenkeinrichtung fuer Fahrspielzeuge

      Déposant: Schreyer & Co

      1964-08-20

      JPS4527861Y1 

      Déposant: Sadamichi Yagi (八木貞道).
      Traduction automatique du titre: "dispositif de radiocommande pour modèles réduits".

      1964-08-20

      JPS4527862Y1 無線遠隔制御玩具

      Déposant: Iwatani Keikichi (岩谷慶吉).
      Traduction automatique du titre: "Jouet télécommandé par radio".
      Le document concerne un jouet télécommandé par radio capable de contrôler le démarrage, l'arrêt, la direction et de générer des sons de commande.

      1964-04-02

      FR1409258A Dispositif électronique de commande progressive à distance de jouets électriques tels que trains, voitures ou analogue


      1964-02-22

      DE1478423A1 Spielfahrzeug


      1962

      Date de priorité

      Numéro de publication et titre

      Commentaires

      1962-02-09

      US3153181A Selectron radio control unit


      1959

      Date de priorité

      Numéro de publication et titre

      Commentaires

      1959-10-02

      FR1236943A Dispositif électromécanique destiné à la réalisation, à distance, de divers mouvements


      1959-06-08

      US3011114A Servo motor system and mechanism

      Proche des servos modernes, plus d'informations sur la page "Prototype Steed Servos" de Radio Control Hall of Fame, ou encore sur la page dédiée du site Vintage R/C Files. Déposant: Don Steeb Inc.

      1959-03-19

      DE1155043B Fernsteuerung fuer Flug- oder Schiffsmodelle mit synchron abgestimmtem Geber und Empfaenger


      1959-01-21

      US3002140A Signal controlled apparatus


      1958

      Date de priorité

      Numéro de publication et titre

      Commentaires

      1958-09-10

      FR74161E Télécommande à fréquence constante, par simple interruption de l'onde d'émission, d'un véhicule automobile-jouet ou pour d'autres applications


      1958-09-10

      BE571660A  Télécommande à fréquence constante, par brèves émissions ou interruptions d'émission, d'un véhicule automobile-jouet ou pour d'autres applications


      1958-07-21

      US3011107A  Servo-Motor System

      Proche des servos modernes, plus d'informations sur la page "Prototype Steed Servos" de Radio Control Hall of Fame, ou encore sur la page dédiée du site Vintage R/C Files. Déposant: Don Steeb Inc.

      1957

      Date de priorité

      Numéro de publication et titre

      Commentaires




      1956

      Date de priorité

      Numéro de publication et titre

      Commentaires

      1956-08-27

      FR1158832A Dispositif cybernétique pour la direction d'un mobile par influence de radiations extérieures


      1956-04-12

      GB848454A A new or improved arrangement for the remote control of toys


      1956-04-12

      FR1173522A Dispositif pour la télécommande des jouets


      1956-04-12

      US2974441A System for the remote control of toys


      1956-03-08

      GB804838A Improvements in or relating to remote control apparatus


      1956-02-22

      DE1074468B Einrichtung zur Fernsteuerung, insbesondere von Spielzeugen mit einer ein Stellglied aufweisenden Steuereinrichtung


      1956-02-22

      DE1033572B Einrichtung zur Fernbedienung, insbesondere von Kinderspielzeugen


      1956-02-22

      CH356065A Einrichtung zur Durchführung ferngesteuerter Schaltvorgänge an Mechanismen, insbesondere für Spielzwecke


      1955

      Date de priorité

      Numéro de publication et titre

      Commentaires

      1955-12-09

      FR1153616A Système de transmission particulièrement pour la télécommande

      Déposant, LMT - Le matériel Téléphonique -, inventeur Guy-Lepold Herondelle, un des pionniers français du modèle réduit télécommandée (voir l'article "Le premier planeur R.G. français et 10 ans de R.G. en France" sur le site "Des vieilles toiles aux planeurs modernes - ClaudeL")

      1955-10-24

      FR1133246A Dispositif de télécommande pour jouets électriques ou autres


      1955-06-09

      US3029371A Radio control apparatus for electric running toys


      1955-04-30

      GB791067A A radio control apparatus for electrically operated toys


      1955-02-25

      FR1122619A Servo-moteur à accumulation


      1954

      Date de priorité

      Numéro de publication et titre

      Commentaires

      1954-09-06

      DE1076004B Einrichtung zur Fernsteuerung von Schiffsmodellen oder anderen Schiffsschwimmkoerpern auf raeumlich begrenzten Wasserflaechen

      Déposant: O. & M. Hausser

      1952

      Date de priorité

      Numéro de publication et titre

      Commentaires

      1952-05-07

      GB746025A New or improved remote control toy


      1951

      Date de priorité

      Numéro de publication et titre

      Commentaires

      1951-12-20

      US2832426A Teledynamic system for the control of self-propelled vehicles


      1950

      Date de priorité

      Numéro de publication et titre

      Commentaires

      1950-10-16

      FR1025986A Perfectionnements aux systèmes de télécommande

      Par Guy-Lepold Herondelle, un des pionniers français du modèle réduit télécommandé (voir l'article "Le premier planeur R.G. français et 10 ans de R.G. en France" sur le site "Des vieilles toiles aux planeurs modernes - ClaudeL")

      1949

      Date de priorité

      Numéro de publication et titre

      Commentaires

      1949-09-08

      GB663091A Improvements in and relating to remote control devices

      Déposant: A. C. COSSOR LIMITED

      1944

      Date de priorité

      Numéro de publication et titre

      Commentaires

      1944-07-29

      FR906162A Installation de télécommande de modèles réduits de bateaux et d'avions


      Texte: Stingray.